Патент на использование стабилизатора изображения для повышения разрешения снимка принадлежит Apple

Никаких сведений о том, что Apple собирается использовать запатентованную разработку в своей продукции, пока нет

Как мы уже сообщали, вчера была представлена зеркальная камера Pentax K-3 II. Одним из новшеств Pentax K-3 II, является технология Pixel Shift Resolution, впервые реализованная в камерах Pentax. Суть этой технологии — в повышении разрешения снимков с помощью функции сдвига датчика изображения, обычно используемой для стабилизации изображения. Камера делает четыре снимка подряд, каждый раз сдвигая датчик на один пиксель, и объединяет их в одно изображение с большим разрешением. Этот же принцип применен в камере Olympus OM-D E-M5 Mark II, представленной в феврале. Представление о том, как камера E-M5 II разрешением 16 Мп сможет делать снимки разрешением 40 Мп, дает патент, полученный Olympus.

Известно, что для стабилизации изображения можно использовать сдвиг датчика или сдвиг одного из элементов оптической схемы объектива. Второй способ, в частности, выбрали компании Canon и Nikon.

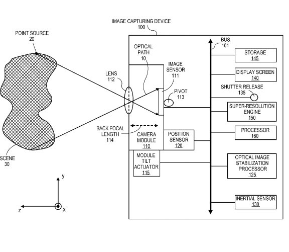
Как оказалось, в прошлом году компания Apple получила патент на использование оптического стабилизатора изображения для повышения разрешения снимка. Принцип повышения разрешения, описанный в заявке, все тот же — получение нескольких изображений со сдвигом и их последующее объединение. Ограничение на использование оптического стабилизатора изображения для повышения разрешения снимка не отличается от ограничения на использование стабилизатора изображения со сдвигом датчика изображения — объект съемки должен быть статичным, иначе повышается риск получения размытого изображения.

Никаких сведений о том, что Apple собирается использовать запатентованную разработку в своей продукции, пока нет

Никаких сведений о том, что Apple собирается использовать запатентованную разработку в своей продукции, пока нет.

Источник: USPTO

24 апреля 2015 в 13:40

Автор:

Все новости за сегодня

Календарь

апрель
Пн
Вт
Ср
Чт
Пт
Сб
Вс