Empower и TI представляеют дизайн Digital Media-планшета на DaVinci

Компания Empower представила вчера дизайн планшета, но не простого, а Digital Media, то есть, предназначенного для работы с мультимедийными данными. Дизайн устройства использует программное обеспечение Empower LEOs Digital Media Edition и медиапроцесссор TI DaVinci для обработки видео и аудио.

Дизайн планшета предназначен для производителей бытовой электроники, промышленных систем, например, RFID-считывателей, и автомобильной электроники. Во всех предполагаемых сферах применения, как отмечается в пресс-релизе, требуется высокая производительность кодеков при записи или воспроизведении аудио и видео, а также поддержка разнообразных высокоскоростных беспроводных технологий, из которых доступны WiFi, CDMA и GPRS, а также высокое быстродействие при обработке и анализе данных.

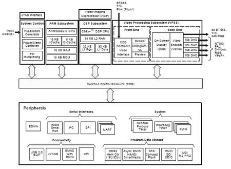
Используемый в дизайне процессор TI DaVinci TMS320DM6441 построен по двухъядерной архитектуре: одно ядро общего назначения ARM926EJ-S с DSP-ядром TMS320C64x+. Дополнительно, в кристалл процессора интегрирован сопроцессор обработки видео и изображений (VICP).

Empower и TI представляеют дизайн Digital Media-планшета на DaVinci

Что касается ПО LEOs Digital Media Edition for DM6441, то оно является модифицированной версией ядра Linux 2.6, в состав которой входит ПО для управления энергопотреблением, настраиваемый встраиваемый графический интерфейс пользователя (GUI), поддержка xDM-кодеков, интегрированная база данных SQLite и набор приложений и программ, использующих специфические возможности систем-на-чипе DM6441.

16 января 2007 в 16:45

Автор:

| Источник: TI

Все новости за сегодня

Календарь

январь
Пн
Вт
Ср
Чт
Пт
Сб
Вс