Apple получила патент на «невидимый» разъем

Секрет разъема — в крышке из самовосстанавливающегося эластомера

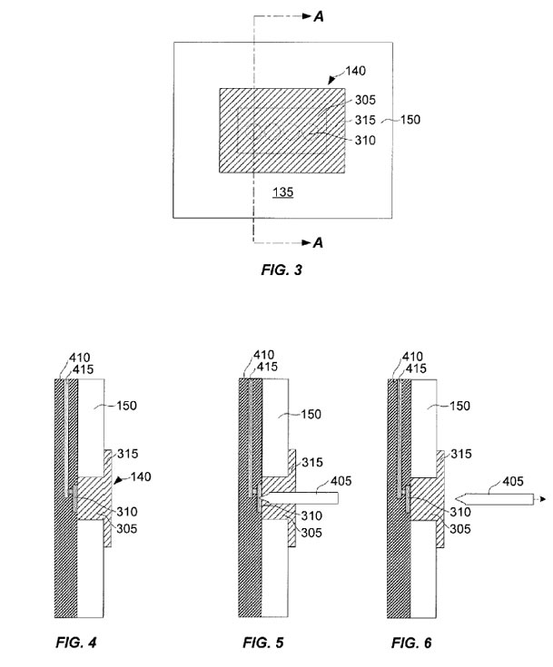
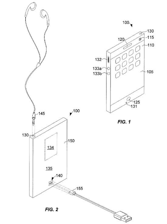
Вчера американское патентное бюро выдало компании Apple патент №9331422. Патент называется «Электронное устройство со скрытым разъемом». В нем описаны разъемы, прикрытые самовосстанавливающимся эластомером.

Секрет разъема — в крышке из самовосстанавливающегося эластомера

По замыслу изобретателей, эластомер скрывает разъем от пользователя и защищает разъем и внутренности устройства от воздействия внешней среды.

Секрет разъема — в крышке из самовосстанавливающегося эластомера

Штырьки внешнего разъема могут временно пронзать эластомер, чтобы обеспечить контакт с разъемом устройства. После того, как внешний разъем извлечен, форма и целостность покрытия восстанавливаются за счет свойств эластомера.

Источник: USPTO

Accent
Главное