Apple пытается запатентовать цветную 3D-печать

Заявка была подана в мае 2014 года

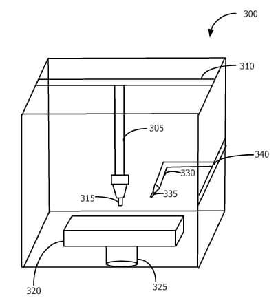
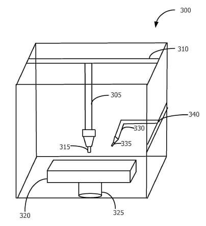
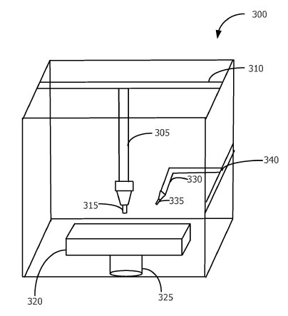
В базе данных американского патентного ведомства обнаружилась заявка на патент, поданная Apple в мае 2014 года. В ней описан «метод и устройство для трехмерной печати окрашенных объектов».

По словам изобретателей, трехмерные объекты можно печатать и раскрашивать одним и тем же устройством с использованием одной и то же цифровой трехмерной модели. Модель также может быть доработана, чтобы включить в нее процесс окраски 3D-принтером. В одном из вариантов объект может быть окрашен после изготовления, в другом — непосредственно в процессе изготовления.

Заявка была подана в мае 2014 года

Интересно, что одним из примеров применения изобретения названа печать игрушек в домашних условиях.

Пока неизвестно, планирует ли Apple использовать описанную в заявке технологию в собственной продукции, то есть заняться выпуском 3D-принтеров.

Источник: USPTO

Accent
Главное