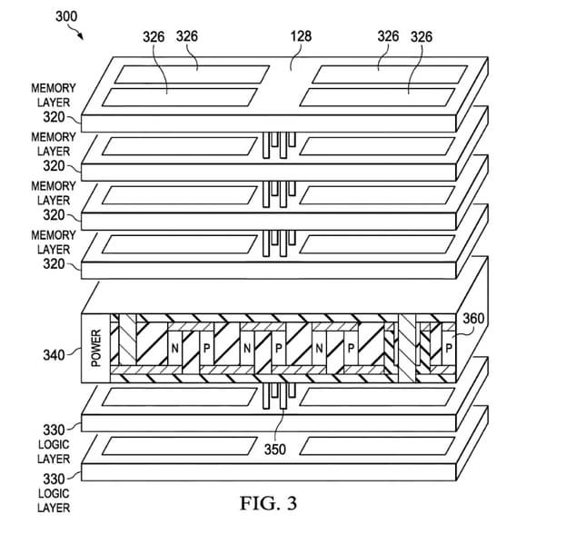
Компания AMD подала заявку на патент, в которой описано охлаждение микросхемы с объемной компоновкой с помощью термоэлектрических охладителей (TEC) — элементов Пельтье.
Их предлагается располагать между стеком кристаллов памяти и стеком логических кристаллов. Достоинством элемента Пельтье является простота интеграции с применением существующих техпроцессов.
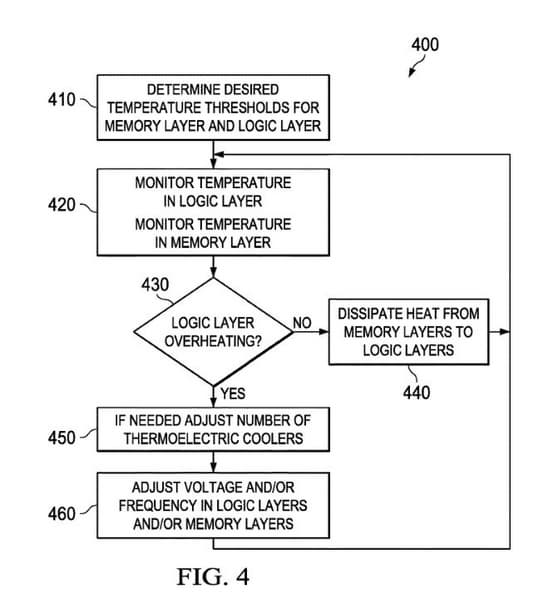
Указанное расположение TEC позволяет управлять передачей тепла от кристаллов памяти к логическим кристаллам. Казалось бы, зачем нагревать логические кристаллы? Обычно повышение температуры логической схемы приводит к снижению производительности и повышению энергопотребления. Однако существует явление «температурной инверсии». Спроектированные с его учетом цепи иначе реагируют на повышение температуры — при нагреве они демонстрируют увеличение скорости переключения транзисторов и повышение частоты.

Управляющей схеме предписано следить за температурой логического стека и стека кристаллов памяти. Пока логический стек не перегревается, тепло к нему отводится от стека памяти. Если логический стек перегревается, схема меняет число активных элементов Пельтье, напряжения и частоты логического стека и стека памяти, чтобы поддержать оптимальный режим работы.
