В настоящее время цифровые системы видеонаблюдения занимают, пожалуй, если не большую, то очень значимую часть на рынке систем видеонаблюдения. Этому в немалой степени способствуют такие факторы, как быстрота установки и простота настройки видеозаписывающего устройства, а также то, что в последнее время на отечественном рынке начинает появляться все большее количество локализованного ПО для таких систем. И если пару лет назад пользователь должен был уметь читать на «вражеском языке», то теперь такой необходимости нет. Да и цены за истекшие 2 – 3 года сильно изменились в лучшую (для потребителя) сторону, сделав цифровые системы намного более доступными. Сегодня мы рассмотрим три платы видеозахвата. Они представляют собой полный спектр решений для организации системы видеонаблюдения – начиная с наиболее простой платы и заканчивая профессиональным вариантом.
Тестирование и обзор данных плат проводились на ПК со следующими основными параметрами:
Процессор | Sempron 2800 Socket A |
Чипсет | VIA KT400A |
Память | DDR1 PC3200 1,25Gb |
Видеокарта | Palit GF 7600 GS 256 Mb Sonic |
Тестовый стенд - далеко не топовой конфигурации. Но, как мы увидим далее, это не создаст абсолютно никаких сложностей. Скорее наоборот, – на базе подобной конфигурации, в силу ее стоимости в настоящий момент (а далее она будет только снижаться), собирать системы видеонаблюдения - достаточно выгодное занятие.
Начнем с обзора упаковки. Все три варианта плат упакованы в абсолютно одинаковые коробки. Разница лишь в крестиках на обратной стороне коробки, которые указывают на конкретную модель.
Создается впечатление, что коробка надорвана нерадивыми курьерами, и оттуда выглядывает край платы. Отделаться от этого чувства сложно, но можно – надо лишь взять коробку в руки, и убедиться, что с упаковкой все в порядке. Браво, в данном случае маркетологи свой хлеб отработали – изделие в руках у клиента :-) Впрочем, вы все сами видите на фото упаковки.
Теперь давайте рассмотрим технические характеристики плат. Сделаем мы это с помощью сводной таблицы:
Параметр | Плата S-4050 | Плата S-44100 | Плата S-80200 |
Аппаратные характеристики | |||
Чип видеозахвата | Techwell TW6802 | SAA7134HL | |
Количество видеоканалов | 4 | 4 | 8 |
Количество аудиоканалов | - | 4 | - |
Интерфейс видеоканала | BNC | ||
Поддерживаемые разрешения | 640х480, 352х288, 320х240, 240х180 | ||
Скорость видеозахвата, суммарно по всем каналам, к/с | 50 к/c в режиме PAL | 100 к/c в режиме PAL | 200 к/c в режиме PAL |
Возможность расширения | До 6 плат в один ПК | До 4 плат в один ПК | До 4 плат в один ПК |
Совместная работа | Только с S-4050 | S-44100, S-80200 | |
Программные характеристики | |||
Сжатие видеосигнала | MPEG4/H.264, программное | ||
Сетевой протокол | Поддерживаются TCP/UDP | ||
Операционная система | Windows 2000/Windows XP | ||
Разграничение прав доступа | Есть, до 5 пользователей с различными правами | ||
Режимы записи | Постоянная запись, запись по движению, запись по расписанию | ||
Детектор движения | Есть, настраиваемый | ||
Управляемые видеокамеры | Поддержка PTZ, 35 предустановок | Поддержка PTZ, 35 предустановок. Поддержка стандартов PELCO D, PELCO P, RM110 и других. | |
Мультиэкран | 4, 9, 16, 25, 36 | ||
Оповещение | Звуковое при потере видео сигнала, звуковое при срабатывании датчика движения. Отправка сообщения по E-mail. | ||
Система подавления шума в видеосигнале | Нет | Есть | |
Цена, руб. | 2000 | 4300 | 5000 |
Вот такое резюме по платам. Остается добавить информацию по рекомендуемым характеристикам применяемых для установки плат компьютеров:
Наименование | 4 канала | 8 каналов | 16 каналов | 24 канала |
Процессор | CELERON 1.7G | CELERON 2.4-2.8G | CELERON D 2.8G | |
Чипсет | Intel 845 | Intel 865PE | ||
Память | 256 Mb | 512 Mb | ||
Видеокарта | Intel 82845GV (Интегрировано на мат. плате) | ATI / GEFORCE 32Mb или более | ATI / GEFORCE 64Mb или более | |
Производитель настойчиво рекомендует решения от Intel, но, забегая вперед, скажем, что решения от AMD и VIA показали себя ничуть не хуже. Максимальная загрузка центрального процессора компьютера при четырех подключенных видеокамерах (с максимальным качеством записи) на всех трех платах не превышала 30%.
Ну вот, настало время познакомиться с героями нашего обзора чуть подробнее. Начнем с «бюджетного» варианта.
Плата S-4050
Как мы уже говорили, это младший представитель в представленной на тестирование линейке. Но, несмотря на это, плата может захватывать до 12,5 к/с на канал, что является достаточно неплохим результатом. А при условии подключения всего двух видеокамер скорость видеозахвата возрастает до 25 к/с на канал, то есть запись происходит в режиме real time (для непосвященных – под словом real time мы понимаем захват видеопотока в реальном времени, т.е. при просмотре видеоархива частота кадров будет не менее 25 к/с). Подобная скорость захвата нужна не всегда, но когда она понадобится – S-4050 обеспечит ее. И все это благодаря установленному на ней чипу Techwell TW6802:
Этот чип был разработан специально для создания плат, предназначенных для систем видеонаблюдения. Не станем утомлять читателя подробными техническими характеристиками, приведем лишь ссылку на описание чипа и покажем его структурную схему:
Да, это не старичок Conexant 878A, а вполне современное специализированное решение!
После установки драйверов в диспетчере устройств наблюдается следующее:

Один чип – одно новое устройство. Никаких проблем с установкой.
Плата S-44100
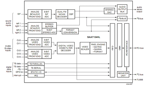
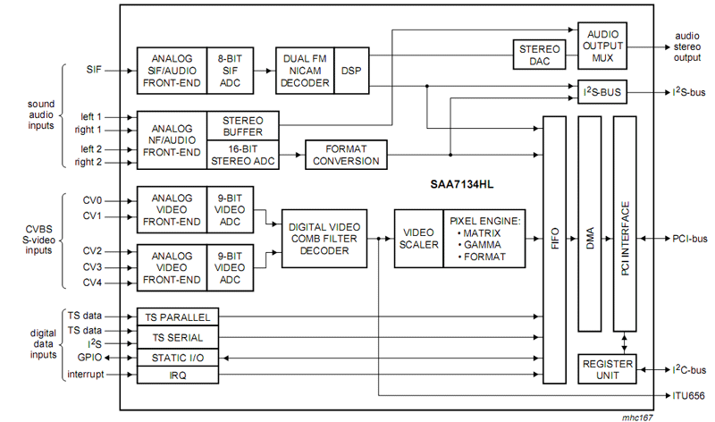
Далее идет плата, которую можно отнести (в пределах представленной на тестирование линейки) к среднему классу. S-44100, обладая четырьмя видеоканалами, обеспечивает суммарную скорость захвата 100 к/с на плату, что является самым настоящим реалтаймом. Плюс к этому одновременный захват аудиопотоков в количестве 4-х штук (то есть в полном соответствии с количеством видеоканалов). Вот вам и «средний» класс – пишем видео со звуком в режиме реального времени! Только успевайте жесткие диски докупать (рассматривайте это как обратную сторону медали :-)). И все это обеспечивают четыре установленных на плате чипа NXP SAA7134HL:
Для тех, кто не в курсе – полупроводниковое подразделение фирмы NXP «в девичестве» принадлежало такому гиганту электронной промышленности, как Philips. Вместе со всем инженерно – техническим потенциалом.
Как и в предыдущем примере, приведем лишь ссылку на документацию по чипу и его структурную схему:
Установка драйверов тривиальна, и приводит к вполне ожидаемому результату – появлению четырех новых устройств в диспетчере:

И последняя плата - S-80200.
Плата S-80200
Можно сказать, что эта плата – это старший брат S-44100. Тот же самый чип, те же характеристики. Но вот количество каналов удвоилось, а захват аудиопотока убрали вовсе. Видимо, сказалось удвоение количества чипов видеозахвата, и, как следствие, повысилась сложность разводки платы:
А также, в связи с увеличением количества чипов и ростом температуры, на каждый чип помещен теплоотводящий радиатор. И мера это отнюдь не лишняя – действительно имеет место повышение температуры в ближайшем окружении платы. Честно говоря, дополнительный кулер для такой системы также не будет лишним – надежность работы компьютера только повысится. И, кстати сказать, так как S-80200 построена на том же чипе, что и S-44100, возможна одновременная работа этих плат в одном компьютере. Этакая гибридная система – и захват аудиопотока есть на четырех каналах, и самих каналов видео 20 штук.
В отличие от предыдущей платы, чипов здесь восемь, и после установки драйверов диспетчер устройств имеет следующий вид:

Рассмотрев в подробностях аппаратную составляющую системы видеонаблюдения, перейдем к программной. А именно – рассмотрим идущее в комплекте программное обеспечение.
Процесс установки программы достаточно примечателен, во-первых – возможностью одним махом установить все устройства (не отвечая при этом на кучу вопросов - дескать, несертифицированный драйвер – вы уверены?), а во-вторых – в процессе инсталляции вам предложат протестировать свою видеокарту на совместимость, а заодно и выбрать наиболее подходящий вариант:

Установив программу, мы попадаем в главное окно. Для того, чтобы наиболее доступно показать назначения всех клавиш в этом окне, воспользуемся иллюстрацией из файла помощи (который выдается на экран сразу же после установки программы):
Все крайне просто, и комментировать тут нечего.
Заглянем в меню настроек. Первая вкладка называется «Видео», и здесь мы можем определить параметры видеозахвата (такие как разрешение кадра, качество, применяемый кодек), а также установить максимально возможную скорость видеозахвата (в к/с) на каждый канал:
Далее идет вкладка «Запланированная запись». Здесь мы определяем параметры записи видеосигналов в соответствии с нашими задачами:
Выбираем канал видео, канал звука, режим записи, день недели и время – и все, режим записи определен!
Следующая вкладка – «Пользователи»:
Всего возможно определить в системе пять пользователей, каждому можно назначить свои собственные разрешения.
Далее – вкладка «Сеть»:
Собственно, комментировать тут нечего. Удаленное управление возможно производить как через фирменное ПО «Обзор» (находящееся на этом же диске), так и через браузер Internet Explorer.
На пятой вкладке (под названием «Работает» :-) - еще один признак глобализации, вы не находите?) возможно настроить расписание перезагрузок и отключений системы:
Ни для кого не секрет, что регулярные перезагрузки могут свести к минимуму количество аварийных ситуаций в ОС Windows XP. Одним словом, полезная настройка.
Далее идет вкладка «Сохранение»:
Здесь и так все понятно.
Переместившись на следующую вкладку, мы попадем в меню «Управление», где можно задать режимы работы PTZ-видеокамер (т.е. таких видеокамер, которые оснащены поворотными механизмами, а также моторизованным объективом):
Можно сказать, что ПО «Дозор» готово к работе с вполне «взрослыми» и серьезными видеокамерами.
Кликаем е ще правее – и мы попадаем на вкладку «Настройка цвета». И действительно – здесь мы настраиваем цветовые параметры по каждому каналу:
И на последней вкладке мы попадаем в меню «Датчик движения». Собственно, это и есть программный детектор движения:
Среди прочих параметров этой вкладки отметим возможность указать в кадре зону детекции движения (к сожалению, в настоящий момент – только одну) и определить ее чувствительность. Здесь же определяются параметры оповещения о тревоге с помощью электронной почты (например, надо ли прикреплять к письму моментальный снимок).
С настройками системы разобрались, самое время заглянуть в видеоархив:
Сразу бросается в глаза наиудобнейшая линия (назовем ее, по аналогии с видеоредакторами, таймлайн). Берем мышку, «крыжим» слева нужный нам канал и мышкой же перетягиваем ползунок к нужному нам моменту на таймлайне. Удобно? Бесспорно! Также можно установить режим мультиэкрана при просмотре нескольких каналов видео, можно выбрать нужную дату с помощью календаря, можно сохранить выбранный фрагмент видеоархива в отдельный файл (пару слов об этом – сохранение возможно как в собственный, проприентарный формат, который открывается с помощью имеющегося на диске с ПО плеера; так и в формат .exe, для открытия которого нужен только лишь ПК с ОС семейства Windows), можно распечатать моментальный снимок из архива. В общем, здесь есть все, что может понадобиться при работе с видеоархивом.
И в завершение обзора напишем пару слов о коммуникационных возможностях программы, точнее, изобразим их:

Достаточно гибкая сетевая инфраструктура получается. Работа возможна и из локальной сети, и через Интернет – нужно лишь правильно настроить сетевые шлюзы.
Итого
В плюсах у нас платы с очень неплохими техническими характеристиками, отличное и легкоусвояемое легкоосваиваемое программное обеспечение, снабженное понятным, человеческо – русским интерфейсом, неплохие сетевые возможности и достаточно демократичная цена. А в минусы можно указать только то, что детектор движения ну уж слишком элементарен.
Автор статьи благодарит ООО «КомШоп» и лично Куликова Никиту Сергеевича
за помощь в подготовке данного обзора
и предоставленное на тестирование оборудование


















