Конференция Блоги Игры Маркет Про бизнес
МерчIXBT
Новости Статьи Видеокарты и мониторы Мобильные устройства Ноутбуки и планшеты Платформа ПК Комфортный дом
Новости
Сегодня Лента
Процессоры Системные платы, память, чипсеты Цифровое фото Ноутбуки и планшеты Мониторы Техника Apple Мобильные телефоны Настольные ПК Видеокарты Корпуса, системы питания и охлаж... Носители информации Прочие новости Принтеры и периферия Сети и серверы Авто и транспорт Телевизоры и проекторы Аудио и звук Программное обеспечение Комфортный дом Цифровое видео Законы и новости рынка Криптовалюты Наука и космос Авиация Электротранспорт Носимая электроника Консоли и игры Информационная безопасность Финансы Искусственный интеллект
Статьи
Свежие
Видеокарты и мониторы iT-среда Мобильные устройства Ноутбуки и планшеты Носители информации Платформа ПК Приложения и утилиты Принтеры и периферия Профессиональное аудио Проекторы и ТВ Сети и серверы Hi-Fi и мультимедиа Цифровое видео Цифровое фото Корпуса, БП и ИБП Автомобили Комфортный дом
Наши проекты
Конференция
Блоги Игры Маркет ПроБизнес
  1. Теги
  2. Apple

Apple

Все Новости Статьи
30 мар 2013 13:56 По предварительным данным, смартфон Apple iPhone 5S будет представлен 20 июня Продажи Apple iPhone 5S начнутся в июле
29 мар 2013 19:14 В Apple придумали всю поверхность смартфона превратить в дисплей Технологии дисплеев дошли до точки, когда смартфон можно «обернуть» дисплеем
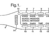
29 мар 2013 14:37 Apple обновила патент на компьютер в виде ручки для письма Будет ли когда-нибудь выпущен компьютер Apple iPen?
29 мар 2013 09:00 Apple сокращает закупки компонентов для планшетов iPad mini Во втором квартале будет отгружено 10-12 млн. планшетов iPad mini
28 мар 2013 20:50 Планшеты обойдут по продажам настольные ПК уже в этом году, ноутбуки — в будущем Аналитики IDC прочат планшетам светлое будущее
27 мар 2013 15:15 В обложки Logitech Keyboard Folio и Logitech Keyboard Folio mini для планшетов Apple встроены клавиатуры Обложки Logitech Keyboard Folio и Logitech Keyboard Folio mini защищают планшеты Apple iPad и iPad mini
26 мар 2013 21:47 Samsung Display скоро перестанет поставлять дисплеи для мобильных устройств Apple Уже сейчас LG Display поставляет Apple намного больше панелей, чем это делает Samsung Display
25 мар 2013 17:04 Впервые с 2003 года доход Apple за квартал уменьшился по сравнению с показателем того же квартала предыдущего года В абсолютном выражении Apple получит 41-43 млрд. долларов
25 мар 2013 10:00 Apple хочет поскорее получить от Samsung 600 млн. долларов, не дожидаясь дальнейшего рассмотрения дела Спор между Apple и Samsung еще не окончен
22 мар 2013 16:42 Евросоюз подозревает Apple в продаже смартфонов iPhone с нарушением закона Контракты Apple с операторами ограничивают конкуренцию
22 мар 2013 13:15 Видеодайджест новостей недели — первый выпуск! Цена и себестоимость смартфонов Samsung Galaxy S4, новые модели Sony Xperia, автономность Apple iPhone 5, планшет Wacom
22 мар 2013 11:40 Компания Apple похвасталась тем, что три четверти потребляемой ею электроэнергии получено из возобновляемых источников Вычислительные центры Apple работают только на возобновляемых источниках электроэнергии
21 мар 2013 16:32 По суммарному количеству продаж Apple iPhone уверенно превосходит Samsung Galaxy Лишь однажды за квартал было продано больше Samsung Galaxy, чем Apple iPhone
21 мар 2013 13:54 За квартал поставки Apple iPhone 5 просели в полтора-два раза В мае начнутся поставки компонентов для смартфонов Apple iPhone следующего поколения
21 мар 2013 09:00 Gridcase обещает решить проблемы с автономностью iPhone 5 Gridcase собирается выпустить первый в мире чехол для смартфона, оснащенный встроенным генератором
21 мар 2013 08:00 Intertrust обвиняет Apple в нарушении 15 патентов Совладельцами Intertrust являются Sony и Philips
19 мар 2013 16:30 Руководитель мобильного подразделения Samsung подтвердил, что компания разрабатывает «наручные часы будущего» Южнокорейский производитель настроен на конкуренцию с Apple
19 мар 2013 13:33 Графический ускоритель Sapphire HD 7950 Mac Edition представлен официально 3D-карта Sapphire Radeon HD 7950 Mac Edition окрашена в белый цвет
19 мар 2013 13:17 LG и Samsung снова нарастили поставки жидкокристаллических панелей для планшетов после резкого спада в январе Apple скорректировала уровень складских запасов и снова начала закупать панели для iPad
18 мар 2013 10:00 THX обвиняет Apple в нарушении патента По мнению THX, запатентованные технологии нарушены в Apple iPad, iPhone и iMac
15 мар 2013 22:18 В каталоге Apple появились ПК iMac со встроенными креплениями VESA ПК Apple iMac со встроенными креплениями VESA стоят на $40 дороже обычных
15 мар 2013 08:00 ITC откладывает решение о запрете продаж iPad и iPhone в США Решение отложено — плохой знак для Apple, поскольку ITC запросила оценку возможных последствий запрета
14 мар 2013 16:40 До конца месяца TSMC подготовит процессор Apple A7 к передаче в производство по нормам 20 нм Чтобы выпускать один и тот же процессор, TSMC, Samsung и Intel должны предложить Apple техпроцессы одного поколения
13 мар 2013 11:46 По прогнозу IDC, в этом году планшетов с ОС Android будет впервые продано больше, чем планшетов с iOS IDC увеличивает прогноз продаж планшетов в 2013 году со 172,4 млн. штук до 190,9 млн. штук
12 мар 2013 14:09 По оценке институциональных инвесторов, Intel сможет получить 10% заказов на процессоры Apple A7 Intel сможет получить 10% заказов на процессоры Apple A7, полагают институциональные инвесторы
10 мар 2013 10:00 В смартфонах Samsung и Apple следующего поколения появится поддержка беспроводной зарядки Компании Samsung приписывают выбор в пользу технологии Qi
09 мар 2013 19:45 Intel и Apple вели переговоры о контрактном производстве процессоров, но не смогли договориться Intel пытается перехватить у Samsung контракт с Apple
07 мар 2013 19:15 Слух: Apple iPhone 5S выйдет в августе В апреле Apple может выпустить планшеты iPad и iPad mini нового поколения
04 мар 2013 07:00 За выманивание денег у детей Apple придется заплатить до 100 млн. долларов Apple пошла на попятную в деле о покупках, неосознанно совершаемых детьми
03 мар 2013 08:00 Суд Токио принял сторону Apple в патентном споре этой компании с Samsung В Samsung разочарованы решением суда Токио

Показано с 13081 по 13110 из 16216 результатов

1 2 ... 434 435 436 437 438 439 440 ... 540 541
Видео
Обзор смартфона Huawei nova 15 Pro
Обзор ноутбука-трансформера MSI Prestige 16 Flip AI+ C3MTG-028RU
Обзор смартфона Huawei Mate 80 Pro
Copyright © 1997—2026
О сайте
О новом дизайне
Адрес для связи info@ixbt.com
Вернуть старый дизайн
Проекты и партнеры
iXBT.com Конференция Блоги Игры Видео Маркет
Полезные ссылки
Наши авторы Статистика
Связь с администрацией
Реклама и пиар
Правила комментирования
Политика использования куки
Политика защиты и обработки персональных данных