Samsung выдали патент на встраиваемый в однокристальную систему блок обнаружения вредоносного кода

В патенте №8990931 описан механизм для защиты мобильных терминалов от вредоносных программ

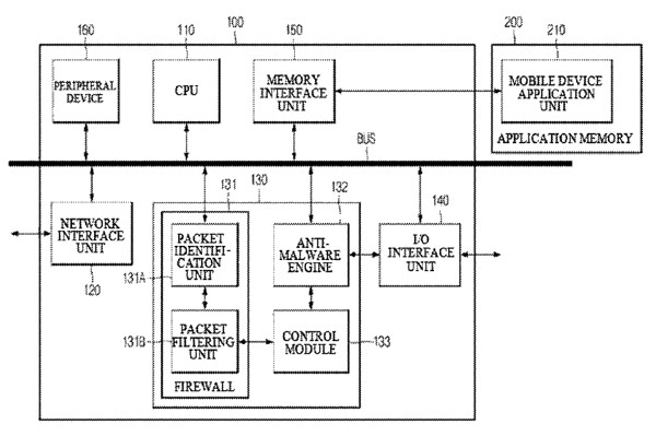
Американское патентное ведомство на прошлой неделе выдало компании Samsung патент №8990931.

В патенте описан механизм, предназначенный для защиты мобильных терминалов от вредоносных программ. Этот механизм рассчитан на интеграцию в однокристальную систему.

По замыслу изобретателей, в однокристальную систему входит центральный процессор, сконфигурированный на общее управление соответствующими блоками для обнаружения вредоносного кода; брандмауэр, работающий во встроенной памяти SoC и сконфигурированный для классификации пакетов, поступающих от блока интерфейса с внешней сетью, и выполняющий фильтрацию, разрешая и запрещая определенные действия над классифицированными пакетами в соответствии с предварительными настройками, и выводящий результат фильтрации в память приложения или «движка», противодействующего вредоносным программам; собственно «движка», противодействующего вредоносным программам, обнаруживающего вредоносный код путем сравнения с образцами из соответствующей базы данных на мобильном устройстве; и управляющего модуля, работающего в памяти SoC и согласующего работу брандмауэрa, «движка», противодействующего вредоносным программам, и CPU.

В патенте №8990931 описан механизм для защиты мобильных терминалов от вредоносных программ

Заявка на патент была подана 26 марта 2010 года.

Как известно, как раз в 2010 году компания Samsung Electronics представила двухъядерный процессор Orion, предназначенный для мобильных устройств. Позже он стал известен под торговым наименованием Exynos.

Источник: USPTO

30 марта 2015 в 13:38

Автор:

Все новости за сегодня

Календарь

март
Пн
Вт
Ср
Чт
Пт
Сб
Вс