Конференция
Блоги
Игры
Маркет
Про бизнес
Еще
Другие проекты
Конференция
Старейший и крупнейший в рунете форум о технике
Блоги
Впечатления о технике из первых рук на Блоги
Игры
Компьютерные игры и не только на Игры
Маркет
Скидки, купоны, тесты магазинов
ПроБизнес
Новости и обзоры решений для малого и среднего бизнеса
Мерч
IXBT
Войти
Новости
Статьи
Видеокарты и мониторы
Мобильные устройства
Ноутбуки и планшеты
Платформа ПК
Комфортный дом
Все темы
$refs.search?.focus())" aria-label="Очистить поиск" >
Статьи
Видеокарты и мониторы
iT-среда
Мобильные устройства
Ноутбуки и планшеты
Носители информации
Платформа ПК
Приложения и утилиты
Принтеры и периферия
Профессиональное аудио
Проекторы и ТВ
Сети и серверы
Hi-Fi и мультимедиа
Цифровое видео
Цифровое фото
Корпуса, БП и ИБП
Автомобили
Комфортный дом
Новости
Процессоры
Системные платы, память, чипсеты
Цифровое фото
Ноутбуки и планшеты
Мониторы
Техника Apple
Мобильные телефоны
Настольные ПК
Видеокарты
Корпуса, системы питания и охлаждения
Носители информации
Прочие новости
Принтеры и периферия
Сети и серверы
Авто и транспорт
Телевизоры и проекторы
Аудио и звук
Программное обеспечение
Комфортный дом
Цифровое видео
Законы и новости рынка
Криптовалюты
Наука и космос
Авиация
Электротранспорт
Носимая электроника
Консоли и игры
Информационная безопасность
Финансы
Искусственный интеллект
Новости
Сегодня
Лента
Процессоры
Системные платы, память, чипсеты
Цифровое фото
Ноутбуки и планшеты
Мониторы
Техника Apple
Мобильные телефоны
Настольные ПК
Видеокарты
Корпуса, системы питания и охлаж...
Носители информации
Прочие новости
Принтеры и периферия
Сети и серверы
Авто и транспорт
Телевизоры и проекторы
Аудио и звук
Программное обеспечение
Комфортный дом
Цифровое видео
Законы и новости рынка
Криптовалюты
Наука и космос
Авиация
Электротранспорт
Носимая электроника
Консоли и игры
Информационная безопасность
Финансы
Искусственный интеллект
Статьи
Свежие
Видеокарты и мониторы
iT-среда
Мобильные устройства
Ноутбуки и планшеты
Носители информации
Платформа ПК
Приложения и утилиты
Принтеры и периферия
Профессиональное аудио
Проекторы и ТВ
Сети и серверы
Hi-Fi и мультимедиа
Цифровое видео
Цифровое фото
Корпуса, БП и ИБП
Автомобили
Комфортный дом
Наши проекты
Конференция
Остальные проекты
Блоги
Игры
Маркет
ПроБизнес
Новости
30 марта 2015
Новости за дату
Список
Все категории
Загрузка...
Карты памяти Transcend Industrial SDHC и microSDHC рассчитаны на работу при температуре от -40ºC до 85ºC.
В картах памяти Transcend для промышленного применения используется флэш-память типа MLC
Носители информации
0
30 мар 2015 22:09
Onyx готовит электронную книгу с дисплеем E Ink Mobius диагональю 13,3 дюйма
Onyx выпустит очень большую электронную книгу
Мобильные телефоны
0
30 мар 2015 21:13
Samyang планирует выпуск объектива для макросъемки с фокусным расстоянием 100 мм
Новый объектив Samyang будет предназначен для беззеркальных камер
Цифровое фото
0
30 мар 2015 20:30
DVDO Matrix44 — коммутатор видео 4 х 4 с поддержкой разрешения Ultra HD
DVDO Matrix44 позиционируется как решение для дома и офиса
Прочие новости
0
30 мар 2015 20:18
По прогнозу IDC, в этом году будет выпущено 45,7 млн носимых электронных устройств
К 2019 году поставки носимой электроники увеличатся до 126,1 млн
0
30 мар 2015 19:09
Потребляемый ток 32-разрядного микроконтроллера TI MSP432 в режиме ожидания составляет 850 нА
Микроконтроллеры TI MSP432 построены на 32-разрядном ядре ARM Cortex-M4F
Процессоры
0
30 мар 2015 17:17
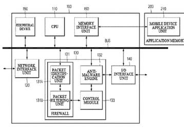
Samsung выдали патент на встраиваемый в однокристальную систему блок обнаружения вредоносного кода
В патенте №8990931 описан механизм для защиты мобильных терминалов от вредоносных программ
Процессоры
0
30 мар 2015 13:38
Icy Dock Black Vortex MB174U3S-4SB — внешнее шасси для четырех накопителей типоразмера 3,5 дюйма
К компьютеру Icy Dock Black Vortex MB174U3S-4SB подключается по USB 3.0 или eSATA
Корпуса, системы питания и охлаждения
0
30 мар 2015 11:33
Обновленный список смартфонов, совместимых с Windows 10, включает 36 позиций
Компания Microsoft обновила список смартфонов, совместимых с Windows 10
Мобильные телефоны
0
30 мар 2015 10:42
Qualcomm придерживает выпуск однокристальной системы Snapdragon 815, чтобы не навредить продажам Snapdragon 810
Как утверждается, разработка Snapdragon 815 уже завершена
Процессоры
0
30 мар 2015 10:14
Завершившийся квартал снова принёс BlackBerry прибыль
BlackBerry отчиталась за 2015 финансовый год
0
30 мар 2015 09:30
Источник утверждает, что планшет HTC получит SoC Allwinner H8, но его характеристики не соотносятся с её возможностями
Планшет HTC получит дисплей высокого разрешения, но не самую производительную платформу
Мобильные телефоны
0
30 мар 2015 09:00
Опубликованы планы AMD по выпуску APU и GPU на период до 2020 года
В 2017 году AMD планирует представить APU для суперкомпьютерных вычислений
Видеокарты
Процессоры
0
30 мар 2015 08:58
Представлен смартфон HTC One E9+ с дисплеем 2K, платформой MediaTek MT6795M и металлической рамкой
Смартфон HTC One E9+ получил 20-мегапиксельную камеру
Мобильные телефоны
0
30 мар 2015 08:50
Игровой моноблок MSI Gaming 24GE 4K обзавёлся дисплеем разрешением 3840 х 2160 точек
MSI представила моноблоки AG270 3K, Gaming 24GE IPS и Gaming 24GE 4K
Настольные ПК
0
30 мар 2015 08:10
LED-проектор LG Minibeam TV располагает TV-тюнером и весит 600 г
LG анонсировала проекторы Minibeam Pro (PF1500) и Minibeam TV (PW800)
Прочие новости
0
30 мар 2015 07:40
HTC в очередной раз меняет главного дизайнера
У HTC снова новый главный дизайнер
0
30 мар 2015 07:30
Появились некоторые подробности о сопроцессорах Intel Knights Landing
Сопроцессоры Intel Knights Landing должны появиться на рынке во втором полугодии 2015 года
Процессоры
0
30 мар 2015 07:27
В ответ на действия Google, компания Microsoft выведет на рынок мобильные ПК стоимостью $150
Microsoft запускает инициативу по выпуску самых доступных ноутбуков
Ноутбуки и планшеты
0
30 мар 2015 07:10
Раньше
2015-03-30
Позже
Видео