Конференция Блоги Игры Маркет Про бизнес
МерчIXBT
Новости Статьи Видеокарты и мониторы Мобильные устройства Ноутбуки и планшеты Платформа ПК Комфортный дом
Новости
Сегодня Лента
Процессоры Системные платы, память, чипсеты Цифровое фото Ноутбуки и планшеты Мониторы Техника Apple Мобильные телефоны Настольные ПК Видеокарты Корпуса, системы питания и охлаж... Носители информации Прочие новости Принтеры и периферия Сети и серверы Авто и транспорт Телевизоры и проекторы Аудио и звук Программное обеспечение Комфортный дом Цифровое видео Законы и новости рынка Криптовалюты Наука и космос Авиация Электротранспорт Носимая электроника Консоли и игры Информационная безопасность Финансы Искусственный интеллект
Статьи
Свежие
Видеокарты и мониторы iT-среда Мобильные устройства Ноутбуки и планшеты Носители информации Платформа ПК Приложения и утилиты Принтеры и периферия Профессиональное аудио Проекторы и ТВ Сети и серверы Hi-Fi и мультимедиа Цифровое видео Цифровое фото Корпуса, БП и ИБП Автомобили Комфортный дом
Наши проекты
Конференция
Блоги Игры Маркет ПроБизнес
  1. Теги
  2. Apple

Apple

Все Новости Статьи
05 авг 2014 08:30 Появились снимки задней части корпуса планшета Apple iPad Air 2 На крышке планшета Apple iPad Air 2 виден вырез в форме логотипа Apple
02 авг 2014 21:56 Дата анонса смартфона Samsung Galaxy Note 4 выбрана с таким расчетом, чтобы перебить выход Apple iPhone 6 Компания Samsung анонсирует смартфон Galaxy Note 4 незадолго до открытия выставки IFA в Берлине
02 авг 2014 11:18 Apple проговорилась о скором выпуске обновленной модели компьютера iMac с 27-дюймовым дисплеем Компьютер Apple iMac с экраном размером 27 дюймов не обновлялся с прошлого года
31 июл 2014 11:35 Apple уволит примерно 200 сотрудников Beats после поглощения Покупка Beats — крупнейшее приобретение в истории Apple
31 июл 2014 11:17 Доля Apple iPad на мировом рынке планшетов в этом полугодии может стать меньше 25% Среди причин, по которым Apple iPad теряет рынок, источники называют высокие цены и редкий выход обновленных моделей
30 июл 2014 22:05 Крупнейшие китайские производители смартфонов опережают рынок по росту поставок, Apple отстает от него За год рынок смартфонов вырос на 23,1%, а поставки смартфонов Apple iPhone — всего на 12,4%
30 июл 2014 20:42 Apple получила патент на электронную книгу с двумя экранами Активным в электронной книге Apple является дисплей, повернутый в данный момент к пользователю
30 июл 2014 13:16 В ближайшее время Apple может анонсировать новые мини-ПК Mac mini Новые Mac mini могут появиться уже в ближайшее время
30 июл 2014 12:47 Apple iPhone 6 в золоте, платине и бриллиантах уже можно увидеть и предварительно заказать на сайте компании Brikk Цена Lux iPhone 6, в зависимости от варианта оформления, лежит в пределах от $4495 до $8795
30 июл 2014 08:00 Появилось фото основной платы смартфона Apple iPhone 6; смартфон будет поддерживать NFC Плата смартфона Apple iPhone 6 несколько больше платы смартфона Apple iPhone 5s
29 июл 2014 17:30 Apple iPhone 6 с экраном размером 5,5 дюйма выйдет в декабре, а экран меньшей модели не будет иметь сапфировой защиты Выход младшей модели Apple iPhone 6 ожидается в сентябре
29 июл 2014 17:25 Apple обновляет ноутбуки MacBook Pro с дисплеем Retina На компьютерах Apple MacBook Pro с дисплеем Retina установлена операционная система OS X Mavericks
29 июл 2014 08:10 Apple приобретает приложение для прослушивания подкастов Swell Приложение Swell перейдёт к Apple за 30 млн долларов
28 июл 2014 17:23 Обновлённые ноутбуки MacBook Pro получат процессоры Intel Core i7-4770HQ, i7-4870HQ и i7-4980HQ и 16 ГБ ОЗУ Стали известны характеристики новых моделей MacBook Pro
28 июл 2014 16:36 Европейские регуляторы одобрили сделку Apple и Beats Сделка Apple и Beats близится к завершению
25 июл 2014 14:17 Apple признала, что дисплеи AMOLED лучше жидкокристаллических Изобретатели Apple придумали, как улучшить дисплеи AMOLED
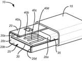
25 июл 2014 12:12 Apple изобрела симметричный разъем USB и пытается запатентовать его Заявка на разъем USB с двухсторонней симметрией была подана 21 января 2014 года
25 июл 2014 11:18 Опубликованы концептуальные изображения монитора Apple 4K Cinema Display Характерной чертой дисплея Apple 4K Cinema Display могут стать узкие боковые рамки
25 июл 2014 10:20 Отчет IDC: рынок планшетов во втором квартале вырос на 11%, доля Apple уменьшилась, но осталась крупнейшей На втором месте находится компания Samsung, за год нарастившая поставки
24 июл 2014 23:27 Размер первой партии смартфонов Apple iPhone 6 оценивается в 120 млн штук Стало известно, почему задерживается выпуск Apple iPhone 6 с большим экраном
24 июл 2014 15:26 Планшеты Apple iPad Air 3 получат дисплеи производства Samsung Display и LG Display с пониженным энергопотреблением В дисплеях планшетов Apple iPad Air 3 будут использоваться оксидные тонкопленочные транзисторы
24 июл 2014 14:49 Apple станет крупнейшим заказчиком TSMC В будущем году TSMC могут достаться заказы на выпуск процессоров Apple A9
24 июл 2014 12:31 Следующий планшет iPad Mini будет называться iPad Mini Air и будет на 30% тоньше своего предшественника Планшет Apple iPad с дисплеем размером 12,9 дюйма будет представлен в будущем году
24 июл 2014 09:00 PQI Gmobi iStick — первая флэшка, одновременно оснащенная интерфейсами Lightning и USB Интерфейс Lightning позволяет подключать PQI Gmobi iStick напрямую к мобильным устройствам Apple
23 июл 2014 22:44 Поставки планшетов Apple iPad за квартал уменьшились на 10%, в среднем по отрасли поставки планшетов уменьшились на 4,5% По подсчетам Digitimes Research, в минувшем квартале было отгружено более 55 миллионов планшетов
23 июл 2014 15:05 За прошедший квартал Apple продала 35,2 млн смартфонов, 13,3 млн планшетов и 4,4 млн ПК Продажи смартфонов принесли Apple 53% выручки в прошлом квартале
23 июл 2014 12:00 Apple запатентовала умные часы и назвала их iTime В патенте на iTime описано электронное устройство, которое носится на запястье
23 июл 2014 08:45 Начата сборка обновленных мобильных компьютеров MacBook Air с экранами размером 11 и 13 дюймов Ноутбук MacBook Pro с 12-дюймовым экраном Retina будет построен на 14-нанометровом процессоре Broadwell
23 июл 2014 07:15 Apple отчиталась за третий квартал 2014 финансового года Доход Apple за квартал составил 37,4 млрд долларов
23 июл 2014 07:00 Коби Брайант подтвердил факт встречи с дизайнером Apple Джонатаном Айвом, правда не сказал ни слова об iWatch Коби Брайант действительно встречался с Джонатаном Айвом

Показано с 12601 по 12630 из 16220 результатов

1 2 ... 418 419 420 421 422 423 424 ... 540 541
Видео
Обзор смартфона Huawei nova 15 Pro
Обзор ноутбука-трансформера MSI Prestige 16 Flip AI+ C3MTG-028RU
Обзор смартфона Huawei Mate 80 Pro
Copyright © 1997—2026
О сайте
О новом дизайне
Адрес для связи info@ixbt.com
Вернуть старый дизайн
Проекты и партнеры
iXBT.com Конференция Блоги Игры Видео Маркет
Полезные ссылки
Наши авторы Статистика
Связь с администрацией
Реклама и пиар
Правила комментирования
Политика использования куки
Политика защиты и обработки персональных данных