Microsoft запатентовала устройство, экран которого может менять площадь

В патенте упоминается «живая петля», которая практически незаметно соединяет экраны в любом из трех положений

Прочие новости 4 Обновлено: 02 янв 2024

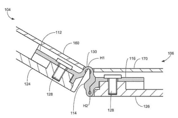
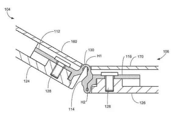
В конце прошлого года Всемирная организация интеллектуальной собственности (World Intellectual Property Organization, WIPO) выдала компании Microsft патент, в котором описывается устройство со сгибающимся дисплеем.

Microsoft запатентовала устройство, экран которого может менять площадь

Теперь же Microsoft зарегистрировала еще один патент, в котором описывается похожее устройство, но с другой шарнирной частью. Источники предполагают, что речь может идти о новом устройстве линейки Surface, возможно, о Surface Phone.

Microsoft запатентовала устройство, экран которого может менять площадь

В патенте упоминается «живая петля», которая практически незаметно соединяет экраны в любом из трех положений. Как несложно догадаться, устройство может быть полностью сложенным экранами внутрь, развернуто на 360 градусов, когда с обоих сторон находятся экраны, и находиться в состоянии планшета, когда пользователю доступна максимальная рабочая область.

Jin Источники: USPTO
Главное