Apple получила патент на электронное устройство с гибким дисплеем в форме свитка

Устройство состоит из двух частей, соединенных дисплеем

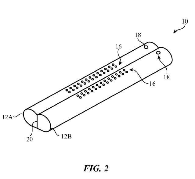
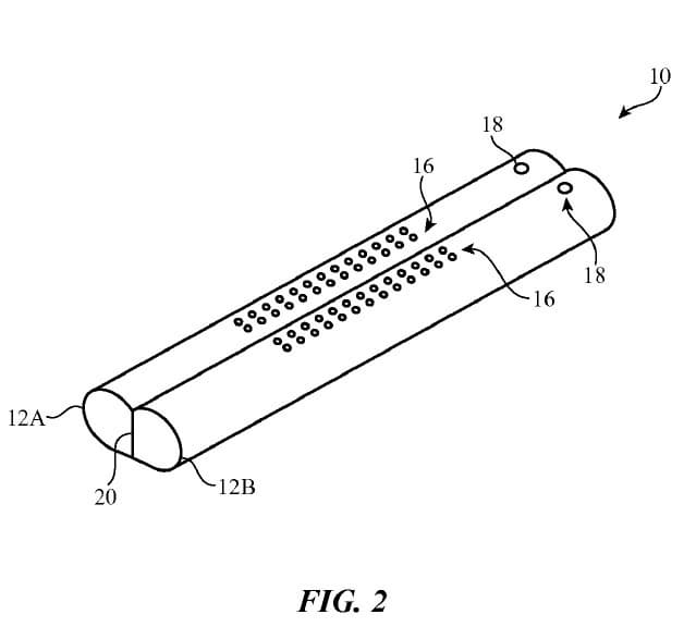
Американское патентное ведомство на прошлой неделе выдало компании Apple патент №9625948. В этом патенте описаны «электронные устройства с выдвижными дисплеями». Принцип конструкции выдвижных дисплеев показан на иллюстрациях.

Устройство состоит из двух частей, соединенных дисплеем

Устройство состоит из двух частей, соединенных дисплеем. Дисплей гибкий и сворачивается в трубочку, помещаясь при этом в корпусе устройства. Разворачиваясь, он становится плоским. Другими словами, конструкция напоминает старинные свитки.

Устройство состоит из двух частей, соединенных дисплеем

Для надежности параллельно с дисплеем может разворачиваться поддерживающий его жесткий элемент. Громкоговорители, микрофоны, камеры и другие компоненты предполагается размещать в боковых частях. Когда устройство сложено, боковые части могут скрепляться между собой с помощью магнитов.

Источник: USPTO

24 апреля 2017 в 10:20

Автор:

Все новости за сегодня

Календарь

апрель
Пн
Вт
Ср
Чт
Пт
Сб
Вс