Конференция
Блоги
Игры
Маркет
Про бизнес
Еще
Другие проекты
Конференция
Старейший и крупнейший в рунете форум о технике
Блоги
Впечатления о технике из первых рук на Блоги
Игры
Компьютерные игры и не только на Игры
Маркет
Скидки, купоны, тесты магазинов
ПроБизнес
Новости и обзоры решений для малого и среднего бизнеса
Мерч
IXBT
Войти
Новости
Статьи
Видеокарты и мониторы
Мобильные устройства
Ноутбуки и планшеты
Платформа ПК
Комфортный дом
Все темы
$refs.search?.focus())" aria-label="Очистить поиск" >
Статьи
Видеокарты и мониторы
iT-среда
Мобильные устройства
Ноутбуки и планшеты
Носители информации
Платформа ПК
Приложения и утилиты
Принтеры и периферия
Профессиональное аудио
Проекторы и ТВ
Сети и серверы
Hi-Fi и мультимедиа
Цифровое видео
Цифровое фото
Корпуса, БП и ИБП
Автомобили
Комфортный дом
Новости
Процессоры
Системные платы, память, чипсеты
Цифровое фото
Ноутбуки и планшеты
Мониторы
Техника Apple
Мобильные телефоны
Настольные ПК
Видеокарты
Корпуса, системы питания и охлаждения
Носители информации
Прочие новости
Принтеры и периферия
Сети и серверы
Авто и транспорт
Телевизоры и проекторы
Аудио и звук
Программное обеспечение
Комфортный дом
Цифровое видео
Законы и новости рынка
Криптовалюты
Наука и космос
Авиация
Электротранспорт
Носимая электроника
Консоли и игры
Информационная безопасность
Финансы
Искусственный интеллект
Новости
Сегодня
Лента
Процессоры
Системные платы, память, чипсеты
Цифровое фото
Ноутбуки и планшеты
Мониторы
Техника Apple
Мобильные телефоны
Настольные ПК
Видеокарты
Корпуса, системы питания и охлаж...
Носители информации
Прочие новости
Принтеры и периферия
Сети и серверы
Авто и транспорт
Телевизоры и проекторы
Аудио и звук
Программное обеспечение
Комфортный дом
Цифровое видео
Законы и новости рынка
Криптовалюты
Наука и космос
Авиация
Электротранспорт
Носимая электроника
Консоли и игры
Информационная безопасность
Финансы
Искусственный интеллект
Статьи
Свежие
Видеокарты и мониторы
iT-среда
Мобильные устройства
Ноутбуки и планшеты
Носители информации
Платформа ПК
Приложения и утилиты
Принтеры и периферия
Профессиональное аудио
Проекторы и ТВ
Сети и серверы
Hi-Fi и мультимедиа
Цифровое видео
Цифровое фото
Корпуса, БП и ИБП
Автомобили
Комфортный дом
Наши проекты
Конференция
Остальные проекты
Блоги
Игры
Маркет
ПроБизнес
Новости
24 апреля 2017
Новости за дату
Список
Все категории
Загрузка...
Смартфон Leagoo T-MIX похож на Xiaomi Mi Mix только внешне
Leagoo T-MIX построен на SoC MediaTek MT6750T
Мобильные телефоны
1
24 апр 2017 21:25
Два глаза хорошо, а четыре – лучше: смартфон Oukitel U22 оснащен четырьмя камерами
Oukitel U22 может стать самым дешевым телефоном с четырьмя камерами
Мобильные телефоны
0
24 апр 2017 20:30
Vkworld S3 — 50-долларовый смартфон с гостевым режимом, дисплеем AOC и ОС Android 7.0
В продажу устройство поступит в ближайшие дни
Прочие новости
0
24 апр 2017 19:42
Bluboo S1 – еще один клон смартфона Xiaomi Mi Mix
Bluboo S1 поступит в продажу к началу лета
Мобильные телефоны
0
24 апр 2017 19:40
Ускоритель AMD Radeon Pro Duo получил два GPU Polaris 10
Продажи Radeon Pro Duo должны начаться в конце мая по цене $999
Видеокарты
0
24 апр 2017 18:58
Представлен смартфон Gionee M6S Plus с 6 ГБ оперативной памяти
В Китае продажи Gionee M6S Plus начнутся 2 мая
Мобильные телефоны
0
24 апр 2017 18:41
В Гонконге показали смартфон Doogee MIX, похожий на Xiaomi Mi Mix
Doogee MIX построен на SoC MediaTek Helio P25 и оснащен экраном AMOLED
Мобильные телефоны
0
24 апр 2017 18:35
Nikon обвиняет ASML и Carl Zeiss в нарушении патентов
По мнению Nikon, нарушены патенты, касающиеся использования литографической технологии в производстве полупроводниковой продукции
Прочие новости
0
24 апр 2017 18:22
Поставки системных плат в этом году сократятся более чем на 10%
В прошлом году было отгружено менее 50 млн плат
Системные платы, память, чипсеты
0
24 апр 2017 17:55
Toshiba хочет отделить четыре направления деятельности
Разделение призвано уберечь прибыльные направления деятельности от негативного эффекта банкротства Westinghouse Electric
Прочие новости
0
24 апр 2017 15:29
3D-карты Galax GTX 1080 Ti EXOC White и KFA2 GTX 1080 Ti EXOC White разогнаны производителем и окрашены в белый цвет
Различие между Galax GTX 1080 Ti EXOC White и KFA2 GTX 1080 Ti EXOC White заключается только в оформлении упаковки
Видеокарты
0
24 апр 2017 14:59
Шасси Akitio Node Lite с портом Thunderbolt 3 предназначено для внешнего подключения карт с интерфейсом PCIe
Продажи Akitio Node Lite начнутся в конце квартала по цене $270
Корпуса, системы питания и охлаждения
0
24 апр 2017 14:42
Samsung и Qualcomm работают над SoC Snapdragon 845
Напомним, однокристальную систему Snapdragon 835 производит Samsung с использованием 10-нанометрового технологического процесса
Прочие новости
0
24 апр 2017 12:07
Подсветка для унитаза IllumiBowl Anti-Germ борется с микробами
На данной стадии IllumiBowl Anti-Germ предлагается всего за 10 долларов
Прочие новости
0
24 апр 2017 10:57
Yeston оснащает 3D-карту Radeon RX 580 GameAce охладителем с тремя вентиляторами
Память 3D-карты Yeston Radeon RX 580 GameAce работает на эффективной частоте 8 ГГц
Видеокарты
0
24 апр 2017 10:51
Apple извинилась за ошибочную рассылку писем с известием об отмене подписки iCloud
Подобные «»письма счастья» получили, в основном, подписчики, которые имеют доступ к 50 ГБ облачного пространства
0
24 апр 2017 10:42
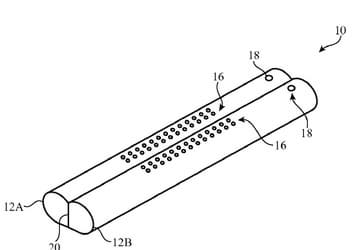
Apple получила патент на электронное устройство с гибким дисплеем в форме свитка
Устройство состоит из двух частей, соединенных дисплеем
Техника Apple
Мобильные телефоны
0
24 апр 2017 10:20
Фотогалерея дня: смартфон iPhone 8
Также был опубликован более точный чертеж устройства.</P>
Прочие новости
0
24 апр 2017 10:07
Verizon закупит у Corning оптоволокна более чем на миллиард долларов
В Verizon расширение оптоволоконной инфраструктуры считают критически важным для развертывания беспроводной сети 5G
Сети и серверы
0
24 апр 2017 10:00
Смартфон Samsung Galaxy Note8 может быть представлен на IFA 2017
Глава IFA добавил, что в этом году у Samsung будет самый большой стенд за все время проведения мероприятия
Прочие новости
0
24 апр 2017 09:51
Ожидается, что смартфон Samsung Galaxy S8+ опередит по продажам младшую версию
Все больше пользователей предпочитают устройства с большими дисплеями для игр и видеоконтента
Прочие новости
0
24 апр 2017 09:36
Vivo X9S Plus может стать первым смартфоном с SoC Snapdragon 660 и двумя сдвоенными камерами
Snapdragon 660 производится с использованием 14-нанометрового технологического процесса
Прочие новости
0
24 апр 2017 09:30
Владельцем Ixia стала компания Keysight Technologies
Сделка оценивается в 1,6 млрд долларов
Прочие новости
0
24 апр 2017 09:30
Начались продажи игровых мини-ПК Asus VivoPC X, поддерживающих гарнитуры виртуальной реальности
Конфигурация Asus VivoPC X включает четырехъядерный процессор Intel Core i5 7300HQ
Настольные ПК
0
24 апр 2017 09:00
Первая партия Xiaomi Mi 6 будет включать всего 80 тыс. смартфонов
Только в магазине JD.com зарегистрировано более 800 тыс. предварительных заказов
Прочие новости
0
24 апр 2017 08:39
Линейку сопроцессоров Intel Xeon Phi x200 пополнили модели Xeon Phi 7220A, Xeon Phi 7220P и Xeon Phi 7240P
Intel расширяет ассортимент сопроцессоров Knights Landing
Процессоры
0
24 апр 2017 08:30
Sennheiser и Samsung выпустят умную гарнитуру Ambeo для устройств с ОС Android
Sennheiser также не скрывает свою заинтересованность в игровой индустрии, намереваясь представлять новые продукты для геймеров
Прочие новости
0
24 апр 2017 08:24
LG Uplus представила умное биде
В ближайшее время компания представит до 50 устройств Интернета вещей для ванной комнаты и дома в целом
Прочие новости
0
24 апр 2017 08:07
В тесте Geekbench замечен смартфон Samsung Galaxy J3 (2017) на SoC Exynos 7570
Аппарат с каталожным номером SM-J330F оснащен пятидюймовым дисплеем
Мобильные телефоны
0
24 апр 2017 08:00
Раньше
2017-04-24
Позже
Видео