Apple пытается запатентовать дисплей OLED со встроенным сенсорным экраном

Сенсорный экран, встроенный в панель OLED, можно использовать как дактилоскоп

Техника Apple Прочие новости 0 Обновлено: 02 янв 2024

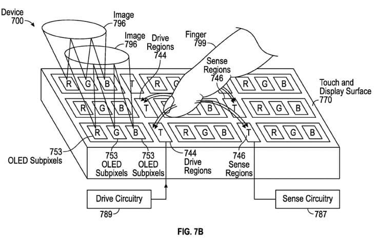
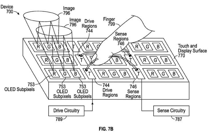
В базе данных американского патентного ведомства появилась интересная заявка на патент. Заявка №20150331508, поданная в мае прошлого года, называется «Дисплей кремний-OLED со встроенным сенсорным экраном».

Сенсорный экран, встроенный в панель OLED, можно использовать как дактилоскоп

В заявке описан дисплей, основой которого служит кремниевая подложка. На ней сформирован массив транзисторов, один или несколько слоев металлизации, одно или несколько межслойных соединений, слои OLED, цветные фильтры, сенсорные датчики и дополнительные компоненты и цепи. В числе прочих дополнительных компонентов и цепей упомянуты средства защиты от электростатического разряда, коммутаторы, фотодиоды и детектор, работающий в ближней инфракрасной области. По замыслу изобретателей, эти и другие компоненты позволят использовать дисплей кремний-OLED со встроенным сенсорным экраном для формирования изображения объектов в ближнем поле, сенсорного ввода с оптическим наведением и дактилоскопического ввода. В некоторых случаях несколько сенсорных датчиков и пикселей экрана можно объединять в группы, которые коммутируются для динамического изменения разрешения сенсорного экрана и/или дисплея.

Источник: USPTO

Accent
Главное