Конференция
Блоги
Игры
Маркет
Про бизнес
Еще
Другие проекты
Конференция
Старейший и крупнейший в рунете форум о технике
Блоги
Впечатления о технике из первых рук на Блоги
Игры
Компьютерные игры и не только на Игры
Маркет
Скидки, купоны, тесты магазинов
ПроБизнес
Новости и обзоры решений для малого и среднего бизнеса
Мерч
IXBT
Войти
Новости
Статьи
Видеокарты и мониторы
Мобильные устройства
Ноутбуки и планшеты
Платформа ПК
Комфортный дом
Все темы
$refs.search?.focus())" aria-label="Очистить поиск" >
Статьи
Видеокарты и мониторы
iT-среда
Мобильные устройства
Ноутбуки и планшеты
Носители информации
Платформа ПК
Приложения и утилиты
Принтеры и периферия
Профессиональное аудио
Проекторы и ТВ
Сети и серверы
Hi-Fi и мультимедиа
Цифровое видео
Цифровое фото
Корпуса, БП и ИБП
Автомобили
Комфортный дом
Новости
Процессоры
Системные платы, память, чипсеты
Цифровое фото
Ноутбуки и планшеты
Мониторы
Техника Apple
Мобильные телефоны
Настольные ПК
Видеокарты
Корпуса, системы питания и охлаждения
Носители информации
Прочие новости
Принтеры и периферия
Сети и серверы
Авто и транспорт
Телевизоры и проекторы
Аудио и звук
Программное обеспечение
Комфортный дом
Цифровое видео
Законы и новости рынка
Криптовалюты
Наука и космос
Авиация
Электротранспорт
Носимая электроника
Консоли и игры
Информационная безопасность
Финансы
Искусственный интеллект
Новости
Сегодня
Лента
Процессоры
Системные платы, память, чипсеты
Цифровое фото
Ноутбуки и планшеты
Мониторы
Техника Apple
Мобильные телефоны
Настольные ПК
Видеокарты
Корпуса, системы питания и охлаж...
Носители информации
Прочие новости
Принтеры и периферия
Сети и серверы
Авто и транспорт
Телевизоры и проекторы
Аудио и звук
Программное обеспечение
Комфортный дом
Цифровое видео
Законы и новости рынка
Криптовалюты
Наука и космос
Авиация
Электротранспорт
Носимая электроника
Консоли и игры
Информационная безопасность
Финансы
Искусственный интеллект
Статьи
Свежие
Видеокарты и мониторы
iT-среда
Мобильные устройства
Ноутбуки и планшеты
Носители информации
Платформа ПК
Приложения и утилиты
Принтеры и периферия
Профессиональное аудио
Проекторы и ТВ
Сети и серверы
Hi-Fi и мультимедиа
Цифровое видео
Цифровое фото
Корпуса, БП и ИБП
Автомобили
Комфортный дом
Наши проекты
Конференция
Остальные проекты
Блоги
Игры
Маркет
ПроБизнес
Новости
28 декабря 2012
Новости за дату
Список
Все категории
Загрузка...
Top Richland 28nm APU is A10-6800K
0
28 дек 2012 19:33
Some Details on the New Apple Macbook Air and Macbook Pro Leaked
0
28 дек 2012 19:14
Президент Fujitsu обвиняет в плохих продажах ПК компании слабый спрос на Windows 8
Недогрузка мощностей заставляет Fujitsu продать полупроводниковый бизнес
Прочие новости
0
28 дек 2012 16:50
Специалисты BlueStacks создали усредненный портрет пользовательницы Mac
Девушка в футболке, джинсах и кроссовках — типичный пользователь компьютера Mac
Прочие новости
Техника Apple
0
28 дек 2012 14:45
Представлена серия неттопов Foxconn NanoPC 7000 на процессорах Intel Ivy Bridge
Неттопы Foxconn NanoPC 7000 поступят в розничную продажу в марте 2013 года
Настольные ПК
0
28 дек 2012 13:35
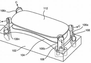
Apple запатентовала технологию получения изогнутого стекла для дисплеев
Apple получила патент №8336334 на процесс гибки тонкого стекла для дисплеев
Прочие новости
0
28 дек 2012 13:34
Marvell отрицает нарушение патентов UCM
Производитель контроллеров рассчитывает на пересмотр решения жюри
Прочие новости
0
28 дек 2012 12:49
Apple перенесет в США сборку компьютеров Mac mini
Выпуском компьютеров Mac mini в США будет заниматься Foxconn
Настольные ПК
0
28 дек 2012 11:08
Toshiba готова показать находящийся в стадии разработки референсный образец карты памяти SDHC, поддерживающей TransferJet
Референсный образец карты памяти SDHC, поддерживающей TransferJet, будет показан на выставке CES 2013
Носители информации
0
28 дек 2012 10:48
О достоинствах интерфейса FireWire в высокоскоростной передаче данных сняли видеоролик
Организация 1394 Trade Association продолжает продвигать интерфейс IEEE1394 (FireWire)
Прочие новости
0
28 дек 2012 10:15
Seagate SeaTools v.1.2.0.8 - сборник фирменных утилит для диагностики жестких дисков Seagate
Сборник фирменных утилит для диагностики жестких дисков Seagate
0
28 дек 2012 09:45
Недорогие планшеты известных компаний вытеснят с рынка продукцию безымянных китайских производителей
В будущем году рынок планшетов покинут две трети безымянных китайских производителей
Мобильные телефоны
0
28 дек 2012 09:45
PassMark PerformanceTest v.8.0 Build 1010 - набор тестов для оценки производительности ПК
Набор тестов от PassMark, позволяющих оценить общую производительность вашего ПК по сравнению с другими компьютерами
0
28 дек 2012 09:10
Для пользователей Android доступна бета-версия Dr.Web Launcher
«Доктор Веб» сообщает о старте бета-тестирования Dr.Web Launcher
0
28 дек 2012 08:35
CommFort для Android: "карманный" чат с большими возможностями
"КоммФорт софтваре" официально объявляет о выходе мобильной версии клиент-серверного приложения CommFort
0
28 дек 2012 08:00
Раньше
2012-12-28
Позже
Видео