
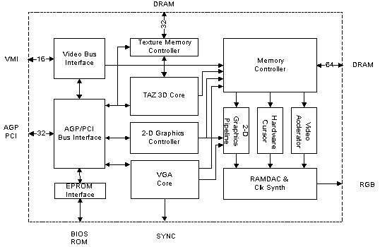
В последнее время создается впечатление, что сектор недорогих персональных компьютеров намазан медом. Буквально все стремятся отщипнуть хоть маленький кусочек от рынка комплектующих для этого сектора. Еще один пример — компания Silicon Reality, анонсировавшая свой графический чип TAZ-3D. Как сообщается, в одном чипе будут реализованы 3-D, 2-D, VGA, Video, DAC и тактовый генератор, причем все это будет очень недорого. Выглядеть будет примерно так:

Основные возможности чипа следующие:
- 3D-акселератор с поддержкой 32-разрядного представления цвета (true color) при разрешениях до 1600х1200.
На самом деле, это достаточно здорово. Семейство Voodoo, например, реально поддерживает только 16-разрядное представление цвета, а поддержка столь высокого разрешения в режиме true color для контроллера на одном чипе вообще реализована впервые. - Наличие выделенной памяти для хранения текстур.
На данный момент 3D-ускорители, включающие в себя память текстур (например, Voodoo), не содержат 2D и VGA, а контроллеры с интегрированными функциями 3D/2D/VGA (например, Riva128) не содержат выделенной памяти для хранения текстур. По мнению компании, пропускной способности AGP недостаточно для одновременной передачи текстур и координатных данных, поэтому отсутствие выделенной памяти текстур снижает производительность 3D-акселератора. Спору нет, обмен с интегрированной памятью всегда будет быстрее, чем с системной через AGP, но в этом вопросе Silicon Reality идет "не в ногу". Ведь АGP и разрабатывалась как раз для того, чтобы дать возможность хранить большие текстуры в системной памяти и отказаться от дорогостоящей выделенной памяти текстур. - Полностью аппаратная установка параметров полигонов и текстур.
Стандартно обсчет параметров полигонов производится после проведения геометрических преобразований в CPU и готовит данные для растеризации. На этом этапе выполняются две основные функции: преобразование параметров и вычисление дельты. После прохода изображения через узел геометрической обработки в узел растеризации оно содержит достаточно информации для отрисовки пикселов. Используемыми параметрами являются X, Y-координаты, цветовые значения (включая значения альфа-канала), текстурные координаты и т.д. Для эффективной растеризации цветовые переходы (дельты) должны быть обсчитаны до отрисовки пикселов. Ни в одном из видеоконтроллеров начального и базового уровней вышеописанные функции не реализованы аппаратно и выполняются процессором, что очевидным образом замедляет работу всей системы. Ядро же TAZ-3D обеспечивает эффективное аппаратное преобразование параметров, включая текстурные, и вычисление дельт. Поддерживаются целочисленные параметры, параметры с плавающей точкой и параметры в формате Direct3D. - Однопроходная коррекция перспективы, tri-linear mip-mapping с автоматическим выбором уровня детализации.
Использование tri-linear mip-mapping в TAZ-3D является уникальным случаем для одночиповых контроллеров, поскольку этод метод, хотя и позволяет достичь высокого качества изображения, требует большого объема вычислений и высокой скорости обмена. - Попиксельное наложение тумана с коррекцией перспективы и использованием трех таблиц.
Туман является важной составной частью качественного изображения. Ядро TAZ-3D обеспечивает аппаратное наложение "высококачественного" тумана для каждого пиксела, причем эта операция производится параллельно с другими вычислениями. Использование трех встроенных таблиц позволяет получить линейный, экспоненциальный и даже немонотонный туман. Обычно такими возможностями обладают дорогостоящие графические станции и профессиональные авиасимуляторы.
Нижеприведенный рисунок иллюстрируют архитектуру 3D-конвейера чипа:

Такую вот вещь предложит нам к сентябрю компания Silicon Reality. Плата Tantrum на чипе TAZ-3D с 12МВ памяти будет обеспечивать отрисовку 1,7 миллионов полигонов или 100 миллионов пикселов в секунду и стоить порядка $100. Поживем — попробуем. Пока интересно.