Бюро по патентам и товарным знакам США выдало Apple патент на любопытное изобретение, связанное с iPhone, iPad, MacBook и другими устройствами. Это внешняя вспышка, точнее говоря, её подключение по проводному или беспроводному интерфейсу. Патент № 11 172 553 так и называется: Accessory strobe interface.
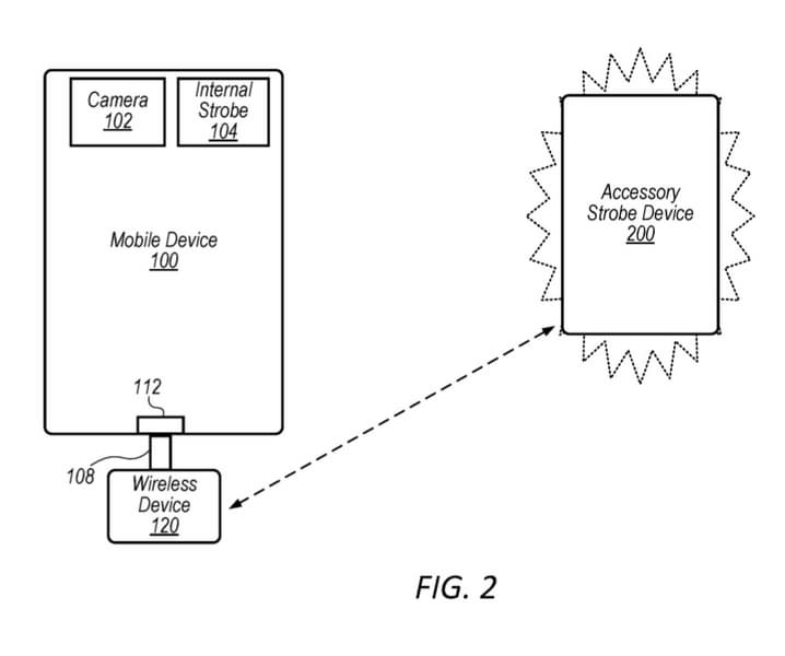
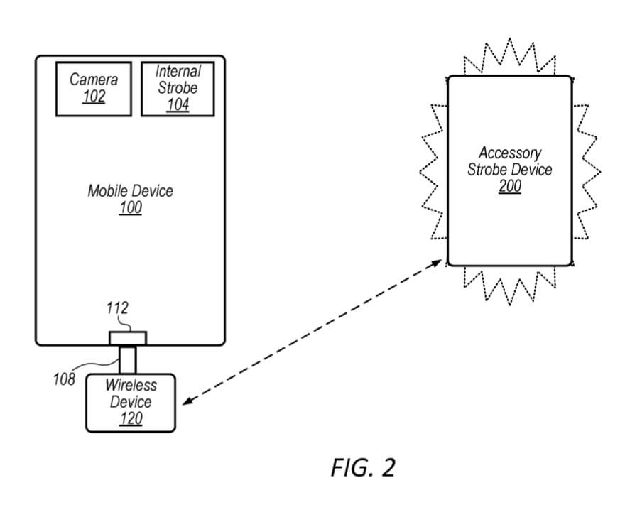
По замыслу авторов изобретения, дополнительная вспышка должна срабатывать одновременно со вспышкой, встроенной в мобильное устройство.
Для этого мобильное устройство может выводить сигнал управления, который включает в себя информацию о внешней вспышке и о состоянии встроенной вспышки, например, для синхронизации их импульсов.
Сигнал управления может быть предоставлен как выходной сигнал с единственного вывода данных в порту, используемом для обмена данными и для зарядки. Он может включать в себя импульсы, разделенные во времени, позволяющие передавать состояние встроенной и внешней вспышки.
Apple не ограничивает использование вспышки только смартфонами iPhone. В патенте перечислены и другие устройства.
Отметим, что технология проводной синхронизации внешней вспышки появилась и получила широкое распространение задолго до появления компании Apple. Она используется в фотографии и сейчас, наряду с беспроводными альтернативами, в которых сигналы передаются по оптическому или радиочастотному каналу.

