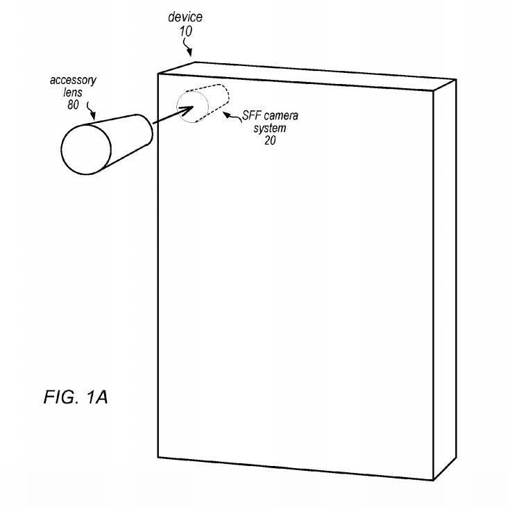
Насадка на камеру смартфона может заметно расширить возможности встроенного объектива, но при этом ухудшить качество изображений. В частности, за счет неидеального выравнивания оптических осей штатного объектива и насадки. Кроме того, насадка вносит собственные искажения.

Компания Apple запатентовала систему коррекции, позволяющую бороться с этими отрицательными эффектами. В системе предполагается применение двух подходов: аппаратного и программного.
С помощью датчиков или анализируя изображения, система может сама определять наличие насадки и обнаруживать нежелательные отклонения во взаимном расположении штатного объектива и насадки — такие, как смещения, зазоры и нарушение параллельности оптических осей. Для компенсации этих отклонений изобретатели предлагают специальными приводами двигать штатный объектив.
Проанализировав оптические свойства насадки с помощью датчиков или анализа изображения, система может применить для их компенсации программную коррекцию.
Заявка была подана летом 2016 года. Патент №10031312 был выдан американским патентным бюро 24 июля 2018 года. Как обычно, неизвестно, когда эта система будет воплощена в серийных устройствах и будет ли вообще.