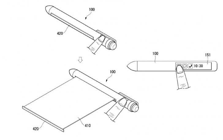
Компания LG запатентовала очередную странную разработку. Смарт-ручка или стилус не только выполняет функцию компаньона для смартфона, но и, потенциально, может полностью заменить его.

Главными особенностями ручки стали два дисплея. Один маленький экран встроен прямо в корпус гаджета и отображает пиктограммы приложений, оповещения, время и тому подобную служебную информацию.

Второй дисплей намного больше и отличается гибкостью. Специальная кнопка отвечает за разворачивание и втягивание дисплея. Устройство сможет работать со всеми обычными для смартфонов приложениями, включая просмотр сайтов и набор текста.

Помимо дисплеев, ручка содержит ряд сенсоров, включая гироскоп, электронный компас, датчики давления и приближения, камеру и даже датчик для отслеживания взгляда. Сканер отпечатков пальцев не оставлен за бортом, также как и микрофон с динамиком для разговоров «по телефону».
Патент отмечает возможность подключить стилус к другим мобильным устройствам в качестве аксессуара. В этом случае ручкой можно рисовать или писать на обычной бумаге, а написанное отобразится на экране смартфона или планшета.