Еще в 2016 году компания Motorola запатентовала технологию, которая позволит бороться с деформацией сгибающихся дисплеев грядующх смартфонов. Недавно этот патент был обновлен и стал доступен для ознакомления всем желающим.
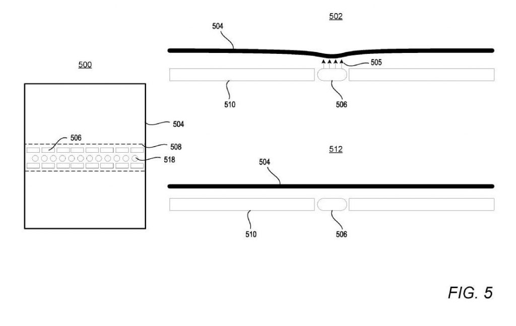
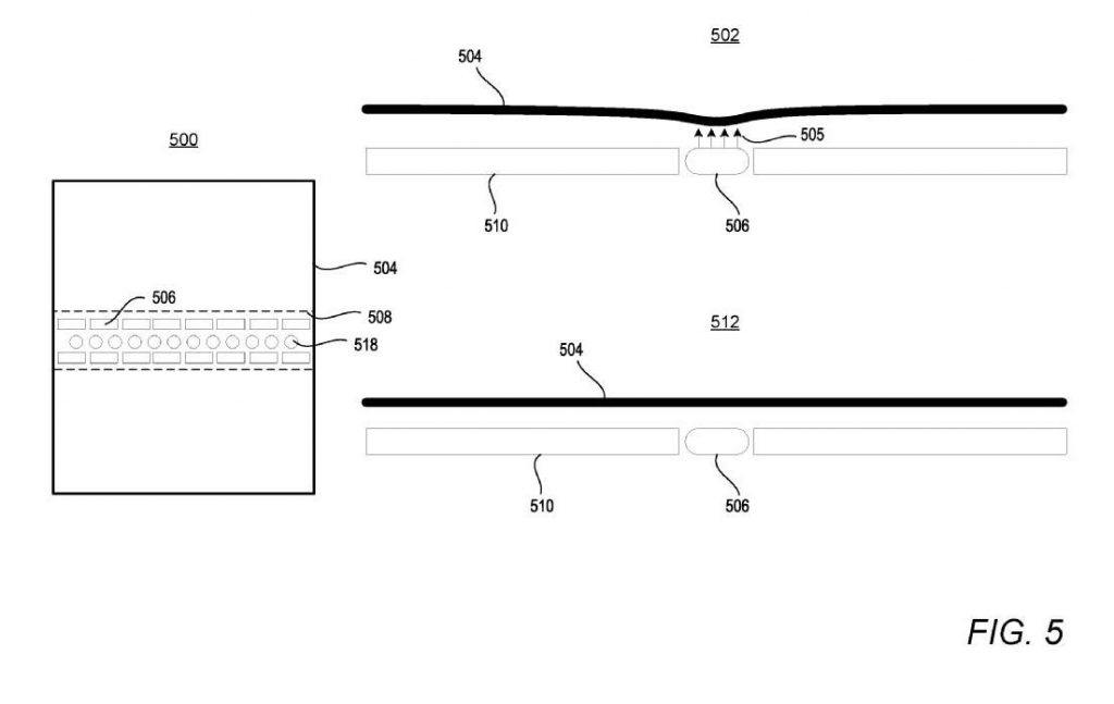
В патенте говорится о том, что деформации дисплея во время его сгибания можно избежать при использовании тепла. Инженеры предлагают нагревать ту часть дисплея, которая подвергается наибольшей нагрузке при сгибании, тем самым делая экран более податливым и менее подверженным повреждениям через определенное количество циклов сгибания/разгибания.

Также предусмотрены аппаратные и программные способы определения величины повреждений, которые получает дисплей в согнутом состоянии, а также количества тепла, воздействию которого должен быть подвергнут экран.
Как только датчики отдают соответствующий сигнал, производится выделение заданного количества тепла в шарнирную часть смартфона, что препятствует повреждению экрана.

Motorola пока не рассказала о своих планах по выпуску соответствующего смартфона, однако очевидно, что она работает в данном направлении.