Microsoft запатентовала устройство со сгибающимся дисплеем

Место сгиба оснащено шарнирами, а также магнитами

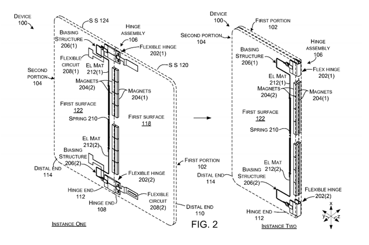
В Сети появились изображения устройства со сгибающимся дисплеем, которые были обнаружены в новом патенте, полученном компанией Microsoft.

Microsoft запатентовала устройство со сгибающимся дисплеем

В сложенном состоянии, судя по габаритам камеры, устройство напоминает смартфон, а в разложенном уже выглядит как планшет.

Microsoft запатентовала устройство со сгибающимся дисплеем

На картинках говорится, что место сгиба оснащено шарнирами, а также магнитами. Источник пишет, что устройство может сгибаться в обоих направлениях. В первом случае экраны прячутся внутри, во втором — находятся на обеих панелях смартфона-трансформера.

Microsoft запатентовала устройство со сгибающимся дисплеем

Других подробностей об устройстве пока нет.

12 июня 2017 в 12:46

Автор:

| Источник: Gizmochina

Все новости за сегодня

Календарь

июнь
Пн
Вт
Ср
Чт
Пт
Сб
Вс