Samsung патентует сдвоенную камеру для своих мобильных устройств

Сопроводительные изображения демонстрируют нам смартфон, основная камера которого является сдвоенной

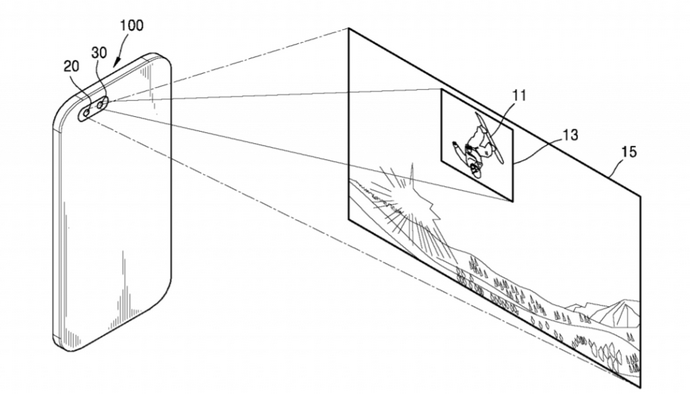
На днях компания Samsung подала документы для регистрации патента, в котором описывается работа системы сдвоенной камеры для мобильных устройств.

Samsung патентует сдвоенную камеру для своих мобильных устройств

Сопроводительные изображения демонстрируют нам смартфон, основная камера которого является сдвоенной. Также по картинкам понятно, что одна камера является широкоугольной, а вторая используется для более детального захвата изображения, которое находится в фокусе.

Samsung патентует сдвоенную камеру для своих мобильных устройств

Ранее уже проскакивали слухи о том, что флагманский смартфон Samsung Galaxy S8 будет оснащен сдвоенной камерой, однако они пока не были подтверждены. Но Samsung не может оставаться в стороне от тренда, когда основные конкуренты уже выпустили смартфоны с подобными камерами.

4 января 2017 в 10:32

Автор:

| Источник: Galaxy Club

Все новости за сегодня

Календарь

январь
Пн
Вт
Ср
Чт
Пт
Сб
Вс