Apple пытается запатентовать бумажный пакет

По мнению изобретателей, пакет можно использовать в розничной торговле

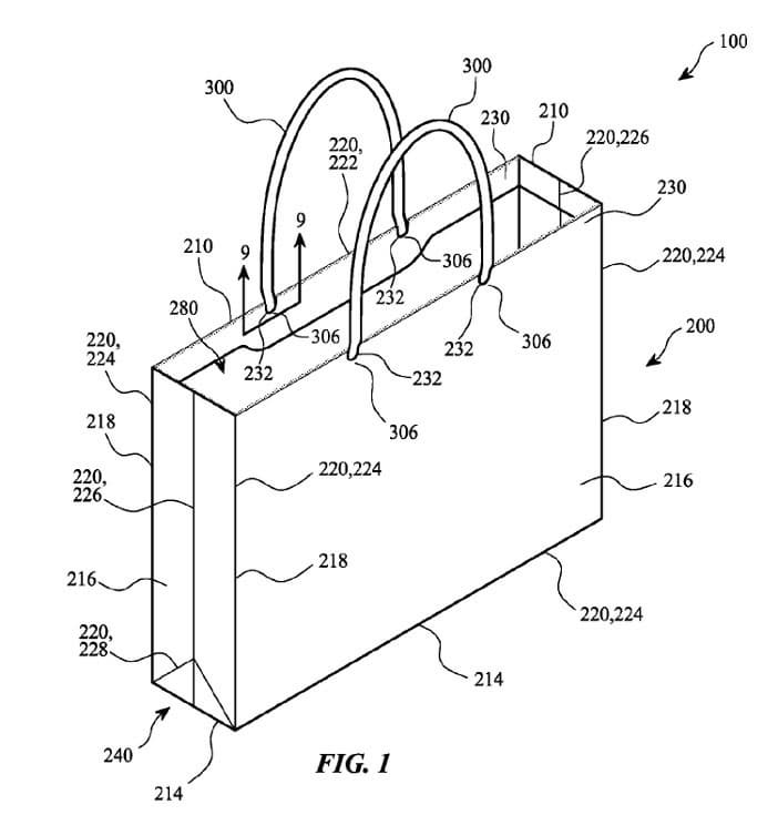
В базе данных американского патентного бюро появилась заявка на патент, поданная Apple в марте этого года. Патентуемое изобретение называется незамысловато — «сумка». В патенте описан «бумажный пакет, который может включать контейнер, сформованный из плотной отбеленной бумаги, не менее чем на 60% изготовленной из вторсырья».

По мнению изобретателей, пакет можно использовать в розничной торговле

Бумажный пакет, описанный в заявке, стал плодом интеллектуальных усилий трех человек. По мнению изобретателей, пакет можно использовать в розничной торговле, складывая в него покупки.

Источник: USPTO

Accent
Главное