Yamaha работает над автомобилем-амфибией

Инженеры нашли способ полностью убирать колеса внутрь корпуса, который при этом не требует увеличение ширины

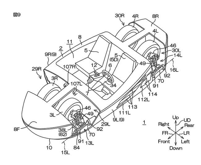
В японском патентном бюро появилось описание транспортного средства, над которым работает компания Yamaha. Данный автомобиль будет отличаться возможностью также перемещаться по поверхности воды.

Yamaha работает над автомобилем-амфибией

В патенте говорится о том, что инженеры нашли способ полностью убирать колеса внутрь корпуса, который при этом не требует увеличение ширины, по сравнению с корпусами обычных автомобилей. Представленные сегодня плавающие автомобили, которые выпускаются ограниченными сериями, не могут похвастать убирающимися в корпус колесами. Гладкий корпус с отсутствием выступающих частей и колесных арок приведет к снижению расхода топлива и увеличению скорости.

Yamaha работает над автомобилем-амфибией

Стоит добавить, что подробности о силовой установке и других составляющих машины-амфибии Yamaha пока не сообщаются, поэтому в итоге никакого топлива в ней может не оказаться, если Yamaha предпочтет изначально использовать электрический двигатель. В документах лишь упоминается некий водный движитель, возможно, речь идет о водомете.

Jin Источники: Autoguide
Прочие новости
Главное