Новый стилус Apple Pencil, оснащенный набором сенсоров, сможет использоваться в роли джойстика в играх

Входящие в оснащение сенсоры нового Apple Pencil должны позволить использовать аксессуар для жестового управления приложениями

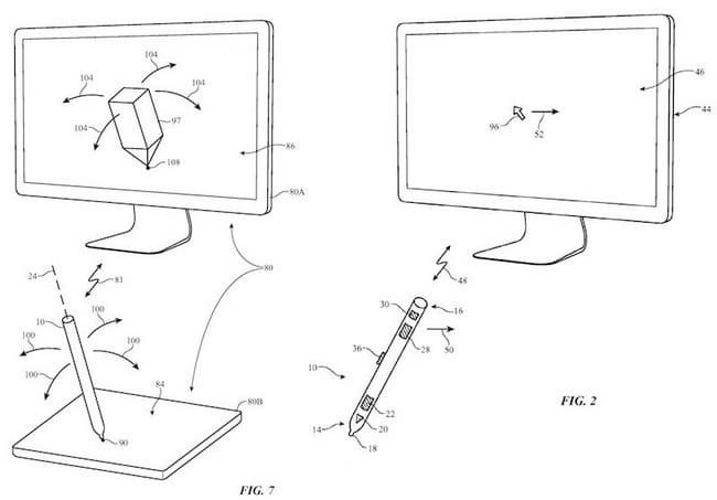
В Бюро по регистрации патентов и торговых марок США (United States Patent and Trademark Office, USPTO) появилось описание «стилуса со встроенными датчиками», которое зарегистрировала компания Apple.

Патентная заявка была подана еще в ноябре 2014, однако опубликована только в мае этого года. В патенте говорится о совместном использовании электронного пера Apple Pencil и сенсорной панели Magic Trackpad, которая сможет воспринимать электромагнитные сигналы электрода, расположенного на кончике стилуса, и отображать их графическое представление в совместимых программах.

Новый стилус Apple Pencil, оснащенный набором сенсоров, сможет использоваться в роли джойстика в играх

Специалисты считают, что тем самым Apple планирует предложить владельцам своих настольных компьютеров возможность заниматься рисованием и дизайном — то же, что доступно владельцам iPad Pro и Apple Pencil.

Входящие в оснащение сенсоры нового Apple Pencil должны позволить использовать аксессуар для жестового управления приложениями, в качестве «воздушной мыши» (air mouse)) или джойстика в играх.

Новый стилус Apple Pencil, оснащенный набором сенсоров, сможет использоваться в роли джойстика в играх

В очередной раз добавим, что факт существования патента вовсе не гарантирует, что Apple анонсирует такой продукт в обозримом будущем.

Jin Источники: Mac Rumors
Главное