Американское патентное бюро на этой неделе выдало компании Apple патент №9367093. Патент называется «Прозрачное электронное устройство».
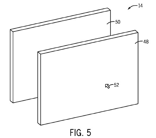
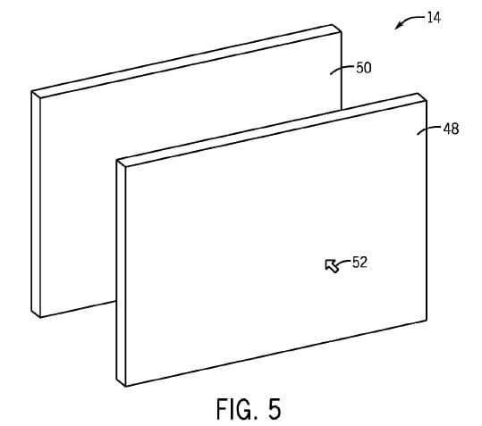
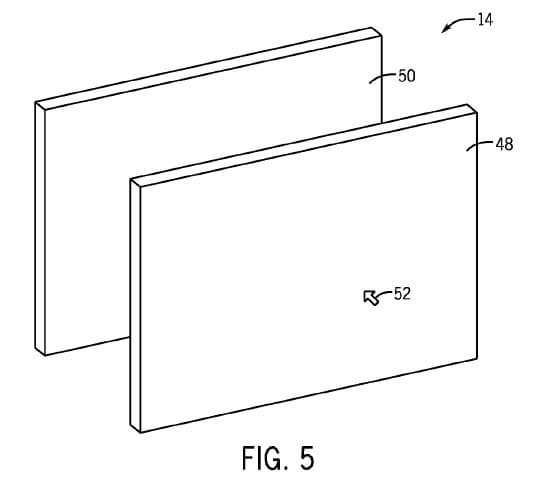
В патенте описаны «метод и система для показа изображений на прозрачном экране электронного устройства». По замыслу автора изобретения, дисплей может быть подключен к другим компонентам устройства гибкой платой. Прозрачность дисплея позволяет комбинировать выводимое на него изображение с объектами реального мира. Дисплей может включать активные и пассивные экраны, использование которых зависит от выводимых на них изображений.
Заявка была подана 17 ноября 2014 года.
Представление о том, как выглядит прозрачный дисплей, дает иллюстрация.

На ней изображен 19-дюймовый прозрачный дисплей AMOLED, показанный компанией Samsung на выставке SID в 2010 году. Серийный выпуск 46-дюймовых прозрачных ЖК-панелей компания Samsung начала в 2012 году.
Источник: USPTO