Apple получила патент на разъемы с магнитной фиксацией, соединяемые стопкой

Такие разъемы позволят уменьшить число разъемов в ноутбуке или мини-ПК

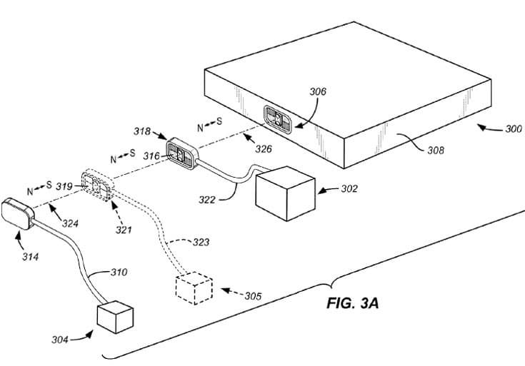
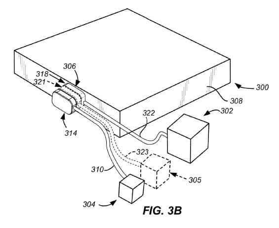
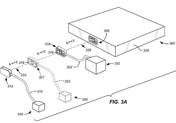
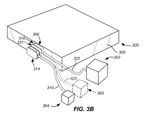
Уменьшить число разъемов в ноутбуке или мини-ПК позволяет изобретение, на которое компании Apple в США на днях был выдан патент №9300083. В этом патенте описаны разъемы с магнитной фиксацией, соединяемые стопкой. Суть изобретения лучше всего передают иллюстрации.

Такие разъемы позволят уменьшить число разъемов в ноутбуке или мини-ПК

По замыслу изобретателей, конструкция обеспечивает сквозную передачу данных и питания от одного разъема к другому. Внутри разъема могут находиться электронные цепи, определяющие, можно ли устанавливать электрическое соединение между двумя скрепленными между собой разъемами и какие сигналы необходимо передавать устройствам.

Такие разъемы позволят уменьшить число разъемов в ноутбуке или мини-ПК

Друг с другом разъемы скрепляются с помощью магнитов, которые также обеспечивают правильную взаимную ориентацию разъемов.

Заявка на патент была подана в сентябре 2014 года.

Источник: USPTO

Главное