Конференция
Блоги
Игры
Маркет
Про бизнес
Еще
Другие проекты
Конференция
Старейший и крупнейший в рунете форум о технике
Блоги
Впечатления о технике из первых рук на Блоги
Игры
Компьютерные игры и не только на Игры
Маркет
Скидки, купоны, тесты магазинов
ПроБизнес
Новости и обзоры решений для малого и среднего бизнеса
Мерч
IXBT
Войти
Новости
Статьи
Видеокарты и мониторы
Мобильные устройства
Ноутбуки и планшеты
Платформа ПК
Комфортный дом
Все темы
$refs.search?.focus())" aria-label="Очистить поиск" >
Статьи
Видеокарты и мониторы
iT-среда
Мобильные устройства
Ноутбуки и планшеты
Носители информации
Платформа ПК
Приложения и утилиты
Принтеры и периферия
Профессиональное аудио
Проекторы и ТВ
Сети и серверы
Hi-Fi и мультимедиа
Цифровое видео
Цифровое фото
Корпуса, БП и ИБП
Автомобили
Комфортный дом
Новости
Процессоры
Системные платы, память, чипсеты
Цифровое фото
Ноутбуки и планшеты
Мониторы
Техника Apple
Мобильные телефоны
Настольные ПК
Видеокарты
Корпуса, системы питания и охлаждения
Носители информации
Прочие новости
Принтеры и периферия
Сети и серверы
Авто и транспорт
Телевизоры и проекторы
Аудио и звук
Программное обеспечение
Комфортный дом
Цифровое видео
Законы и новости рынка
Криптовалюты
Наука и космос
Авиация
Электротранспорт
Носимая электроника
Консоли и игры
Информационная безопасность
Финансы
Искусственный интеллект
Новости
Сегодня
Лента
Процессоры
Системные платы, память, чипсеты
Цифровое фото
Ноутбуки и планшеты
Мониторы
Техника Apple
Мобильные телефоны
Настольные ПК
Видеокарты
Корпуса, системы питания и охлаж...
Носители информации
Прочие новости
Принтеры и периферия
Сети и серверы
Авто и транспорт
Телевизоры и проекторы
Аудио и звук
Программное обеспечение
Комфортный дом
Цифровое видео
Законы и новости рынка
Криптовалюты
Наука и космос
Авиация
Электротранспорт
Носимая электроника
Консоли и игры
Информационная безопасность
Финансы
Искусственный интеллект
Статьи
Свежие
Видеокарты и мониторы
iT-среда
Мобильные устройства
Ноутбуки и планшеты
Носители информации
Платформа ПК
Приложения и утилиты
Принтеры и периферия
Профессиональное аудио
Проекторы и ТВ
Сети и серверы
Hi-Fi и мультимедиа
Цифровое видео
Цифровое фото
Корпуса, БП и ИБП
Автомобили
Комфортный дом
Наши проекты
Конференция
Остальные проекты
Блоги
Игры
Маркет
ПроБизнес
Новости
02 мая 2019
Новости за дату
Список
Все категории
Загрузка...
Гораздо больше смартфонов. Xiaomi опубликовала собственные данные о поставках
Xiaomi заметила существенное расхождение в статистике сторонних исследовательских фирм
Мобильные телефоны
6
02 мая 2019 22:31
Отверстие в экране. Камерофон Honor 20 Pro с коробкой засветился на фото
Качество съёмки сравнится с Huawei P30 Pro
Мобильные телефоны
7
02 мая 2019 21:53
Был уничтожен. SpaceX прокомментировала аварию с космическим кораблём Crew Dragon
Авария произошла во время активации двигателей SuperDraco
Прочие новости
41
02 мая 2019 21:17
Красивый новый цвет и изогнутый дисплей. Качественные изображения смартфона OnePlus 7 Pro попали в Сеть
Анонс намечен на 14 мая
Мобильные телефоны
6
02 мая 2019 21:09
Xiaomi Mi 9 получил функцию DC dimming, берегущую глаза
Она позволяет устранить мерцание OLED при небольшой яркости
Мобильные телефоны
10
02 мая 2019 20:55
В Великобритании хотят сделать умные дома более защищенными от кибератак
Среди предложенных мер — запрет на продажу устройств умного дома, не имеющих обязательной маркировки
Прочие новости
4
02 мая 2019 20:53
Шпионские страсти. Super Micro откажется от использования в своих серверах компонентов китайского производства
Super Micro — третий по величине в мире производитель серверов
Прочие новости
9
02 мая 2019 20:37
Tesla рассчитывает привлечь 2 млрд долларов, выпустив новые акции и долговые обязательства
После того, как компания обнародовала свои планы, ее акции подорожали на 5%
Прочие новости
48
02 мая 2019 19:52
Samsung и Huawei неожиданно серьёзно нарастили долю на рынке умных часов
Доля Apple почти не изменилась
Прочие новости
12
02 мая 2019 18:45
Смартфон OnePlus 7 Pro использовали для получения снимка, ставшего обложкой модного глянцевого журнала
Создатели утверждают, что снимки не обрабатывались
Мобильные телефоны
8
02 мая 2019 18:28
Facebook создаст комитет по конфиденциальности
Это часть сделки с правительством, которая также будет включать выплату 5 млрд долларов
Прочие новости
4
02 мая 2019 17:55
Xiaomi вернёт в MIUI детский режим
Также появятся новые жесты управления на домашнем экране
Мобильные телефоны
3
02 мая 2019 17:49
Смартфоны Samsung Galaxy A начали дешеветь спустя пару месяцев после анонса
Пока в Индии
Мобильные телефоны
20
02 мая 2019 17:36
В России стал недоступен Last.fm
Но Роскомнадзор официально о блокировке не объявил
Прочие новости
120
02 мая 2019 17:21
Компания MediaTek отчиталась за первый квартал 2019 года
За год MediaTek удалось увеличить доход на 6,2%
Прочие новости
0
02 мая 2019 17:21
Маршрутизаторы D‑Link Exo Smart Mesh соответствуют спецификации 802.11ac Wave 2
К другим ключевым достоинствам маршрутизаторов производитель относит поддержку голосового управления с помощью Google Assistant и Amazon Alexa
Сети и серверы
2
02 мая 2019 16:40
В этом году AUO планирует построить линию 6G по выпуску панелей OLED методом струйной печати
График освоения серийного производства с использованием технологии струйной печати еще не определен
Прочие новости
0
02 мая 2019 16:13
Новая версия MIUI 10 приносит функцию из грядущей Android Q
Настраиваемый виджет часов на экране блокировки и не только
Мобильные телефоны
13
02 мая 2019 15:19
Серия модулей памяти Patriot Signature Premium DDR4 принадлежит массовому сегменту
Она включает модули DDR4-2400 и DDR4-2666
Системные платы, память, чипсеты
2
02 мая 2019 15:02
Google в очередной раз попытается сделать умные часы с Wear OS удобнее
Для этого представили функцию Tiles
Программное обеспечение
9
02 мая 2019 14:41
Отчет Qualcomm дает представление о том, во что Apple обошлось примирение с незаменимым поставщиком
Доход Qualcomm во втором квартале 2019 финансового года составил 5,0 млрд долларов
Техника Apple
Прочие новости
2
02 мая 2019 14:27
Поступившее лишь вчера в продажу бюджетное устройство Samsung уже получило полезное обновление
Оно должно повысить автономность
Программное обеспечение
0
02 мая 2019 12:55
Samsung подарит 10 умных часов Galaxy Watch Active
Конкурс проходит в России
Мобильные телефоны
4
02 мая 2019 12:55
Realme 2 Pro заметно подешевел в рознице
За младшую модель теперь просят 165 долларов
Мобильные телефоны
4
02 мая 2019 12:23
Ещё более совершенный флагман. Xiaomi Mi 9 Pro с квадрокамерой ожидается в июне
SoC Snapdragon 855 и поддержка 5G
Мобильные телефоны
7
02 мая 2019 12:16
Продажи iPhone обрушились на 23%. Рыночная доля Apple стремительно уменьшается
Насколько сильно помогут компании новые смартфоны, пока сказать сложно
Мобильные телефоны
51
02 мая 2019 11:46
Камера внутри смартфона и гигантская медная пластина. Разборка Xiaomi Black Shark 2 показала особенности его конструкции
С охлаждением проблем точно не будет
Мобильные телефоны
1
02 мая 2019 11:27
Xiaomi Mi 9 уже начал дешеветь
Объяснить это можно лишь личной инициативой Jingdong
Мобильные телефоны
6
02 мая 2019 11:25
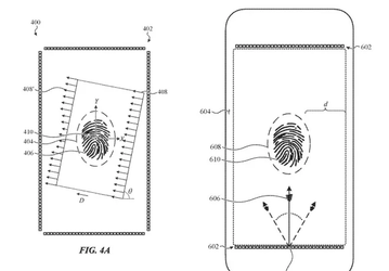
Touch ID может вернуться в iPhone. Apple работает над «системой акустической визуализации для экрана смартфона»
Touch ID может переродиться в виде подэкранного сканера
Мобильные телефоны
28
02 мая 2019 11:11
Faraday Future удалось привлечь новых инвесторов, оценив свою интеллектуальную собственность в 1,25 млрд долларов
Вливание должно позволить, наконец, вывести на рынок электромобиль FF91
Авто и транспорт
0
02 мая 2019 10:48
В ожидании Pocophone F2. Народный флагман Xiaomi Pocophone F1 стал еще дешевле
Именно со скорым анонсом Xiaomi Pocophone F2 наблюдатели связывают очередное снижение цены на Xiaomi Pocophone F1
Мобильные телефоны
2
02 мая 2019 10:37
Дешевле большинства флагманов. Цену Honor V20 снизили до $400
На момент выхода смартфон стоил $445
Мобильные телефоны
16
02 мая 2019 10:26
Министр обороны Великобритании уволен из-за утечки, связанной с Huawei
Он отрицает свою причастность
Прочие новости
8
02 мая 2019 10:24
Видео дня: работа ОС Android Automotive в электромобиле Polestar 2
Уже сейчас всё выглядит вполне достойно
Авто и транспорт
1
02 мая 2019 10:24
Motorola One Vision представят 15 мая
Motorola One Vision должен стать третьим телефоном компании, выпущенным в рамках программы Android One
Мобильные телефоны
0
02 мая 2019 10:18
Samsung и Apple продолжают терять долю на рынке смартфонов в пользу китайских гигантов
Рынок смартфонов падает уже шесть кварталов подряд
Прочие новости
4
02 мая 2019 10:14
Максимальная производительность и отличная автономность. В Сеть слили все характеристики смартфонов OnePlus 7 и OnePlus 7 Pro
Новинки представят 14 мая
Мобильные телефоны
11
02 мая 2019 10:03
Realme X, Realme X Lite и Realme X Pro войдут в новую флагманскую серию
Realme X Pro будет построен на базе флагманской SoC Snapdragon 855
Мобильные телефоны
1
02 мая 2019 09:57
Больше никаких уродцев. Google создала три независимых команды, работающих над дизайном будущих смартфонов
Команды не имеют связи друг с другом
Мобильные телефоны
9
02 мая 2019 09:49
Специалистами Fraunhofer FEP создан микродисплей OLED размером 0,64 дюйма по диагонали
Он предназначен для промышленных очков дополненной реальности
Прочие новости
1
02 мая 2019 09:43
Флагману Realme приписывают SoС Snapdragon 730 и 8 ГБ ОЗУ при цене в 300 долларов
Базовая версия обойдётся в 240 долларов
Мобильные телефоны
3
02 мая 2019 09:36
Не время для 5G. Тим Кук заявил, что Apple пока не думает о 5G
iPhone 5G выйдет в нужное время и при определенных условиях
Мобильные телефоны
25
02 мая 2019 09:34
Moto Z4 в прозрачном чехле позирует всеми сторонами корпуса
Слухи приписывают новинке дисплей OLED диагональю 6,4 дюйма разрешением Full HD+ и однокристальную систему Snapdragon 675
Мобильные телефоны
1
02 мая 2019 09:14
Фотогалерея дня: смартфоны Google Pixel 3a и Pixel 3a XL на официальных рекламных материалах
Вам не захочется использовать вспышку, оставив ее только для работы в качестве фонарика
Мобильные телефоны
12
02 мая 2019 09:02
Apple iFlex — дизайнерские фантазии на тему гибкого iPhone
Apple наверняка придется представить гибкий iPhone, если Samsung Galaxy Fold и Huawei Mate X будут пользоваться спросом
Мобильные телефоны
5
02 мая 2019 08:48
«Мы только что сделали ваш телефон медленнее». Спорная реклама OnePlus 7
Официальный анонс OnePlus 7 и OnePlus 7 Pro ожидается 14 мая
Программное обеспечение
2
02 мая 2019 08:36
Еще один конкурент Redmi Note 7. Lenovo готовит смартфон K6 Note (2019) c 6 ГБ ОЗУ, тройной камерой и аккумулятором емкостью 3930 мА·ч
Аппарат засветился в базе данных TENAA
Мобильные телефоны
1
02 мая 2019 08:23
5G – ягодка, а 8К – цветочки: новые подробности о телевизорах Huawei
За три года Huawei собирается войти в Топ-5 мировых производителей ТВ
Телевизоры и проекторы
10
02 мая 2019 07:53
В Южной Корее уже более четверти миллиона человек пользуются сетью 5G
Соответствующие сети развернули три провайдера - Korea Telecom, SK Telecom и LG U+
Прочие новости
16
02 мая 2019 07:15
Апгрейд экрана, даунгрейд камеры. Опубликован официальный рендер смартфона Moto Z4
В Moto Z4 есть стандартный разъем для наушников, и это хорошо
Мобильные телефоны
1
02 мая 2019 07:12
Показано с
1
по
50
из
51
результатов
1
2
Раньше
2019-05-02
Позже
Видео