Apple запатентовала сканер отпечатков пальцев Touch ID, который располагается под стеклом

iPhone 8 представят в сентябре следующего года

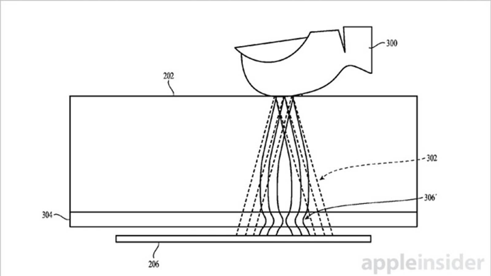
Американское патентное бюро (The United States Patent and Trademark Office) выдало компании Apple патент, описывающий новый дактилоскопический датчик Touch ID.

Главной его особенностью станет «возможность определять и считывать отпечатки пальцев пользователей через другие компоненты смартфона, включая дисплей и сенсорную панель».

Данная информация подтверждает ранее появившиеся слухи о том, что при создании iPhone 8 компания отказалась от использования кнопки Home. А используемый дактилоскопический датчик по принципу работы будет похож на решение, используемое в недавно выпущенном Xiaomi Mi 5S. Хотя в патенте он называется не ультразвуковым, а емкостным. Также упоминаются электростатические линзы, которые служат для формирования четкого отпечатка пальца и передачи его на считывающий сенсор.

iPhone 8 представят в сентябре следующего года.