Universal Display патентует гибридный дисплей OLED и LED MEMS

Изобретатели предлагают заменить органические светодиоды синего цвета неорганическими

Компания Universal Display получила патент на интересную разработку в области дисплеев OLED.

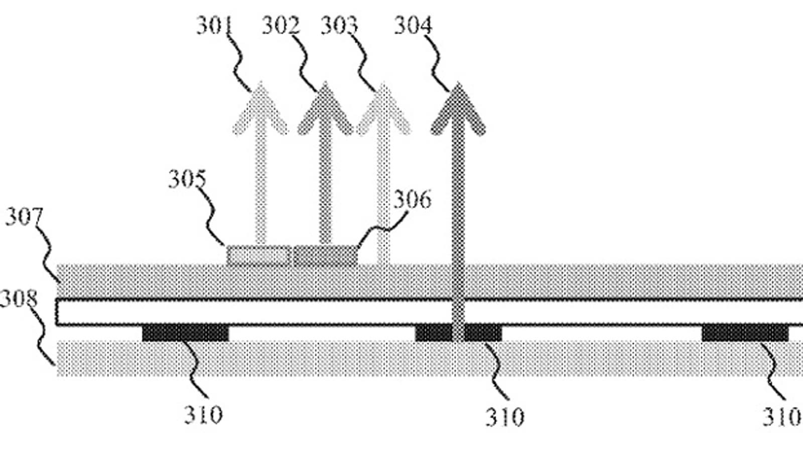
Как известно, слабым местом дисплеев OLED остается материал для органических светодиодов синего цвета, который по сроку службы уступает материалам для органических светодиодов двух других основных цветов. Изобретатели предлагают заменить органические светодиоды синего цвета неорганическими. В результате получится гибридный дисплей, в котором объединены две технологии. Точнее говоря, даже три, поскольку управлять свечением синих субпикселей должны миниатюрные затворы, изготовленные по технологии MEMS.

Свет синих светодиодов подсветки, расположенных в нижнем слое, будет проходить через снабженные затворами окошки синих субпикселей. В верхнем слое сформированы органические субпиксели красного и зеленого и желтого цветов.

О планах Universal Display по внедрению разработки пока сведений нет.

Источник: OLED-Info