Компания Nikon разрабатывает камеру с вентиляторным охлаждением
Компания Nikon недавно обнародовала патент в котором указывается разработка системы охлаждения с вентилятором для камер со сменными объективами. Если это патент будет реализован, это станет первым опытом Nikon в создании такой активной системы охлаждения, предназначенной для профессиональных беззеркальных камер, ориентированных на видеосъемку.
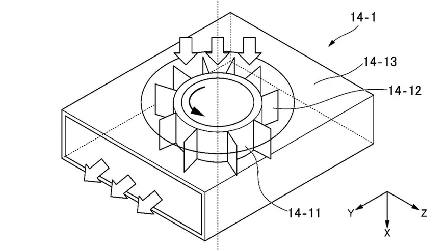
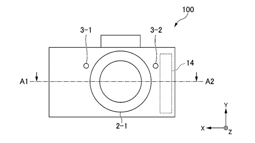
Патент P2026-53524A, обнародованный 25 марта в базе Японского патентного ведомства, детально описывает конструкцию камеры с байонетом для объективов, оснащенной вентиляторной системой теплоотвода. Эта система предназначена для отвода тепла от процессора в верхнюю переднюю часть корпуса камеры.
Наличие такой системы активного охлаждения крайне важно для обеспечения продолжительной записи видео с высокими параметрами, такими как 4K/8K разрешение и обработка изображения инструментами на основе ИИ, без риска перегрева.
Компания Nikon уже располагает флагманской моделью камеры с названием Z9, способной записывать видео в разрешении 8K (в форматах UHD и DCI) со скоростью до 60 кадров в секунду, а также 8K RAW, с максимальной продолжительностью записи до 225 минут.
Несмотря на внушительные показатели, максимальное время записи сокращается при увеличении частоты кадров и разрешения. Однако камера уровня Nikon Z9, оснащенная активным охлаждением, могла бы значительно увеличить это время, способствуя более стабильной видеосъемке.
Вполне вероятно, что система активного охлаждения, представленная в патенте P2026-53524A, будет интегрирована в будущую модель Nikon Z9 II. Следующее поколение флагманской камеры, как ожидается, предложит улучшенные кинематографические возможности, включая 12-битную запись R3D NE RAW (8.3K / 60p) с открытым затвором, что потребует эффективного теплоотвода.
Тем не менее пока это лишь предположения, поскольку Nikon пока не делала официальных заявлений.
Источник: digitalcameraworld





0 комментариев
Добавить комментарий