Почему после замены шин нужно делать развал-схождение: другие причины для этой процедуры
Многие автомобилисты хорошо знают, что такое развал-схождение, и после серьезного ремонта обязательно прибегают к этой процедуре. Однако такая банальная вещь, как замена шин, к примеру, с зимы на лето, тоже может потребовать настройки углов установки колес. Иначе вы можете столкнуться с неравномерным износом резины, некорректным управлением и увеличением расхода топлива. Вследствие чего вы, как автовладелец, можете «попасть» на дополнительные и ненужные расходы. Отличным примером несвоевременного проведения развал-схождения вы можете наблюдать на моем автомобиле на фото ниже. Поэтому я решил написать небольшую публикацию на эту тему, чтобы для себя и для вас, дорогие читатели, освежить знания в этом направлении. Мы рассмотрим, что такое развал-схождение, почему его нужно делать после замены шин, а также разберём другие ситуации, когда эта процедура обязательна.
Что такое развал-схождение
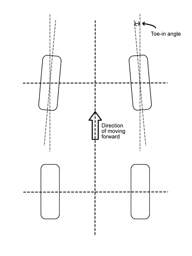
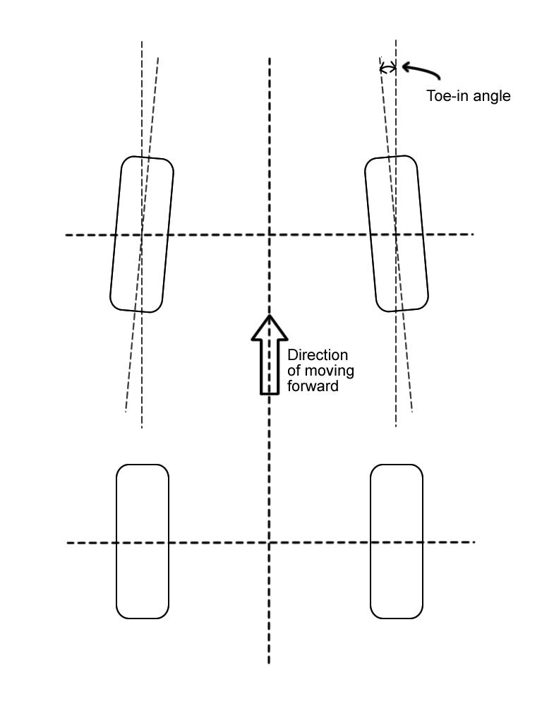
Развал-схождение — это два понятия, которые условно объединили в одно. Оба этих понятия отвечают за регулировку углов установки колес автомобиля. Развал — это угол наклона колеса относительно вертикального сечения и плоскости вращения колеса (при условии, что вы смотрите на автомобиль спереди).
В то время как схождение — это угол между направлением движения и плоскостью вращения колёсного диска. Оба этих параметра тщательно рассчитываются инженерами. Соотношение этих углов напрямую влияет на управляемость, устойчивость и стабильность автомобиля во время вождения.
Соответственно, если эти параметры находятся в штатных показателях, автомобиль максимально хорошо ведёт себя на дороге, при этом у него оптимальный расход топлива, штатный износ шин и нет дополнительного износа элементов ходовой. В случае нарушения развал-схождения колес мы получаем противоположный эффект и все вытекающие из этого проблемы.
Почему это важные параметры
Думаю, из вышесказанного всё и так понятно, но по логике систематизации публикации давайте ещё раз проговорим основные моменты. Правильная настройка развал-схождения обеспечивает следующие моменты:
- Регламентное, стабильное поведение автомобиля при движении.
- Предсказуемость в рулевом управлении.
- Равномерный, штатный износ шин на всех колесах.
- Штатный расход топлива.
- Снижение нагрузки на другие элементы подвески.
Нарушение углов установки колес неизбежно приведёт к множеству неприятных факторов. Автомобиль может уводить в одну или другую сторону при отсутствии воздействия на рулевое управление. Руль может стать как бы «тугим», или наоборот «мягким». А также добавятся другие вышеперечисленные негативные факторы.
Почему нужно делать регулировку углов наклона колес после замены шин или колес в целом
Многие знают, что развал-схождение нужно обязательно делать, если вы попали одним или несколькими колесами в яму, после ремонта ходовой и так далее. Но некоторые могут не знать или игнорировать тот факт, что при смене шин эту процедуру также нужно проводить. Обычно замена шин производится в межсезонье, и зачастую резина имеет разные размеры, но даже если размеры «зимы и лета» одинаковые, важно понимать следующие моменты:
- Новые шины будут иметь разные протекторы. Также изменяется эластичность и структура резины, что, скорее всего, будет влиять на геометрию контакта колес с дорогой.
- Если размеры шин разные, это неизбежно влияет на геометрию контакта с дорогой.
- При процедуре замены шин могут происходить небольшие изменения в посадке колес. Это особенно проявляется в случае замены дисков или их балансировки.
Помните, что при некорректной настройке развал-схождения новые шины будут очень быстро стираться в местах некорректного контакта с дорогой, что весьма обидно с учётом нынешних цен на резину.
При каком пробеге нужно делать диагностику вне зависимости от замены шин или других факторов
Даже если вы не меняли шины и не производили ремонт ходовой части автомобиля, на настройку углов наклона колес желательно, на мой взгляд, заезжать каждые 10 000 км пробега. Возможно, это покажется чрезмерным вниманием к данному аспекту, но вспомните, какие у нас местами дороги. С учётом этой поправки в некоторых регионах, в зависимости от того, по каким вы ездите дорогам, можно и чаще посещать диагностику. Особенно если у вас появились какие-либо признаки некорректного поведения авто, перечисленные выше.
Другие причины для проведения диагностики и регулировки
Помимо того, что уже было сказано, на регулировку углов наклона колес стоит обратить внимание, если:
- Увеличились люфты рулевого колеса, появилась задержка в отклике автомобиля на воздействие на руль.
- Заметно снизилась устойчивость автомобиля на поворотах (авто как бы выбрасывает наружу траекторию поворота).
- Производился ремонт рулевых тяг и других элементов ходовой.
- Проводился тюнинг подвески, в частности изменение клиренса.
Заключение
На мой взгляд, процедура настройки развал-схождения — это важный момент, которым не стоит пренебрегать. Тем более, что с учётом нынешних цен стоимость процедуры незначительная в сравнении с возможными дальнейшими расходами. В публикации я не претендую на абсолютную правоту, поэтому призываю опытных автомобилистов поделиться своим мнением на этот счёт в комментариях. Возможно, вам есть что добавить или скорректировать. Эта информация может быть полезна другим читателям. А на этом у меня всё, всем спасибо за внимание.





8 комментариев
Добавить комментарий
Добавить комментарий