Конференция
Блоги
Игры
Маркет
Про бизнес
Еще
Другие проекты
Конференция
Старейший и крупнейший в рунете форум о технике
Блоги
Впечатления о технике из первых рук на Блоги
Игры
Компьютерные игры и не только на Игры
Маркет
Скидки, купоны, тесты магазинов
ПроБизнес
Новости и обзоры решений для малого и среднего бизнеса
Мерч
IXBT
Войти
Новости
Статьи
Видеокарты и мониторы
Мобильные устройства
Ноутбуки и планшеты
Платформа ПК
Комфортный дом
Все темы
$refs.search?.focus())" aria-label="Очистить поиск" >
Статьи
Видеокарты и мониторы
iT-среда
Мобильные устройства
Ноутбуки и планшеты
Носители информации
Платформа ПК
Приложения и утилиты
Принтеры и периферия
Профессиональное аудио
Проекторы и ТВ
Сети и серверы
Hi-Fi и мультимедиа
Цифровое видео
Цифровое фото
Корпуса, БП и ИБП
Автомобили
Комфортный дом
Спецпроекты
Новости
Мобильные телефоны
Новости iXBT.com
Процессоры
Системные платы, память, чипсеты
Цифровое фото
Ноутбуки и планшеты
Программное обеспечение
Прошивки
Драйверы
Операционные системы
Игры
Основной
Прочее
Тестовые новости
Журнал CD – 1 часть
Журнал CD – 2 часть
Hardware general
Видео
Платформа
Хранение
Звук
Сеть
Изображения
Смартфоны и телефоны
Будущее
Другое
Мониторы
Прочее из Маркета
Стандартные новости
Локальные новости
Почтовый ящик
Транспорт и гаджеты
Цифровое фото
Цифровое видео
Сети и серверы
Игры для ПК
Прочее
Техника Apple
Приложения для Apple
Маркет Apple
Маркет Серверы
Мобильные телефоны
Настольные ПК
Пресс-релизы
Антивирусы и безопасность
Интернет
Мультимедиа
ПО для тестов
Другое
Новинки российского рынка
Назначения и оргструктура
Сделки
Итоги и планы
Акции для покупателей
Акции для партнёров
Мероприятия
Услуги
Игры для консолей
Телевизоры
Проекторы
Аудио
Ресиверы и усилители
Плееры и рекордеры
Спутниковая связь
Аксессуары (кабели, пульты ДУ)
Кино
Игровые консоли
Аксессуары для консолей
Игры для консолей
Внутренняя линейка
Прочее для консолей
Профессиональное аудио
Аудиоплееры
Навигаторы
Профессиональное аудио
Про Бизнес
Корпоративные принтеры и МФУ
Корпоративное сетевое оборудование
Готовые ПК и комплектующие
Домашние сети
Умная бытовая техника
Музыка
Видеокамеры
Портативные плееры
Устройства для видеомонтажа
КПК
Коммуникаторы
Смартфоны
Мобильные аксессуары
Скидки и предложения
Телеком
Концепты и тренды
Новости CISCO
Горячее железо
ПО для цифрового видео
Маркет цифрового видео
Тестирование железа
Видеокарты
Корпуса, системы питания и охлаждения
Носители информации
Прочие новости
Принтеры и периферия
Сети и серверы
Тестовые новости
Горячее железо
Авто и транспорт
Телевизоры и проекторы
Аудио и звук
Программное обеспечение
Комфортный дом
Цифровое видео
Законы и новости рынка
Новости про Honor
Honor
Honor
Shneider Electric
AppGallery
Huawei
Huawei AppGallery
Криптовалюты
Наука и космос
Военная техника
Авиация
Электротранспорт
Носимая электроника
Консоли и игры
Информационная безопасность
Финансы
Rustore
Искусственный интеллект
Новости
Сегодня
Лента
Мобильные телефоны
Новости iXBT.com
Процессоры
Системные платы, память, чипсеты
Цифровое фото
Ноутбуки и планшеты
Программное обеспечение
Прошивки
Драйверы
Операционные системы
Игры
Основной
Прочее
Тестовые новости
Журнал CD – 1 часть
Журнал CD – 2 часть
Hardware general
Видео
Платформа
Хранение
Звук
Сеть
Изображения
Смартфоны и телефоны
Будущее
Другое
Мониторы
Прочее из Маркета
Стандартные новости
Локальные новости
Почтовый ящик
Транспорт и гаджеты
Цифровое фото
Цифровое видео
Сети и серверы
Игры для ПК
Прочее
Техника Apple
Приложения для Apple
Маркет Apple
Маркет Серверы
Мобильные телефоны
Настольные ПК
Пресс-релизы
Антивирусы и безопасность
Интернет
Мультимедиа
ПО для тестов
Другое
Новинки российского рынка
Назначения и оргструктура
Сделки
Итоги и планы
Акции для покупателей
Акции для партнёров
Мероприятия
Услуги
Игры для консолей
Телевизоры
Проекторы
Аудио
Ресиверы и усилители
Плееры и рекордеры
Спутниковая связь
Аксессуары (кабели, пульты ДУ)
Кино
Игровые консоли
Аксессуары для консолей
Игры для консолей
Внутренняя линейка
Прочее для консолей
Профессиональное аудио
Аудиоплееры
Навигаторы
Профессиональное аудио
Про Бизнес
Корпоративные принтеры и МФУ
Корпоративное сетевое оборудован...
Готовые ПК и комплектующие
Домашние сети
Умная бытовая техника
Музыка
Видеокамеры
Портативные плееры
Устройства для видеомонтажа
КПК
Коммуникаторы
Смартфоны
Мобильные аксессуары
Скидки и предложения
Телеком
Концепты и тренды
Новости CISCO
Горячее железо
ПО для цифрового видео
Маркет цифрового видео
Тестирование железа
Видеокарты
Корпуса, системы питания и охлаж...
Носители информации
Прочие новости
Принтеры и периферия
Сети и серверы
Тестовые новости
Горячее железо
Авто и транспорт
Телевизоры и проекторы
Аудио и звук
Программное обеспечение
Комфортный дом
Цифровое видео
Законы и новости рынка
Новости про Honor
Honor
Honor
Shneider Electric
AppGallery
Huawei
Huawei AppGallery
Криптовалюты
Наука и космос
Военная техника
Авиация
Электротранспорт
Носимая электроника
Консоли и игры
Информационная безопасность
Финансы
Rustore
Искусственный интеллект
Статьи
Свежие
Видеокарты и мониторы
iT-среда
Мобильные устройства
Ноутбуки и планшеты
Носители информации
Платформа ПК
Приложения и утилиты
Принтеры и периферия
Профессиональное аудио
Проекторы и ТВ
Сети и серверы
Hi-Fi и мультимедиа
Цифровое видео
Цифровое фото
Корпуса, БП и ИБП
Автомобили
Комфортный дом
Спецпроекты
Наши проекты
Конференция
Остальные проекты
Блоги
Игры
Маркет
ПроБизнес
Новости
Цифровое фото
Новости по теме
Список
Цифровое фото
Загрузка...
Компактная фотокамера Panasonic Lumix DMC-FX78 оснащена сенсорным экраном и позволяет делать 3D-фотоснимки
Цифровое фото
0
27 янв 2011 08:59
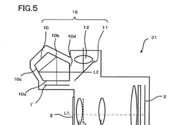
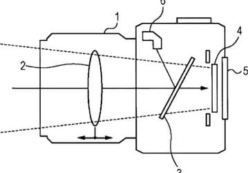
В Nikon придумали зеркальную камеру со встроенным проектором
Цифровое фото
0
27 янв 2011 01:15
Защищенная камера Panasonic Lumix DMC-FT3 выдерживает погружение на 12-метровую глубину
Цифровое фото
0
26 янв 2011 08:42
Samsung называет камеры ST95, ST90 и ST65 ультратонкими
Цифровое фото
0
24 янв 2011 14:40
Камера Sony Cyber-shot HX9V получит датчик разрешением 16,2 Мп и 16-кратный «зум»
Цифровое фото
0
24 янв 2011 11:11
Разрешение полнокадровой камеры Nikon D800 составит 18 Мп, а цена — $2000
Цифровое фото
0
22 янв 2011 16:45
Габариты камеры Samsung ST30 равны 82 x 52 x 17 мм
Цифровое фото
0
22 янв 2011 14:59
Samsung «упаковывает» цифровую фотокамеру ST6500 в необычный корпус
Цифровое фото
0
20 янв 2011 08:28
Tokina готовит два объектива системы Микро 4/3
Цифровое фото
0
18 янв 2011 08:00
Стала известна цена камеры Fujifilm FinePix X100
Цифровое фото
0
17 янв 2011 20:26
Серию камер в защищенном исполнении Olympus Tough пополнили модели TG-610 и TG-310
Цифровое фото
0
17 янв 2011 04:07
Sony анонсировала продажи пяти компактных камер разрешением 16,2 Мп
Цифровое фото
0
17 янв 2011 03:40
Начинаются продажи компактной камеры со сменными объективами Olympus E-PL2
Цифровое фото
0
17 янв 2011 02:37
Фотокамеры Panasonic Lumix DMC-FH27 и DMC-FH25 оснащены сенсорными экранами и 8-кратным оптическим зумом
Цифровое фото
0
14 янв 2011 20:46
Panasonic представила бюджетные цифровые фотокамеры Lumix DMC-S3 и DMC-S1
Цифровое фото
0
14 янв 2011 19:15
Panasonic комплектует компактные цифровые фотокамеры Lumix DMC-FP7 и DMC-FP5 сенсорными экранами
Цифровое фото
0
13 янв 2011 20:56
Модельный ряд цифровых фотокамер Canon A Series пополнился пятью новинками
Цифровое фото
0
13 янв 2011 20:46
Sony выпускает внешний дисплей CLM-V55 для цифровых зеркальных камер
Цифровое фото
0
13 янв 2011 12:40
Камера Nikon D400 может получить датчик разрешением 24 Мп
Цифровое фото
0
12 янв 2011 11:33
Kodak пополняет семейство камер Easyshare моделями Touch, Mini and Sport
Цифровое фото
0
11 янв 2011 19:52
Olympus отмечает 10-летие серии камер SP выпуском модели SP-610UZ с 22-кратным «зумом»
Цифровое фото
0
11 янв 2011 12:05
XZ-1: новый флагман линейки компактных камер Olympus
Цифровое фото
0
11 янв 2011 07:00
Компактная камера Olympus VR-310 получила трансфокатор с ЭФР 24-240 мм
Цифровое фото
0
11 янв 2011 00:51
Fujifilm выпускает квартет компактных камер серии FinePix A: AV200, AV250, AX300 и AX350
Цифровое фото
0
09 янв 2011 20:56
Цифровой фотоаппарат Kodak Easyshare Max Z990 оснащен 30-кратным оптическим трансфокатором
Цифровое фото
0
09 янв 2011 17:00
PlanOn Slimscan претендует на звание самого тонкого сканера в мире
Цифровое фото
0
09 янв 2011 15:44
Fujifilm пополняет серию камер J моделями JV200, JV250, JX300, JX350 и JX400
Цифровое фото
0
07 янв 2011 13:08
Стильная камера Fujifilm FinePix Z90 с сенсорным дисплеем доступна в шести цветовых вариантах
Цифровое фото
0
07 янв 2011 08:00
Nikon патентует оптический интерфейс между камерой и объективом
Цифровое фото
0
06 янв 2011 19:01
Fujifilm FinePix XP30 — камера в усиленном исполнении получила GPS
Цифровое фото
0
06 янв 2011 15:12
Fujifilm называет FinePix T300 самой тонкой в мире камерой с 10-кратным трансфокатором
Цифровое фото
0
06 янв 2011 12:31
Анонсирована камера Fujifilm FinePix S2950 с 18-кратным трансфокатором
Цифровое фото
0
06 янв 2011 10:51
Samsung оснастила цифровую камеру SH100 встроенным адаптером Wi-Fi
Цифровое фото
0
05 янв 2011 22:53
Серия камер Fujifilm с электронными видоискателями пополнилась моделями S3200, S3300, S3400 и S4000
Цифровое фото
0
05 янв 2011 22:12
Камера Fujifilm FinePix HS20 EXR пришла на смену FinePix HS10 EXR
Цифровое фото
0
05 янв 2011 16:58
Камера Fujifilm FinePix F550 EXR стала наследницей модели FinePix F300 EXR
Цифровое фото
0
05 янв 2011 14:42
Olympus привезет на CES камеру XZ-1 с объективом 28-112mm f/1.8-2.5
Цифровое фото
0
03 янв 2011 17:14
Объектив Samsung NX 60mm f/2.8 Macro ED OIS SSA предназначен для макросъемки
Цифровое фото
0
03 янв 2011 14:14
На выставке CES будет представлена камера Olympus E-PL2
Цифровое фото
0
02 янв 2011 23:55
Появилось фото и технические данные объектива Samsung 85mm f/1.4 NX
Цифровое фото
0
31 дек 2010 18:43
Samsung наделила беззеркальную камеру NX11 поддержкой технологии i-Function
Цифровое фото
0
30 дек 2010 08:23
Samsung оснастила цифровую фотокамеру WB700 объективом с 18-кратным оптическим трансфокатором
Цифровое фото
0
29 дек 2010 16:39
Sony выделяет 1,2 млрд долларов на удвоение выпуска датчиков изображения
Цифровое фото
0
28 дек 2010 12:39
Poco Pro — ультратонкая цифровая камера с экраном AMOLED
Цифровое фото
0
27 дек 2010 09:15
Фотокамера Rollei Power Flex 3D оснащена двумя объективами, позволяет делать 3D-снимки
Цифровое фото
0
27 дек 2010 08:34
Однокристальная система Ambarella iOne предназначена для камер под управлением Android
Цифровое фото
Процессоры
0
24 дек 2010 11:35
Sony хочет убрать из зеркальных камер видоискатель
Цифровое фото
0
22 дек 2010 12:05
Дизайнер предложил отказаться в камерах от карт памяти
Цифровое фото
0
22 дек 2010 10:39
Появились предварительные сведения о камере Nikon D5500
Цифровое фото
0
19 дек 2010 11:47
Olympus патентует модульные камеры
Цифровое фото
0
15 дек 2010 12:52
Показано с
4501
по
4550
из
6659
результатов
1
2
...
88
89
90
91
92
93
94
...
133
134
Видео