Конференция
Блоги
Игры
Маркет
Про бизнес
Еще
Другие проекты
Конференция
Старейший и крупнейший в рунете форум о технике
Блоги
Впечатления о технике из первых рук на Блоги
Игры
Компьютерные игры и не только на Игры
Маркет
Скидки, купоны, тесты магазинов
ПроБизнес
Новости и обзоры решений для малого и среднего бизнеса
Мерч
IXBT
Войти
Новости
Статьи
Видеокарты и мониторы
Мобильные устройства
Ноутбуки и планшеты
Платформа ПК
Комфортный дом
Все темы
$refs.search?.focus())" aria-label="Очистить поиск" >
Статьи
Видеокарты и мониторы
iT-среда
Мобильные устройства
Ноутбуки и планшеты
Носители информации
Платформа ПК
Приложения и утилиты
Принтеры и периферия
Профессиональное аудио
Проекторы и ТВ
Сети и серверы
Hi-Fi и мультимедиа
Цифровое видео
Цифровое фото
Корпуса, БП и ИБП
Автомобили
Комфортный дом
Новости
Процессоры
Системные платы, память, чипсеты
Цифровое фото
Ноутбуки и планшеты
Мониторы
Техника Apple
Мобильные телефоны
Настольные ПК
Видеокарты
Корпуса, системы питания и охлаждения
Носители информации
Прочие новости
Принтеры и периферия
Сети и серверы
Авто и транспорт
Телевизоры и проекторы
Аудио и звук
Программное обеспечение
Комфортный дом
Цифровое видео
Законы и новости рынка
Криптовалюты
Наука и космос
Авиация
Электротранспорт
Носимая электроника
Консоли и игры
Информационная безопасность
Финансы
Искусственный интеллект
Новости
Сегодня
Лента
Процессоры
Системные платы, память, чипсеты
Цифровое фото
Ноутбуки и планшеты
Мониторы
Техника Apple
Мобильные телефоны
Настольные ПК
Видеокарты
Корпуса, системы питания и охлаж...
Носители информации
Прочие новости
Принтеры и периферия
Сети и серверы
Авто и транспорт
Телевизоры и проекторы
Аудио и звук
Программное обеспечение
Комфортный дом
Цифровое видео
Законы и новости рынка
Криптовалюты
Наука и космос
Авиация
Электротранспорт
Носимая электроника
Консоли и игры
Информационная безопасность
Финансы
Искусственный интеллект
Статьи
Свежие
Видеокарты и мониторы
iT-среда
Мобильные устройства
Ноутбуки и планшеты
Носители информации
Платформа ПК
Приложения и утилиты
Принтеры и периферия
Профессиональное аудио
Проекторы и ТВ
Сети и серверы
Hi-Fi и мультимедиа
Цифровое видео
Цифровое фото
Корпуса, БП и ИБП
Автомобили
Комфортный дом
Наши проекты
Конференция
Остальные проекты
Блоги
Игры
Маркет
ПроБизнес
Новости
06 августа 2019
Новости за дату
Список
Все категории
Загрузка...
Компания Intel напомнила о процессоре с 56 ядрами и TDP 400 Вт
Процессоры Intel Xeon Scalable следующего поколения (Cooper Lake) должны стать доступны в первой половине 2020 года
Процессоры
62
06 авг 2019 19:34
Samsung Galaxy Note10 не сможет улучшить результат Galaxy Note8
Такой прогноз сделали аналитики Counterpoint
Мобильные телефоны
5
06 авг 2019 19:18
Китай предупредил Индию об ответных санкциях в случае давления на Huawei
В ближайшие месяцы Индия должна провести конкурс на развертывание сотовой сети 5G
Прочие новости
20
06 авг 2019 18:57
Дороже только iPhone. Стали известны цены на Samsung Galaxy Note10 и Note10+ в России
Заметно дороже Galaxy Note9 на старте продаж
Мобильные телефоны
55
06 авг 2019 18:25
Optimus Ride запускает первую в Нью-Йорке коммерческую систему пассажирских перевозок с использованием самоуправляемых транспортных средств
Начиная с завтрашнего дня, на маршрут выйдет шесть самоуправляемых микроавтобусов
Авто и транспорт
6
06 авг 2019 18:21
Плата ASRock X570 Phantom Gaming рассчитана на системы охлаждения для процессоров Intel
Точки крепления окружают гнездо AM4
Системные платы, память, чипсеты
12
06 авг 2019 17:49
Фото запечатлело целые коробки со смартфонами Samsung Galaxy Note10+ 5G
В коробках упакованы смартфоны в трех цветах: Aura White, Aura Black и Aura Glow.
Мобильные телефоны
9
06 авг 2019 17:46
Без перехода на Android 10. Прошивка MIUI добавляет смартфоном Xiaomi новые функции
В MIUI 9.8.5 появились двойные часы и двойной Wi-Fi
Мобильные телефоны
101
06 авг 2019 17:45
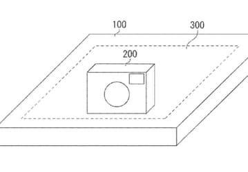
В Canon изобрели беспроводную зарядку
Заявка была подана в американское патентное бюро в 2016 году
Прочие новости
7
06 авг 2019 17:12
В России и почти по всему миру. Смартфоны Samsung оказались быстрее Huawei и Apple
Сравнение проводилось в 40 странах
Мобильные телефоны
23
06 авг 2019 17:07
Лиза Су собирается уйти из AMD и уже готовит преемника. Обновлено:реакция Лизы Су
Лиза Су прокомментировала слух в твиттере
Прочие новости
30
06 авг 2019 16:36
64-ядерный процессор AMD Epyc 7742 обошел более дорогой 28-ядерный Xeon Platinum 8280 по тестам OpenBenchmarking
При этом цена Epyc 7742 должна оказаться даже ниже
Процессоры
23
06 авг 2019 15:41
Похоже, новый флагман OnePlus внешне не отличается от OnePlus 7 Pro
В ENAA появился новый смартфон OnePlus, который очень сильно похож на OnePlus 7 Pro
Мобильные телефоны
2
06 авг 2019 15:35
Первые тесты показали, насколько обновлённая консоль Nintendo Switch автономнее предшественницы
Весьма существенно
Прочие новости
7
06 авг 2019 15:20
В следующем году Google сделает поставки всех своих товаров углеродно-нейтральными
А с 2022 года вся продукция Google будет использовать переработанные материалы
Прочие новости
25
06 авг 2019 15:05
Huawei Y9 Prime (2019) получил финальную версию EMUI 9.1
Пользователей ждет улучшенная производительность и плавность работы операционной системы в целом, новые иконки и обои рабочего стола
Мобильные телефоны
0
06 авг 2019 15:02
В cмартфоне Redmi K20 обнаружилась водозащита, ее эффективность продемонстрирована красочным видеороликом
Redmi K20 и K20 Pro не должны повреждаться во время дождя
Мобильные телефоны
5
06 авг 2019 14:49
Смартфоны Redmi S2 и Redmi Y2 обновили до Android 9 Pie
Размер новой прошивки составляет 1,4 ГБ, она повышает версию MIUI до V10.3.3
Программное обеспечение
3
06 авг 2019 14:36
Новый флагман Xiaomi на платформе Snapdragon 855 Plus и с модемом 5G уже на подходе
Директор по новым продуктам Xiaomi просит «проявить немного терпения»
Мобильные телефоны
7
06 авг 2019 14:17
Metabones выпускает серию адаптеров Speed Booster для карманной камеры Blackmagic Design 4K
Они позволят устанавливать на эту камеру формата Micro Four Thirds объективы Nikon G, Canon EF, Canon EF Cine и Arri PL
Цифровое видео
3
06 авг 2019 14:10
Windows 10 может получить функцию восстановления из облака
Сейчас такая доступна только владельцам устройств Surface
Программное обеспечение
8
06 авг 2019 13:51
Вместо Apple Music и Spotify. Сбербанк запустит собственный музыкальный сервис
Переговоры ведутся со Zvooq, «Яндекс.Музыкой» и Mail.ru Group
Прочие новости
23
06 авг 2019 13:48
В Эйндховене создан раскладной «зеленый» генератор для фестивалей
Первое практическое испытание пройдет на следующей неделе, на фестивале Пуккельпоп
Корпуса, системы питания и охлаждения
72
06 авг 2019 13:43
Рынок планшетов сокращается, продажи планшетов Apple — растут, но не так быстро, как продажи планшетов Amazon
По подсчетам IDC, в минувшем квартале было отгружено 32,2 млн планшетов — на 5% меньше, чем год назад
Техника Apple
Мобильные телефоны
26
06 авг 2019 13:13
Отличия Flyme 8 от Flyme 7 на примере Meizu 16s
Стоит отметить, что изменения видны, но их нельзя назвать радикальными
Программное обеспечение
5
06 авг 2019 12:51
Samsung Galaxy Note10+ предстал на живом фото
Новая флагманская линейка Samsung будет представлена уже завтра
Мобильные телефоны
6
06 авг 2019 12:32
Merck и Universal Display Corporation договорились вместе развивать технологию OLED
Два ключевых участника отрасли объединяют усилия, чтобы ускорить разработки
Прочие новости
4
06 авг 2019 12:27
Качественные изображения Huawei Mate 30 Pro в чехле. Нет разъема 3,5 мм, зато есть странный динамик на задней панели
Изображения были предоставлены производителем аксессуаров, который готовит к выпуску чехлы, созданные на базе этих трехмерных моделей
Мобильные телефоны
5
06 авг 2019 12:15
По прогнозу Juniper Research, в 2024 году будет выпущено 74 млн потребительских роботов
За пять лет поставки вырастут на 168%
Прочие новости
2
06 авг 2019 12:10
LG дразнит анонсом двухэкранного смартфона
Модель LG V60 ThinQ покажут 6 сентября
Мобильные телефоны
3
06 авг 2019 12:09
Твердотельные накопители Western Digital Ultrastar DC SN640 и SN340 с поддержкой NVMe предназначены для центров обработки данных
В них используется 96-слойная флеш-память 3D NAND
Носители информации
5
06 авг 2019 11:56
Huawei P30 и P30 Pro ощутимо подешевели
Huawei P30 стал доступнее на $43, а P30 Pro — на $70
Мобильные телефоны
22
06 авг 2019 11:42
Минус 8 млн iPhone. Такое падение продаж ожидается в США
Акции компании Apple продолжают падать
Мобильные телефоны
39
06 авг 2019 11:37
Производитель портативных аккумуляторов Xiaomi выпустил мощный фонарик
Максимальная дальность света составляет 110 метров
Мобильные телефоны
20
06 авг 2019 11:11
Идентичные по размерам, но различающиеся по массе почти вдвое: представлены системы охлаждения Cryorig C7 RGB и C7 G
C7 RGB весит 357 г, а C7 G — 673,5 г
Корпуса, системы питания и охлаждения
0
06 авг 2019 11:11
Самые качественные изображения Huawei Mate 30 демонстрируют неожиданные моменты в дизайне
Такое дизайнерское решение по расположение второго стереодинамика является новым для данной линейки смартфонов
Мобильные телефоны
26
06 авг 2019 10:53
Траектории спотовых и контрактных цены на DRAM разошлись
Контрактные цены в июле снизились более чем на 10%
Системные платы, память, чипсеты
3
06 авг 2019 10:41
Компилятор Huawei Ark стал временно доступен для свободной загрузки
Huawei открыла исходный код компилятора
Программное обеспечение
12
06 авг 2019 10:41
Официальный постер EMUI 10 подтверждает дату анонса оболочки
EMUI 10 будет изначально установлена в смартфонах Huawei Mate 30 и Huawei Mate 30 Pro
Мобильные телефоны
5
06 авг 2019 10:10
Samsung Electronics выпускает первый твердотельный накопитель, в котором используется флеш-память V-NAND шестого поколения с более чем 100 слоями
В накопителе объемом 250 ГБ используются микросхемы плотностью 256 Гбит, способные хранить три бита в каждой ячейке
Носители информации
14
06 авг 2019 10:09
Нужны ли 2 ТБ памяти смартфону. Samsung Galaxy Note10+ поддерживает карты памяти до 1 ТБ
Мобильные телефоны
26
06 авг 2019 09:49
Samsung Galaxy A71 и Galaxy A91 выйдут уже в ноябре 2019
Эти смартфоны ожидались только в следующем году.
Мобильные телефоны
0
06 авг 2019 09:29
Рик Бергман вернулся в AMD после восьмилетнего отсутствия
Он занял пост вице-президента по вычислительной технике и графике
Прочие новости
15
06 авг 2019 09:25
Фотография отмененной версии Xiaomi Mi CC9
Менее чем через месяц после начала продаж цена смартфона уже была снижена
Мобильные телефоны
2
06 авг 2019 09:15
Фото дня: телевизор Honor Smart Screen с операционной системой Hongmeng
На экране показан раздел настроек, в котором есть такие пункты, как настройка звука, подключенные устройства, управление учетной записью
Мобильные телефоны
8
06 авг 2019 09:05
Xiaomi Mi Mix 4 с 45-ваттной зарядкой прошел сертификацию
Выход Xiaomi Mi Mix 4 ожидается в этом квартале
Мобильные телефоны
0
06 авг 2019 08:57
Твердотельные накопители Kingston Digital A2000 выпускаются объемом до 1 ТБ
SSD типоразмера M.2 оснащен интерфейсом PCIe Gen 3.0 x4
Носители информации
4
06 авг 2019 00:19
Раньше
2019-08-06
Позже
Видео