Конференция
Блоги
Игры
Маркет
Про бизнес
Еще
Другие проекты
Конференция
Старейший и крупнейший в рунете форум о технике
Блоги
Впечатления о технике из первых рук на Блоги
Игры
Компьютерные игры и не только на Игры
Маркет
Скидки, купоны, тесты магазинов
ПроБизнес
Новости и обзоры решений для малого и среднего бизнеса
Мерч
IXBT
Войти
Новости
Статьи
Видеокарты и мониторы
Мобильные устройства
Ноутбуки и планшеты
Платформа ПК
Комфортный дом
Все темы
$refs.search?.focus())" aria-label="Очистить поиск" >
Статьи
Видеокарты и мониторы
iT-среда
Мобильные устройства
Ноутбуки и планшеты
Носители информации
Платформа ПК
Приложения и утилиты
Принтеры и периферия
Профессиональное аудио
Проекторы и ТВ
Сети и серверы
Hi-Fi и мультимедиа
Цифровое видео
Цифровое фото
Корпуса, БП и ИБП
Автомобили
Комфортный дом
Новости
Процессоры
Системные платы, память, чипсеты
Цифровое фото
Ноутбуки и планшеты
Мониторы
Техника Apple
Мобильные телефоны
Настольные ПК
Видеокарты
Корпуса, системы питания и охлаждения
Носители информации
Прочие новости
Принтеры и периферия
Сети и серверы
Авто и транспорт
Телевизоры и проекторы
Аудио и звук
Программное обеспечение
Комфортный дом
Цифровое видео
Законы и новости рынка
Криптовалюты
Наука и космос
Авиация
Электротранспорт
Носимая электроника
Консоли и игры
Информационная безопасность
Финансы
Искусственный интеллект
Новости
Сегодня
Лента
Процессоры
Системные платы, память, чипсеты
Цифровое фото
Ноутбуки и планшеты
Мониторы
Техника Apple
Мобильные телефоны
Настольные ПК
Видеокарты
Корпуса, системы питания и охлаж...
Носители информации
Прочие новости
Принтеры и периферия
Сети и серверы
Авто и транспорт
Телевизоры и проекторы
Аудио и звук
Программное обеспечение
Комфортный дом
Цифровое видео
Законы и новости рынка
Криптовалюты
Наука и космос
Авиация
Электротранспорт
Носимая электроника
Консоли и игры
Информационная безопасность
Финансы
Искусственный интеллект
Статьи
Свежие
Видеокарты и мониторы
iT-среда
Мобильные устройства
Ноутбуки и планшеты
Носители информации
Платформа ПК
Приложения и утилиты
Принтеры и периферия
Профессиональное аудио
Проекторы и ТВ
Сети и серверы
Hi-Fi и мультимедиа
Цифровое видео
Цифровое фото
Корпуса, БП и ИБП
Автомобили
Комфортный дом
Наши проекты
Конференция
Остальные проекты
Блоги
Игры
Маркет
ПроБизнес
Новости
28 сентября 2016
Новости за дату
Список
Все категории
Загрузка...
Nvidia представила SoC Xavier с GPU поколения Volta. Но предназначена она для автомобильного рынка и выйдет лишь в 2018 году
SoC Nvidia Xavier содержит 7 млрд транзисторов
Процессоры
0
28 сен 2016 19:25
Начало продаж камеры Fujifilm X-A3 отложено
Камера Fujifilm X-A3 в комплекте с объективом Fujinon XC16-50mm F3.5-5.6 OIS II стоит $600
Цифровое фото
0
28 сен 2016 19:08
Искусственный интеллект позволит удвоить темп экономического роста в развитых странах, уверены аналитики Accenture
Искусственный интеллект позволит к 2035 году повысить производительность труда на 40%
Прочие новости
0
28 сен 2016 18:40
Qualcomm Snapdragon 410E и Snapdragon 600E — новые старые однокристальные системы, но теперь для встраиваемых решений
SoC Qualcomm Snapdragon 410E и Snapdragon 600E предназначены для встраиваемых решений
Прочие новости
0
28 сен 2016 18:16
Aitech A176 Cyclone — малогабаритный суперкомпьютер в усиленном исполнении с пассивным охлаждением
Производительность Aitech A176 Cyclone равна 1 TFLOPS, потребляемая мощность — 17 Вт
Прочие новости
0
28 сен 2016 18:04
Huawei намерена использовать ОС Tizen для своих будущих умных часов
Новые умные часы Huawei будут работать под управлением Tizen
Прочие новости
0
28 сен 2016 17:55
Ещё одной легендой стало меньше. Компания BlackBerry больше не будет разрабатывать смартфоны
BlackBerry отчиталась за второй квартала 2017 года
Прочие новости
0
28 сен 2016 17:38
Обновление Redstone 2 для ОС Windows 10 Mobile будет нацелено в первую очередь на корпоративный рынок
В апреле 2017 года Microsoft выпустит обновление для мобильной ОС
Прочие новости
0
28 сен 2016 17:07
Первые видеокарты Nvidia поколения Volta появятся на рынке лишь в 2018 году
Видеокарты Nvidia Volta будут нести память GDDR6 и HBM3
Видеокарты
0
28 сен 2016 16:35
Водителям Калифорнии практически полностью запретили использовать мобильные телефоны во время движения
Водители Калифорнии могут прикасаться к телефонам лишь один раз
Прочие новости
0
28 сен 2016 15:50
Миссия на Марс. Илон Маск рассказал о том, как SpaceX планирует колонизировать Красную планету
На создание полноценной колонии на Красной планете, по плану Маска, должно уйти от 40 до 100 лет
Прочие новости
0
28 сен 2016 15:17
Самоходные кресла Nissan ProPILOT Chair автоматически двигаются в очереди
Появление кресел Nissan ProPILOT Chair в широкой продаже не планируется
Прочие новости
0
28 сен 2016 14:10
Начат сбор средств на «первую в мире носимую игровую платформу» SuperSuit
SuperSuit состоит из трех компонентов: жилета SuperVest, перчатки SuperGlove и отделяемого модуля SuperBot
Прочие новости
0
28 сен 2016 13:35
Смартфон Xiaomi Mi 5S получил более трех миллионов заявок менее чем за сутки
Магазины пока не следуют рекомендациям производителя
Прочие новости
0
28 сен 2016 12:21
Илон Маск планирует снизить время трансатлантического перелета до 10 минут
В большинство наиболее популярных городов мира ракета, стартовавшая их США, доберется в течение 25 минут
Прочие новости
0
28 сен 2016 11:37
Игровая приставка Nintendo NX будет состоять из трёх отдельных компонентов
Консоль Nintendo NX обойдётся в $350
Прочие новости
0
28 сен 2016 11:19
Бывшие сотрудники Apple выпустили беспроводную систему заднего вида для старых автомобилей
Прочие новости
0
28 сен 2016 10:28
Специалисты Hitachi научили автомобиль придерживаться выбранной полосы движения, даже если разметка не видна
Принцип работы Lane Mark Fusion построен на использовании ранее сохраненного изображения с камер
Прочие новости
0
28 сен 2016 10:03
В госучреждениях Москвы почтовый сервис Microsoft будет заменен отечественным аналогом «МойОфис»
Также правительство прорабатывает возможность отказа от ОС Windows
0
28 сен 2016 10:01
Поступило сообщение о взрыве смартфона Samsung Galaxy Note7 из новой партии
В пресс-службе Samsung заявили, что они продолжают общаться с клиентом, но никаких выводов без смартфона на руках сделать не могут
Прочие новости
0
28 сен 2016 09:41
Названа цена и дата начала продаж объектива Sony FE 70-200mm F2.8 GM OSS
Объектив Sony FE 70-200mm F2.8 GM OSS был анонсирован в феврале
Цифровое фото
0
28 сен 2016 09:24
Источники сообщают о смартфонах Meizu Pro 6S и Pro 6 Plus
Meizu работает над обновленным дизайном, который позволит полностью скрыть полоски антенн
Прочие новости
0
28 сен 2016 09:13
Внешний оптический привод I-O Data BRP-UT6/MC толщиной 11 мм рассчитан на подключение к разъему USB-С
Привод I-O Data BRP-UT6/MC поддерживает диски CD, DVD и BD
Носители информации
0
28 сен 2016 09:02
Смартфон Cubot Manito оснащен SoC MT6737 и 3 ГБ ОЗУ при цене $100
Смартфон оснащен 13-мегапиксельной тыловой камерой Samsung с диафрагмой F/2,0
Прочие новости
0
28 сен 2016 09:01
NZXT S340 Elite — компьютерный корпус форм-фактора Midi-Tower для любителей VR-развлечений
NZXT S340 Elite имеет несколько отличий от ранее выпущенных моделей
Корпуса, системы питания и охлаждения
0
28 сен 2016 08:45
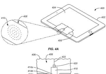
Apple запатентовала оптический разъем, который может сменить порт Lightning
Авторы изобретения уточняют, что разъем может иметь несколько отверстий
Прочие новости
Техника Apple
0
28 сен 2016 08:37
Компьютерная техника Apple возглавила рейтинг удовлетворенности американских пользователей 13-й год подряд
Сильнее всех в рейтинге скакнула компания Acer, которая поднялась на четвертое место
Прочие новости
0
28 сен 2016 08:23
90% пользователей Samsung Galaxy Note7 предпочли замену денежной компенсации
На данной стадии в рамках программы заменено более 60% смартфонов, которые были проданы в США и Южной Корее
Прочие новости
0
28 сен 2016 08:02
На системной плате Asus J3455M-E установлена однокристальная система Intel Celeron J3455
Системная плата Asus J3455M-E оснащена тремя слотами расширения
Системные платы, память, чипсеты
0
28 сен 2016 08:01
Самый крупный в мире радиотелескоп FAST начал работу
Запущен 500-метровый радиотелескоп FAST
Прочие новости
0
28 сен 2016 08:00
Производитель объяснил, почему ультразвуковой дактилоскопический датчик смартфона Xiaomi Mi 5S оказался видимым
Ультразвуковой сканер находится в том же месте, что и старый, только он работает быстрее
Прочие новости
0
28 сен 2016 07:51
Смартфон-раскладушка Samsung SM-W2017 оснащен SoC Snapdragon 820 и 4 ГБ ОЗУ
Вполне возможно, речь идет о той же камере, которая используется в Galaxy S7, Galaxy S7 Edge и Galaxy Note 7
Прочие новости
0
28 сен 2016 07:41
EVGA представила видеокарты GeForce GTX 1080 FTW Hybrid и GeForce GTX 1070 FTW Hybrid
Макстмальная частота GPU EVGA GeForce GTX 1080 FTW Hybrid — 1860 МГц, GeForce GTX 1070 FTW Hybrid — 1797
Видеокарты
0
28 сен 2016 07:40
Версия Android 7.0 Nougat оказалась самой нестабильной, ошибки при работе с сетью в ней возникают в 2,5 раза чаще, чем в iOS 10
Пока версия Android 7.0 Nougat установлена всего на 0,2% всех устройств с ОС Android
Прочие новости
Техника Apple
0
28 сен 2016 07:39
Встраиваемые видеоускорители AMD Radeon E9260 и E9550 основаны на GPU Polaris
AMD пополнила семейство карт Radeon Embedded
Видеокарты
0
28 сен 2016 07:35
YouTube Go — специальная версия сервиса для рынка Индии, позволяющая просматривать видео в автономном режиме
Сервис YouTube Go разрабатывался специально для Индии
Прочие новости
0
28 сен 2016 07:15
Представлены IP-ядра ARM CoreLink CMN-600 и CoreLink DMC-620
IP-ядро ARM CoreLink CMN-600 предназначено для внутренней связи, CoreLink DMC-620 — контроллер памяти
Прочие новости
0
28 сен 2016 07:00
Анализатор Breathometer Mint за $100 оценит дыхание изо рта и оповестит об уровне болезнетворных бактерий
Breathometer Mint анализирует дыхание изо рта
Прочие новости
0
28 сен 2016 07:00
По энергетической эффективности процессор NXP i.MX 6ULL на 30% превосходит ближайшего конкурента
NXP i.MX 6ULL — процессор на базе ARM Cortex-A7 с наименьшим в отрасли энергопотреблением
Процессоры
0
28 сен 2016 06:50
Раньше
2016-09-28
Позже
Видео