Звуковая карта AW754 от AOpen
Введение
Наши постоянные читатели уже знают о звуковых картах на базе чипов YMF724 и YMF744 от Yamaha по множеству статей, вышедших на iXBT и сейчас "дремлющих" в разделе Мультимедиа. Однако на рынке присутствуют также множество плат и на самом последнем чипе из этой линейки — YMF754. Одну из таких плат, AW754 от фирмы AOpen (www.aopen.ru, www.aopen.com.tw), мы и рассмотрим в этом обзоре. Но прежде, очень рекомендуется прочесть нашу прошлогоднюю объёмную статью про AOpen AW744 (соавтором которой по части MIDI также являлся ваш покорный слуга), так как сами чипы и карты на них отличаются чисто косметически. В этой статье мы попытаемся отвлечься от шаблонов по написанию статей такого рода и провести время с пользой. :) В этом труде освещаются некоторые вопросы, оставшиеся в тени в предыдущих материалах, как о серии чипов YMF7×4, так и звуковых картах в целом.
AOpen AW754
Карта попала в нашу тестовую лабораторию в OEM-варианте (в пакетике и лишь с комплектным CD). Что поделать — в нашей стране такая поставка является пока наиболее предпочитаемой как продавцами, так и покупателями.

Это самый урезанный и дешёвый вариант платы. Отсутствует цифровой оптический выход, хотя место под его распайку оставлено (оптический выход присутствует только у моделей AOpen с маркировкой Pro/Deluxe). По идее, эта плата может также быть укомплектована дочерней платой от AOpen, с расположенными на ней цифровыми входами и подключаемыми к разъёму S/PDIF in. По крайней мере, у меня плата исправно работала со всеми цифровыми входами, а так же нету никаких блокировок в драйверах на этот счёт.
Технические характеристики
| Аудио контроллер | Yamaha YMF754 (DS-1E) |
| Аудио кодек | SigmaTel STAC9708 |
| Количество аудио линейных выходов | четыре (два на фронт, два на тыл) |
| Количество цифровых выходов | ни одного у этой модели конкретно, (один оптический, у моделей AOpen с маркировкой Pro/Deluxe) |
| Количество цифровых входов | два, один из них предназначен для дочерней интерфейсной платы |
| Воспроизведение звуковой дорожки DVD | программный даунмиксинг на 4 канала (напр. в Power DVD, WinDVD) |
| Синтезатор MIDI | 676 XG инструментов в 2 МБ нерасширяемом банке, 64-х голосая полифония аппаратно, 1-голосая полифония Sondius-XG программно |
| Эффект-процессор MIDI | программный, XG reverb, chorus, variations |
| Обработка звука в реальном времени | довольно шумный эхо/ревербератор для микрофонного входа |
| Игровые 3D интерфейсы | поддержка посредством Sensaura: DirectSound3D, A3D 1.0, EAX 1.0 |
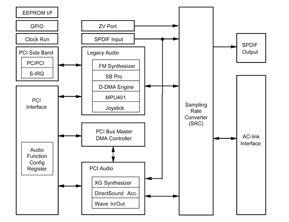
Что же интересного находится внутри у YMF754?
Аудио чип YMF754 (внутрифирменное название DS-1E) представляет из себя высокопроизводительный аудио контроллер (в терминах стандарта AC'97) для шины PCI. Чип структурно состоит он из двух раздельных функциональных блоков — PCI Audio и Legacy Audio (такая схема характерна для всей линейки 7×4):

Блок PCI Audio обеспечивает 64-голосую полифонию для аппаратного XG wavetable синтезатора (банк, кстати, тот же самый, как и во всей серии 7×4, то есть около 2 МБ объёмом, распаковываемый на лету в 6 МБ) и эффектов (reverb, chorus, variation), реализованных софтовым путём через драйвера. Этот же блок обеспечивает DirectSound акселерацию.
Legacy Audio блок занимается поддержкой различных вспомогательных функций. Таких как: FM синтезатор, совместимость с Sound Blaster Pro, поддержка работы MIDI порта (MPU401) и джойстика. Все эти функции поддерживаются в "чистом DOS-е", по уверению Ямахи, без нужды в каких либо драйверах.
YMF754 спроектирован в полном соответствии с Intel-овским стандартом AC'97. Таким образом, он соединяется с AC'97 кодеками по шине AC-Link, и позволяет применять различные варианты для компоновки плат — как с одним стерео выходом, так и с двумя (на фронтальные и на тыловые колонки).
Специально для тех, кто уже начал засыпать от обилие непонятных значков и ссылок на спецификации, перевожу на русский разговорный. Не надо потом спрашивать в конференциях: "А как же звучит этот 754 чип? Круче чем какой-либо другой (724/744, Vortex или EMU10K) или не круче?"
Ответ скрыт в предыдущем абзаце и выглядит обескураживающе. Не один из этих чипов не умеет воспроизводить музыку и влияет на качество воспроизведения опосредованно (его задача лишь не испоганить звук изначально в цифре). Дело в том, что последние года три все новые звуковые чипы отделены от преобразователей (АЦП и ЦАП) цифровой шиной AC-Link:
Так что вопрос о сравнении качества звучания, скажем, Live! vs. Vortex2 в общем случае можно перефразировать следующим образом: "Что звучит лучше — SigmaTel или SigmaTel?" :) Более серьёзные исследования влияния на качество звучания различных элементов цифро-аналоговой цепочки карты, с привлечением точных количественных измерений подобного влияния, будут затронуты в одной из моих ближайших статей.
Конкретно 744 и 754 поддерживают либо один стерео кодек, либо 2 стерео-кодека, либо один четырёхканальный кодек (как на данной плате). То есть 6-колоночная плата на 7×4 невозможна впринципе. Кстати, частота шины AC-link по стандарту AC'97 фиксирована на 48 кГц. Так что обычно все сигналы разных частот (22 кГц, 32 кГц, 44,1 кГц и т.п.) на выходе чипа преобразуются в единую частоту 48 кГц. Эта частота была выбрана фирмой Intel при разработке спецификации с ориентацией на DVD. На ней же работают все AC'97 кодеки.
Теоретически, по 48 кГц передать 44,1 кГц без передискретизации проблем не составляет (со слов узких спецов в этом деле, такой режим предусмотрен у некоторых относительно дорогих приёмо-передатчиков). Достаточно поставить буфер на приёмной части и передавать 44,1 с большей скоростью, а потом, в кодеке, тактующим сигнал от своей частоты, производить сборку сигнала. Однако в копеечных звуковых платах так не поступают. Ибо проинтерполировав один раз с приличной математикой на современных DSP, стоящих в аудио-контроллерах, и подмешав псевдо-шумы, можно добиться достаточно неплохого результата, не слишком различимого на слух даже на средней Hi-Fi аппаратуре (не говоря о пластмассовых чебурашках, которых я так люблю). Для семи наиболее популярных частот, являющихся производными от 44,1 и 48, AC'97 настоятельно рекомендует иметь подобный пересчёт (даже аббревиатура такая есть специальная, SRC — sample rate converting) аппаратно, на уровне пары аудио чип / аудио кодек.
Давайте заодно рассмотрим, как устроен современный кодек и что он позволяет подключать к себе внутри и снаружи компьютера:
Как мы видим, все аналоговые выходы и входы замыкаются на кодеке. То есть кодек в первую очередь и определяет звучание карты (что и требовалось доказать).
Что касается цифровых выходов (как электрических RCA S/PDIF, так и оптических Toslink), то, несмотря на приведённую Intel-овскую схему, обычно отвод идёт непосредственно от аудио контроллера, то бишь звукового чипа.
Вот и в этом случае, сигнал снимается с 77-й ноги YMF754 и уходит в место под разъём. К сожалению, данная модификация платы его не имеет. Я попробовал аккуратно впаяться сам (на самом деле там должен находиться оптический выход), но присоединённая таким экстравагантным образом SBLive!4830 сигнал не увидела, как это не печально. Не исключаю, что не помешало бы наличие какой-нибудь согласующей микрухи с обвязкой, но это уже сложнее и сути дела для рядового человека не меняет... Отсюда делаем вывод: надёжнее купить-таки плату с заводским способом изготовленным цифровым выходом.
Однако, вернёмся к нашему YMF754. Чем же он лучше своего предшественника электрически? Как и 744, он поддерживает потребительский стандарт IEC958 цифрового интерфейса SPDIF. В отличие же от чипа YMF744B (DS-1S), 754-й поддерживает прямую запись с SPDIF In, и в то же время не занимает ресурсы SPDIF In при работе Zoomed Video Port. А также, Yamaha декларирует разительную разницу в энергопотреблении. Оказывается, 754-й потребляет много меньше энергии даже при обычных операциях, не говоря уже о режиме Standby. Наверное это круто, но заметить или проверить такую информацию довольно сложно. :)
DS-1E поддерживает PC/PCI и D-DMA протоколы для эмуляции DMA в стиле SB Pro на шине PCI. А также поддерживается старая система прерываний, использующих шину ISA и стандартный протокол Serialized IRQ. Что сулит нам опять таки поддержку всех игр в голом DOS-е и говорит нам о том, что чип разрабатывался года 3-4 назад, когда это было очень актуально. Но я, лично, играть в чистом ДОС-е не советую, ибо, если уж на то пошло, в Windows-е, в DOS-окне, можно использовать намного приятнее звучащий встроенный в карту XG MIDI-синтезатор, (если, конечно, в игре присутствует опция General MIDI).
Установка и комплектные утилиты
Завязываем с теорией, а то во взглядах у читателей чувствуется лёгкое застекленение и острое желание "нажать на перемотку" (в терминах просмотра занудных фильмов).
Так как карта даже с большой натяжкой не относится к Hi-End категории, я, на всякий случай, приготовился к битве с драйверами. К моему удивлению, всё поставилось как по маслу. А после перезагрузки, при входе в Винды, компьютер выдал мне следующий экран:

То есть сразу же было можно проверить правильность подключения акустики и работоспособность карты. Придумка, надо заметить, оригинальная.
В трее появился фирменный AOpen-овский значок, на котором я бы хотел остановиться поподробнее. Не секрет, что многие фирмы своими фирменными утилитами пытаются изобрести велосипед (и все это делают по-своему), дабы оправдать оказанное пользователем доверие. Ну так вот, это была, наверное, первая за последний год утилитка в трее, которую мне не захотелось вышвырнуть из трея раз и навсегда. И хотя пару пунктов я всё же удалил бы, остальные оказались весьма полезными.
Например, стандартная утилита DS-XG Audio Config от Yamaha, вызываемая при выборе пункта AW754 Config, доступная также из Контрольной Панели, однако я не могу назвать себя фанатом часто "бегать на панель" (обращаю внимание, что приведённый рисунок, для экономии места, представляет собой анимированный GIF, для просмотра следует включить эту опцию у Вас в браузере):

Но особо интересна фирменная утилита AOpen AW754 Advanced Options, содержащая настройку и диагностику работы цифровых входов и выходов (здесь также применён animated GIF):

Отмечу также удобную возможность всего двумя щелчками мыши проверить, не вышли ли новые драйвера от фирмы:

И, в случае нахождения нового драйвера, утилита предлагает скачать его к себе на машину (выбрав сервер из списка):

Короче говоря, подобный сервис за такие деньги можно назвать совсем недурным.
Тесты на качество звучания
Итак, после длинной теоретической части, мы уже знаем (ну или смутно догадываемся), что качество звука определяет в основном кодек и его аналоговая обвязка на плате (главным образом линейные буферы, операционники и кондёры). Кодек, применённый на плате, оказался нашим старым знакомым — SigmaTel STAC9708. Ну что же, если этот кодек не побоялись поставить в Aureal SuperQuad Digital и недавно вышедший Creative SBLive! Platinum 5.1, то есть шанс, что звук, идущий с кодека, будет не слишком отличающимся от приведённых более дорогих звуковых карт (по крайней мере, того же порядка). Обвязочка кодека сделана по-минимуму, что сулит одновременно и свои плюсы, и свои минусы.
Приведу спектрограмму сравнения AOpen AW754 и моей референсной SBLive! Value 4830 (кодек Creative CT1297-TAT и Philips 1330A — фронт и тыл соответственно). Перезапись сигнала через микшер кодека. Синусоида в 15кГц@-3дБ была создана в SoundForge 4.5.

Из спектрограммы видно, что спектр шумов (noise floor) кодека у AOpen AW754 расположен совсем рядом со спектром шумов кодека Лайва, находящегося в режиме Digital Only (при подмешивании в сигнал псевдошумов).
Измерения с линейного выхода на линейный вход приводить не буду, так как входные характеристики АЦП зарубят довольно неплохой ЦАП. Судите сами, даже по спецификации, Signal-to-noise Ratio (EIAJ CP-307): D/A 85 dBA, A/D 75 dBA.
Слуховые тесты не выявили каких либо артифактов в звучании AW754. Хорошее звучание плата продемонстрировала на деревянных колонках Radiotechnika S-30B (30 Вт PHC на 8 Ом, 50-20000 Гц ±10 дБ) и усилителе ОДА-102 (двухблочный, транзисторный, 10 Вт). Если у Вас что-то похожее, ну или, по крайней мере, по звучанию не лучше, чем деревянные системы начального уровня, то эта карточка будет удачным и сбалансированным решением для Вас.
Дальнейшие тесты на ресивере Onkyo TX-DS484 (DD5.1, DTS, ЦАПы 24бит/96кГц, 5x75Вт PHC 6 Ом, 5Гц-100кГц +0…-3дБ) и английских Hi-End колонках JPW ML510i (2×75 Вт RMS, 6 Ом, 89 дБ/Вт на 1м, 60-22000Гц ±3дБ):

также не выявили каких-либо сюрпризов. Оттенки звучания AW754 с линейного выхода были такими же тусклыми и плоскими, как и у большинства компьютерных звуковых карт (звук одновременно выводился с компьютера и в цифровом виде, для сравнения, при мгновенной коммутации источника сигнала с пульта ДУ на ресивере). Жаль, не удалось подать сигнал по цифре и оценить качество работы встроенного в 754-й чип аппаратного SRC. Это тем более обидно, смотря на обилие цифровых настроек в закладках.
В отличае от некоторых довольно именитых, но всё же странных производителей, AOpen догадалась снабдить своё изделие хотя бы ознакомительной версией WinDVD (по крайней мере так было у тестового экземпляра, а это вселяет надежду). Звуковая дорожка в фильмах DVD исправно декодировалась софтовыми плеерами WinDVD 2.2 и PowerDVD 3.0. К звуку, опять же, претензий не было. Но на сегодня, хотелось бы увидеть уже и 6-ти колоночные решения в этой ценовой категории.
Скажу пару слов ещё и об игровых возможностях карты. Мне, как и любому нормальному человеку совершенно всё равно, скольки битные кодеки стоят на карте, если она играет моно и шумит, или сколько DirectSound потоков поддерживает карта, если при этом звук похож на музыку из граммофона. Здесь же, качество трёхмерного звука в играх определялось лишь одним словом — Sensaura. Кто слышал, тот поймет, о чём я. Иные же будут тешить себя надеждами, что в дешёвом решении можно совместить все популярные 3D интерфейсы без потери производительности и качества. И мне, пока, нравится всего лишь одна игра годовалой давности, где EAX 1.0 через алгоритмы Sensaura классно себя проявляет и затыкает за пояс знаменитый A3D на Vortex2, с его так же недоделанной эмуляцией EAX. Игрушка называется Crusaders of Might & Magic (кстати, довольно бездарно и халявно выполненная по сути своей). Для того, чтобы насладиться трехмерными эффектами присутствия достаточно загрузить себе демку из Инэта этой проклонированной Diablo, но уже в 3D пространстве. Бедным обладателям же полной версии игры я советовал бы поскорее дойти до второго и третьего этапов, ибо только там начинается само хоть какое-то динамичное действо и возможность оценить технологию EAX в действии.
Про MIDI всё что можно, было уже сказано в предыдущей статье про AW744 (там даже есть файл, демонстрирующий технологию Sondius-XG в действии, написанный вашим покорным слугой). В комплекте с этой картой шли стандартные демонстрационные программы от Yamaha с коллекциями широко известных XG MIDI-файлов. Их также можно найти по адресу www.yamaha-xg.com. Сравнения звучания карт в MIDI (Yamaha&XG vs. Live&SF2 vs. Aureal&БольшойГлюк) вы могли уже прочитать, скачать и послушать в моей статье про SBLive! Platinum. Ещё раз подведу итог в оценке звучания XG MIDI в серии карт на базе YMF7×4. Очень классно для дома, для семьи (караоке, DOS-игры) и начинающих электронных музыкантов (можно вдоволь покрутить крутилки в разные стороны и, поиздевавшись над тембрами, попробовать "найти свой саунд").
Заключение
Несмотря на то, что я приступал к тестированию это звуковой карты без особого восторга, AOpen AW754 приятно меня удивила, и получила оценку гораздо ближе к "must have", нежели к "must die".
Достоинства:
- Последний из 7×4 серии чип от Yamaha
- Удобные утилиты от AOpen
- Не самый захудышный кодек STAC9708
- Хорошее для такой карты аппаратное MIDI
- Хорошая подборка софта на компакте
Недостатки:
- Отсутствие цифрового выхода (у этого экземпляра конкретно)
- Работающая только в Win98 технология Sondius-XG
- Отсутствие возможности расширения по цифровым выходам
Резюме: данное изделие — отличное бюджетное решение. Возможно, самое универсальное за свои деньги. Не зря серия чипов YMF7×4 получила награду от iXBT "Бюджетный звуковой чип 2000 года" .