Sony запатентовала контроллер без кнопок и стиков, который может изменить подход к управлению в PS6
В недавней патентной документации Sony описано новое устройство, которое может изменить представление о базовом управлении в играх следующего поколения.
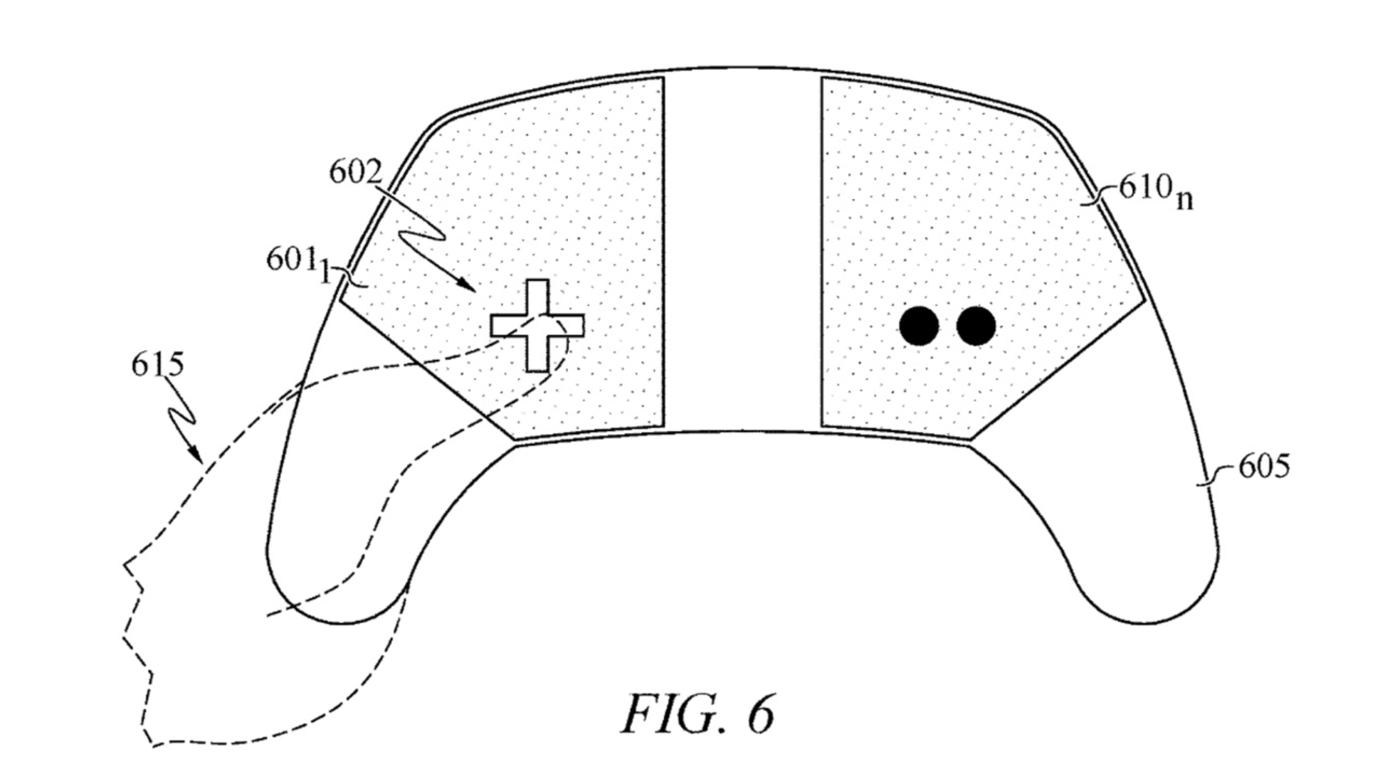
В открытых источниках появился новый патент Sony, посвященный экспериментальной конструкции игрового контроллера. Документ демонстрирует вариант устройства без привычных элементов ввода. В описании отсутствуют физические кнопки, аналоговые стики и триггеры. Все взаимодействие с играми предлагается реализовать через сенсорную поверхность с виртуальной схемой управления.
На фоне разрозненных утечек о характеристиках PS6 именно контроллер остается наименее понятной частью будущей платформы. Обнаруженный патент, на который обратили внимание пользователи социальных сетей и профильных сообществ, указывает на возможную эволюцию DualSense. В отличие от актуальной модели для PS5, новый вариант делает ставку на емкостное сенсорное управление, способное изменять расположение виртуальных элементов в зависимости от того, как пользователь держит устройство.


Согласно опубликованным материалам, ключевая идея заключается в адаптации под руки разного размера. Отказ от фиксированных кнопок позволяет системе подстраиваться под положение пальцев в реальном времени. В патенте упоминаются специальные опорные точки, которые используются для отслеживания движений и корректировки зон ввода во время игры.
По принципу работы такой контроллер напоминает сенсорное управление, применяемое в мобильных проектах. При этом виртуальные элементы не привязаны к строго заданным координатам и могут смещаться при изменении хвата. Также заявлена поддержка жестов, включая смахивания и сжатие. Подобные функции уже частично реализованы в DualSense для PS5 за счет встроенной сенсорной панели, однако в новом варианте они должны стать основой всей системы управления.
Как и в случае с другими патентами, регистрация документа не означает обязательного выпуска устройства в коммерческом виде. Тем не менее сам факт подачи заявки показывает, что компания рассматривает сенсорный контроллер без механических элементов как одно из возможных направлений для PS6.
Параллельно компания изучает и другие нетипичные решения для периферии. В одном из ранее выявленных патентов описывается использование отсеков с жидкостью внутри корпуса контроллера. В такой конструкции тактильная отдача формируется за счет изменения гидравлического давления, а не стандартных вибромоторов. При этом в документации отмечаются и потенциальные сложности, связанные с надежностью подобных систем.
В совокупности патентные материалы указывают на активную работу Sony над альтернативными форматами игровых контроллеров для будущих консолей.
Источник: Notebookcheck





7 комментариев
Добавить комментарий
Если я допустим на обычном джойстике не мискликну случайно, потому что знаю и вижу где находятся кнопки то тут они «динамически» изменяются… Значит и мискликнуть во время каточки в какую-либо онлайн-игрушку можно что ли? Сомнительное решение, нужно много работать над такой технологией иначе получится очередная шляпа. Да и если твои подушечки пальцев будут потеть — как будет вести себя сенсор?? На телефонах бывает что во время потной каточки твои подушечки пальцев потеют и сенсор начинает жить своей жизнью, производители конечно борются с этим и обновляясь на новый телефон год за годом я наблюдаю, что таких ситуаций всё меньше, но как тут будет?
Так много вопросов… Но покажет будущее, может еще доработают, будем следить за новостями
Добавить комментарий