Apple запатентовала чехол для iPhone и iPad, который может заметно улучшить качество спутниковой связи
Apple подала патент на чехол с поддержкой спутниковой связи, который описывает аксессуар с дополнительными антеннами и раскрывает конструкцию устройства.
В базе патентных заявок обнаружен документ компании датированный 2024 годом в котором описан аксессуар для мобильной техники, способный усиливать прием сигнала со спутников. Речь идет о съемном чехле для смартфонов и планшетов оснащенном встроенной антенной системой повышенной эффективности.
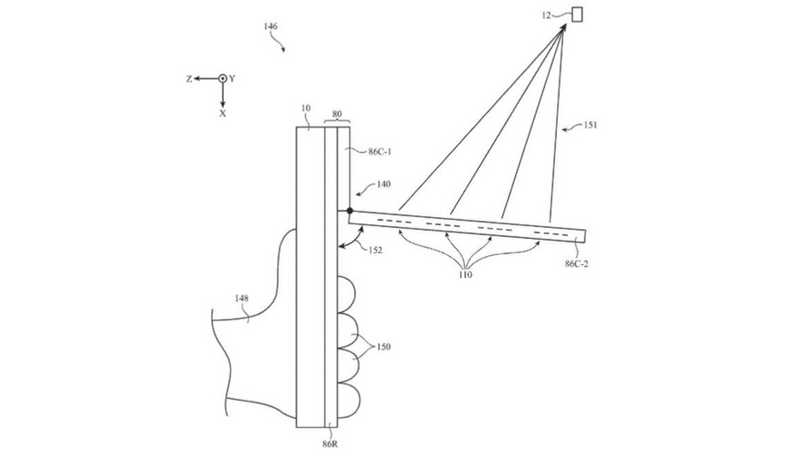
Согласно техническому описанию внутри корпуса размещена фазированная антенная решетка. Она вынесена в отдельный откидной сегмент. Пользователь может развернуть этот элемент так чтобы он был направлен в сторону неба. Предполагается что такое положение улучшает стабильность соединения со спутниковыми сетями. Конструкция также снижает влияние рук на качество приема поскольку основная антенная часть отделена от зоны хвата.
В материалах указано что аксессуар способен работать одновременно с несколькими спутниками. Передача данных по замыслу инженеров может выполняться через радиочастотный интерфейс соединенный с устройством. В числе альтернативных вариантов взаимодействия упоминаются беспроводные каналы ближнего действия включая NFC.
Схемы показывают что изделие рассчитано на установку и снятие без инструментов и не требует вмешательства в конструкцию самого устройства. Форм фактор соответствует обычным защитным чехлам хотя внутри размещены дополнительные радиокомпоненты.
Патентная документация фиксирует инженерную концепцию и технические решения. Регистрация подобных заявок используется компаниями для защиты разработок и не означает обязательный выпуск продукта на рынок. В представленных материалах отсутствуют сведения о сроках возможного появления аксессуара или о планах коммерческого производства.
Источник: Gsmarena





0 комментариев
Добавить комментарий
Добавить комментарий