Американцы изобрели колесо. General Motors подали патент на гибридные металлокомпозитные колеса
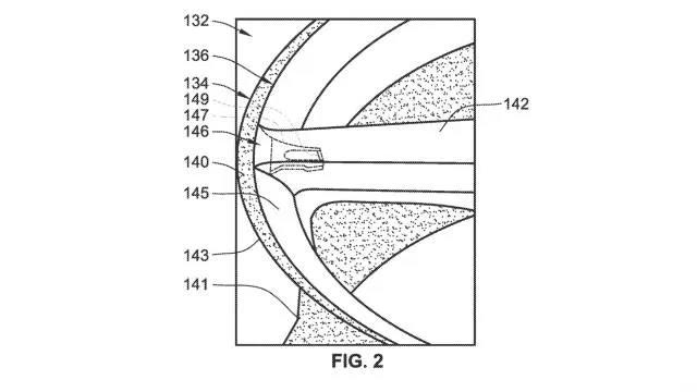
В ведомстве по патентам и товарным знакам Америки засветилась новая патентная заявка на автомобильные диски выполненные из комбинированных материалов. Таким образом, готовое изделие имеет меньший вес и стоимость, хотя выполнено из металла в комбинации с композитным материалом. В большинстве случаев автомобильное колесо изготавливается из алюминия или стали, во время отливания или ковки. Новая конструкция колеса выполнена таким образом, что металлические элементы совмещены с армированным волокном полимера FRP.
Ступица будет выполнена из металла, а все наружные элементы, спицы и обод из стеклопластика со специальными компонентами. Особая конструкция спиц будет выглядеть как слоёный пирог из пластика снаружи и металлической вставки внутри. Соединение металлического корпуса и композитных деталей будут осуществлять с помощью клея, болтовых соединений или во время заливки детали пластиком.


Многие производители спорткаров уже используют автомобильные диски из углепластика, но в компании General Motors считают, что гибридная конструкция диско более надёжная и и должна выдерживать большие нагрузки.
Источник: https://www.kron4.com





0 комментариев
Добавить комментарий