Удачный USB-контейнер для 2.5″ винчестеров
«Парад суверенитетов» продолжается, господа! В последнее время стало так много изготовителей контейнеров для внешнего подключения жестких дисков форм-фактора 2,5 дюйма при помощи интерфейсов USB, FireWire и даже Serial ATA, что даже все вместе взятые производители материнских плат и видеокарт не смогут превысить их числом. К сожалению, этого нельзя сказать об «умении» — тут «выпускникам» контейнеров есть еще чему поучиться. И хотя от наплыва таких «кейсиков» для винчестеров и самих портативных внешних накопителей уже глаза рябит на компьютерных выставках, рынках и в некоторых профильных магазинах (а среди наших коллег, компьютерных обозревателей, находятся и такие, кто тестирует/обозревает практически все попадающиеся им на глаза продукты такого класса — зачастую в ущерб изделиям других категорий), «тенденция, однако» налицо, и с нашей стороны было бы неправильным эту тенденцию замалчивать и обходить такие продукты стороной только оттого, что стоят они «с ноготок» и «предельно просты» в конструкции и эксплуатации.
Безусловно, мы не собираемся уподобляться тем, кто «строгает» обзоры по внешним контейнерам и накопителям чуть ли не еженедельно, но все же постараемся по мере нашего видения этого вопроса продолжать знакомить вас с наиболее, на наш взгляд, интересными, удобными или просто знаковыми продуктами данной категории. За истекшие полгода нашего (и вашего — с нашей подачи ;)) внимания были удостоены три продукта данного класса (согласитесь, не так уж много):
- AgeStar IUB2O1 — миниатюрный корпус с интерфейсом USB для жёстких дисков форм-фактора 2,5″ : почти идеальное бюджетное решение по следам знаменитого ZIV
- Портативный внешний винчестер Prestigio Mobile Data Safe — привлекательная внешне, но не очень быстрая модель
- Thermaltake Muse 2.5″ (A2291) — еще один именитый USB-контейнер для ноутбучных жестких дисков
В каждом из них есть «своя изюминка», которая и подвигла нас на обзор: два последних продукта выделяются своим громким именем и весьма «элитным» (дорогим, престижным) внешним видом, хотя по скорости, цене и ряду других параметров они все же не самые-самые. Первый фигурант — контейнер AgeStar IUB2O1 (и его расплодившиеся безымянные близнецы) — выгодно выделяется из сонма аналогичных продуктов тем, что предлагает вполне достойную скорость и типичную («необходимо-достаточную») функциональность при минимальной (фактически — «смешной») цене. При этом является он самым легким и самым миниатюрным изделием данного класса, наследуя лучшие традиции от знаменитого родоначальника таких контейнеров — серии накопителей ZIV.

Герой этой статьи NS2601(TW2504) (на фото) относится к той же «категории интересности», что и AgeStar IUB2O1 — обладая очень компактными размерами, привлекательным внешним видом, рядом конструктивных преимуществ по сравнению с IUB2O1 и вполне достойной скоростью он «предлагает свои услуги» по размещению вашего бесценного 2,5-дюймового накопителя по цене, еще более смешной, чем у AgeStar IUB2O1. Я честно, не поверил своим ушам, когда услышал (из первых уст, бегая по недавно прошедшей Computex 2006), что за полный коробочный вариант этого кейсика (со всеми причиндалами) тайваньский (не китайский) производитель просит всего 3 (три!) доллара США. Понятно, что это для оптовой партии и без учета затрат на таможню и транспортировку. И на российских прилавках это будет стоить больше ровно настолько, насколько хватит умения и совести у дистрибьюторов и дилеров :). Но пройти мимо такого продукта у меня просто духу не хватило, и после «уплаты по счету» контейнер перекочевал в мою сумку, а затем — и на испытательный стенд.
Упаковка и комплектация
Начнем в этот раз с одёжки. В типичной небольшой (размером 180×130×40 мм) безымянной картонной коробке с центральным окошком, предназначенной для всего ассортимента подобных контейнеров этой компании с различными интерфейсами,

и поэтому несущей только универсальное название «2,5″ Hard Disk Enclosure» и универсальные же спецификации (на многих языках),


находятся сам контейнер, конвертик к нему из кожзаменителя, USB-кабель, руководство пользователя, компакт-диск и крепеж с отверткой.

Последняя явно не лишняя, поскольку шурупчики очень маленькие (со спичечную головку), и сходу найти крестовую отвертку для таких саморезов сможет не каждый.

И хотя для крепления (сборки) контейнера требуется всего 2 шурупа, производитель предусмотрительно поставляет 3 шурупа. Оценить эту «заботу о пользователе» я смог в первую минуту — при начальной сборке накопителя едва видимый глазом саморез внезапно выскользнул из-под отвертки и исчез под массивной мебелью. Поэтому запасной крепеж сразу пошел в дело (самостоятельно подобрать такой же саморезик, думаю, — задачка для обывателя не из простых).
Комплектный мини-CD содержит драйверы для операционных систем Windows 98 и MacOS, заботливо предупреждая, что для более новых Windows установки драйверов не требуется.

Бумажный мануал тоже оказался на удивление не халтурным, подробно описывая все тонкости сборки и инсталляции устройства.
«Кожаный» чехольчик позволяет пользоваться контейнером, не вынимая его.

Метровый USB-кабель имеет отвод для подачи дополнительного питания от второго USB-порта компьютера, если вдруг с единственным USB-портом будут проблемы при старте/раскрутке винчестера.

Впрочем, я предпочитаю пользоваться для подобных устройств собственным более компактным и удобным в переноске 20-сантиметровым кабелем,

который, кстати, в розницу обошелся всего вдвое дешевле, чем сам контейнер Truewin NS2601 со всеми его причиндалами. ;)
Внешний вид и конструкция
Итак, первое достоинство контейнера NS2601(TW2504) (и ему подобных из этой же серии) — это небольшие размеры и вес. Габариты нашего героя составляют 120×76×13 мм, что лишь на пару миллиметров больше, чем у рекордсмена AgeStar IUB2O1 (118×72×11 мм) и ему подобных,

но заметно меньше, чем у большинства других «инклож» для 2,5-дюймовых жестких дисков. Да и по весу наш герой едва тяжелее, чем IUB2O1 (под рукой не было точных весов, чтобы выявить единицы граммов разницы), хотя «вручную» (то есть на ладони) этой разницы не ощущается вовсе. Небольшая разница между ними чувствуется только по толщине (хотя у NS2601 она все равно заметно меньше, чем у большинства других контейнеров).

Впрочем, о паре «лишних» миллиметров толщины и остальных габаритов почти сразу забываешь благодаря очень комфортным скруглениям корпуса по бокам и с переднего торца.
Да и толщина эта, как оказывается, вовсе не зря «ест» свои пару миллиметров: если для IUB2O1 стенки у двух алюминиевых половинок корпуса всего-то по 0,6 мм, и они плотно обжимают со всех сторон размещенный внутри винчестер, так что любое нажатие на крышку контейнера сверху давит практически напрямую и на сам диск (уже не говоря об отсутствии какой-либо дополнительной ударозащиты), то у NS2601 дело с этим обстоит совсем по-другому.
Во-первых, корпус представляет собой цельный алюминиевый «профиль» (по-видимому, аккуратно и намертво сваренный из двух половинок) — с толщиной стенок 1 мм, так что пальцами его просто так не продавишь.

Внутреннее пространство корпуса по толщине (почти 11 мм) явно превосходит типичную толщину современных 2,5-дюймовых винчестеров (около 9,5 мм), так что даже если сильно (в разумных пределах, естественно :)) давить пальцами на корпус контейнера сверху и снизу по центру, это давление не передается на винчестер! (А давление на весь корпус плашмя может быть очень большим, поскольку в этом случае его принимают на себя скругленные края корпуса.)

(Кстати, на этой фотографии наиболее адекватно реальности получился голубоватый цвет корпуса.)
Не передается давление на диск и потому, что винчестер вообще не касается металлического корпуса контейнера NS2601, поскольку здесь винчестер зажат только между двумя пластмассовыми боковинами корпуса,

а боковины, в свою очередь, конструкционно обеспечивают примерно фиксированный зазор между диском и металлическим корпусом.


В результате, такая конструкция не только весьма стойка к давлению и статическим деформациям, но и защищает винчестер при ударах, поскольку пластмассовые вставки частично амортизируют резкие толчки. Более того, винчестеру не страшны здесь и электрические воздействия (статический заряд или попадание напряжения на корпус контейнера), поскольку диск фактически надежно изолирован от металлического корпуса пластмассовыми боковинами и воздушной прослойкой. И всем этим контейнер NS2601/TW2504 выгодно отличается от AgeStar IUB2O1 и многих других «инклож» для 2,5-дюймовых дисков.
Недостатка здесь, на мой взгляд, лишь два, но не «смертельных». :) Во-первых, сборка корпуса требует двух винтовых креплений миниатюрными (см. выше) саморезами, так что особо часто его не поразбираешь (да и надо ли?). А во-вторых, охлаждение диска внутри возложено только на воздушную прослойку, поскольку корпуса винчестер не касается. Хотя в интенсивной работе (даже в условиях рекордно жаркого московского июня 2006 года) я какого-либо критичного перегрева диска внутри не заметил (в ноутбуке такой же диск грелся явно больше).
Помимо выгодного конструктива и малых размеров контейнер NS2601 отличает и весьма стильный вид корпуса (см. фото выше). Конечно, он не такой суперстильный, как у некоторых именитых и дорогих аналогов вроде отмеченных выше в наших предыдущих обзорах, но все же явно способен поспорить за вкусовые предпочтения пользователей со многими другими продуктами данного класса. И точно приятнее, чем AgeStar IUB2O1 и аналогичные ZIV. И этому в немалой мере способствует «литой» металлический корпус со скругленными углами, почти зеркальной продольной микротекстурой и симметричными мини-выемками на верхней крышке. Картину довершает голубоватое покрытие корпуса (анодирование, а не стойкая лакокраска), причем как снаружи, так и внутри, почти точный цвет которой даже в условиях естественного солнечного освещения мне удалось передать лишь на одной фотографии (см. выше).
Электронная начинка контейнера незамысловата. Печатная плата NS2601 по форме размерам почти в точности повторяет таковую для AgeStar IUB2O1 (они вверху и внизу на этом фото соответственно).

Однако по компоновке и радиоэлементам эти платы немного различаются. В частности, у NS2601 для индикации используется голубой светодиод, который тускло горит, когда питание включено, и ярко мигает синхронно с обращениями к диску. Используется интерфейс EIDE, хотя в том же корпусе производителем заявлены и SATA-варианты.
Печатная плата намертво вклеена в пластмассовую боковину корпуса NS2601, так что полностью ее отснять мне не удалось.

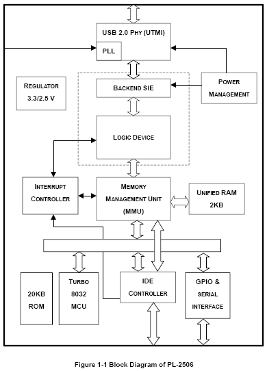
Но микросхему преобразователя интерфейсов IDE-USB определить все же получилось — это универсальный мост PL-2506 с трехвольтовым питанием от тайваньской компании Prolific.

Хотя текущая ревизия спецификаций PL-2506 и датирована июнем 2005 года (v1.0 была от января 2005 г.), это не самый свежий чип IDE2USB от Prolific, в арсенале которой есть и микросхема PL-2507, а также комбинированный мост PL-3507 USB+FireWire to IDE. Впрочем, как указывается в спецификациях на NS2601, в этом контейнере может использоваться не только PL-2506A, но и PL-2507, или другой аналогичный контроллер — GL811E от Genesys Logic, который мы уже рассматривали в обзоре AgeStar IUB2O1.
Судя по информации из Device Manager операционной системы Windows XP, потребление самой схемы преобразователя интерфейсов в NS2601 не превышает 100 мА.

Ниже мы попробуем выяснить, есть ли у чипа PL-2506 скоростные преимущества или недостатки по сравнению с аналогами.
Немного о корнях и названии
Несколько слов о происхождении рассматриваемого здесь контейнера. Описываемый экземпляр NS2601(TW2504) был получен из рук одного из руководителей компании Trueton Technology как изделие этой компании, и на самом контейнере модель обозначена как Truewin NS2601.


Однако на сайте компании в разделе контейнеров для 2,5-дюймовых винчестеров этой модели не оказалось (на момент написания этой статьи), хотя и присутствовали в ассортименте другие модели серии TW25xx (2501, 2505, 2511, 2513 и др.). Как пояснили по этому поводу в Trueton, данная модель имеет фирменное обозначение Truewin TW2504, она действительно намного дешевле остальных аналогичных контейнеров, предлагаемых этой компанией своим клиентам, и отчасти по этой причине не присутствует на сайте компании, хотя активно предлагается многим партнерам. Контейнер TW2504(NS2601) производится OEM-фабрикой Trueton в Китае, а собственно дизайн этого контейнера является общедоступным в Китае, то есть не принадлежит какому-то конкретному производителю. Хотя поскольку компания Trueton сама занимается разработкой/производством и куда более сложных контейнеров для винчестеров (в том числе, и по ODM-заказам, например, в Японию; в частности, она одна из всего трех компаний в мире, наряду с ASUSTeK и D-Link, кто сейчас выпускает Wi-Fi-контейнеры для 2,5-дюймовых дисков, вроде рассмотренного нами год назад ASUS WL-HDD2.5), то нет сомнений, что она способна самостоятельно сделать и контейнер типа TW2504/NS2601.
Вместе с тем, полностью аналогичный контейнер (примерно в ту же цену) можно было видеть на Computex 2006 и на стендах некоторых других компаний. А поиск NS2601 по Сети дает недвусмысленный линк на сайт тайваньской же компании NuCOMM International, которая продает этот и другие контейнеры для внешних накопителей под маркой NuSLIM. Более того, известный тайваньский ресурс Cybernetic под этой же маркой предлагает целый спектр «инклож» для мобильных винчестеров, среди которых — и новый NS2601. Я не стану гадать насчет взаимоотношений Trueton и NuCOMM на предмет «родоначальности» в отношении рассматриваемого здесь продукта. Но, учитывая слова об «общедоступности» данного дизайна в Китае, рискну предположить, что могут найтись еще и другие производители этого крайне привлекательного своей ценой и другими достоинствами контейнера. И он не замедлит появиться на прилавках отечественных магазинов!
Тесты производительности
Мы сравним нашего героя с некоторыми другими контейнерами для 2,5-дюймовых дисков и с собственно диском Seagate Momentus 5400.2 на 100 Гбайт, подключенным по UltraATA/100, использовавшимся для тестов контейнеров. А также с парой внешних накопителей — от Seagate (с тем же винчестером) и WD Passport (с диском WD Scorpio). Испытания проводились на тестовой системе в составе:
- Процессор Intel Pentium 4 3.0C
- Материнская плата ABIT IC7-G на чипсете i875P
- Системная память 2×256 Мбайт DDR400 (тайминги 2.5-3-3-6)
- Видеокарта Matrox Millennium G400
- Основной жесткий диск Seagate Barracuda SATA V
- Блок питания Zalman ZM400A-APF, 400 ватт
- Корпус Arbyte YY-W201BK-A
Накопители подключались к контроллерам интерфейсов USB 2.0, FireWire и UltraATA/100 на данной материнской плате. Испытания проводились под управлением операционной системы MS Windows XP Professional SP1 на логическом диске полного объема накопителя, отформатированном под FAT32 (оно — наиболее универсальное для данных применений). Поскольку иные файловые системы будут существенно ограничивать применимость внешних дисков, они нами не рассматривались. В работе по USB 2.0 мы использовали два режима — с кэшированием записи средствами Windows и без него (см. скриншот).

В ряде случаев это способно существенно повлиять на показатели быстродействия накопителей в приложениях, однако пользоваться этим нужно с осторожностью — не грех лишний раз напомнить, что, отключая такой диск при включенном кэшировании записи, нужно убедиться, что все данные уже успели записаться на него физически, чтобы исключить их случайную потерю. Остальные интерфейсы имели настройки по умолчанию.
Переходим к результатам тестов.
При работе по USB среднее время доступа к данным на дисках может немного возрастать по сравнению с UltraATA. Для нашего героя этот показатель находится на допустимом, хотя и не самом лучшем уровне.
Скорость работы интерфейса Hi-Speed USB у NS2601 оказалась чуть хуже, чем у того же AgeStar IUB2O1 на ином контроллере, хотя и лучше, чем у внешнего USB-накопителя самой Seagate, а также некоторых других внешних дисков и контейнеров. Об этом можно судить и по графикам Transfer Rate (кликните по ним для просмотра полностью).
Truewin NS2601 USB 2.0 с диском Seagate ST9100823A | AgeStar IUB2O1 USB 2.0 с диском Seagate ST9100823A |
Thermaltake Muse 2.5″ USB 2.0 с диском Seagate ST9100823A | Seagate Portable 100 Гбайт USB 2.0 (с диском ST9100823A) |
Seagate Momentus 5400.2 ST9100823A |
Вполне достойные, хотя и не рекордные результаты со скоростью у контейнера NS2601 (по сравнению, например, с некоторыми конкурентами) подтверждает и тест ATTO Disk Benchmark:
| Тестовый файл 128 Кбайт: | |
|---|---|
![]() | Truewin NS2601 USB 2.0 с Seagate ST9100823A |
![]() | AgeStar IUB201 USB 2.0 с Seagate ST9100823A |
![]() | Seagate Portable 100 Гбайт USB 2.0 (с ST9100823A) |
![]() | Seagate Momentus 5400.2 ST9100823A |
| Тестовый файл 1 Мбайт: | |
![]() | Truewin NS2601 USB 2.0 с Seagate ST9100823A |
![]() | AgeStar IUB201 USB 2.0 с Seagate ST9100823A |
![]() | Seagate Portable 100 Гбайт USB 2.0 (с ST9100823A) |
![]() | Seagate Momentus 5400.2 ST9100823A |
| Тестовый файл 32 Мбайт: | |
![]() | Truewin NS2601 USB 2.0 с Seagate ST9100823A |
![]() | AgeStar IUB201 USB 2.0 с Seagate ST9100823A |
![]() | Seagate Portable 100 Гбайт USB 2.0 (с ST9100823A) |
![]() | Seagate Momentus 5400.2 ST9100823A |
Разница между режимами Windows-кэширования USB-накопителей в этом тесте практически не наблюдается, поскольку сам тест такое кэширование блокирует.
Многопотоковая запись в программе NBench, усредненная по нашим традиционным паттернам (от одного до четырех одновременных потоков), показывает, что контейнер NS2601 обладает вполне приличной скоростью потоковой работы с крупными файлами, которая выше, если используется кэширование Windows.
То есть касается и многопотокового чтения (здесь также усреднены результаты по паттернам от одного до четырех одновременных потоков): скорость NS2601 находится на высоком уровне.
Высокие (одни из лучших) результаты у контейнера NS2601 по сравнению с непосредственными конкурентами и в тестах WinBench 99 Disk WinMark.
В дисковом тесте PCmark04 разница между режимами с кэшированием и без него очень мала, а контейнер Truewin NS2601 демонстрирует скорость на уровне лучших аналогов и опережает даже контейнер AgeStar IUB2O1.
В среднем получаем, что производительность NS2601 находится на достойном уровне, кое-где немного проигрывая, а кое-где и выигрывая у похожего компактного и дешевого решения AgeStar IUB2O1 и внешнего USB-накопителя Seagate Portable 100 Гбайт.
Цена
В таблице ниже вы можете увидеть средние московские цены на NS2601, актуальные на момент чтения вами данной статьи:
| AgeStar IUB2O1 | $11(3) |
| Truewin TW2504 / NuSLIM NS2601 | Н/Д(0) |
|---|
Заключение
Итак, в полку миниатюрных, легких, стильных и, главное, предельно дешевых USB-контейнеров для 2,5-дюймовых жестких дисков прибыло: изделие Truewin TW2504 (NuSLIM NS2601 и пр.) привлекает не только «внешними данными», но и тем, что обеспечивает весьма экономичный (в хорошем смысле этого слова) подход к хранению/переноске немалых объемов информации и при этом не страдает недостатками, которые, порой, присущи и куда более дорогим и претенциозным изделиям. И сколько еще подобных «штучек» готовят нам южно-азиатские умельцы?
















