Миниатюрный 100-гигабайтный USB-винчестер от «падшего» титана
Вдогонку к четырем не так давно опубликованным у нас обзорам внешних USB-накопителей и контейнеров для 2,5-дюймовых жестких дисков, см., например,
- AgeStar IUB2O1 — миниатюрный корпус с интерфейсом USB для жёстких дисков форм-фактора 2,5″ — почти идеальное бюджетное решение по следам знаменитого ZIV
- Портативный внешний винчестер Prestigio Mobile Data Safe — привлекательная внешне, но не очень быстрая модель
- Thermaltake Muse 2.5″ (A2291) — еще один именитый USB-контейнер для ноутбучных жестких дисков
- Truewin TW2504 / NuSLIM NS2601 — удачный USB-контейнер для 2.5″ винчестеров
предлагаем рассказ о еще одном продукте этого класса — миниатюрном внешнем накопителе Maxtor OneTouch III Mini Edition, использующем 2,5-дюймовый жесткий диск емкостью 100 Гбайт.

Линейка внешних накопителей Maxtor с маркой OneTouch III давно известна по удачным «полновесным» продуктам с 3,5-дюймовыми жесткими дисками, старшие из которых имеют емкость до 1 Терабайта (используют 2 винчестера по 500 Гбайт), комбинированные и более быстрые интерфейсы и ряд других полезных функций. И вот, напоследок перед своим полным слиянием с Seagate, компания решила побаловать своих потребителей новым необычным для Maxtor продуктом — компактными внешними накопителями на мобильных винчестерах емкостью 100 и 60 Гбайт. И назвала их OneTouch III Mini Edition, чтобы, видимо, как-то обозначить преемственность и общность этих решений с более «весомыми» настольными «однофамильцами».
Впрочем, как мы убедимся далее, общность Mini Edition с «большими» OneTouch III проявляется не только в названии, но и в дизайне (частично перекликается внешний вид и исполнение) и функциональности (например, они комплектуются одинаковым ПО). А также в позиционировании этого продукта, предназначаемого компанией, прежде всего, для нужд домашнего и малого бизнеса, что подчеркивают и стилевые рекламные фотографии продукта: например, с милой барышней, нежно опускающей Mini в свою дамскую сумочку.

Хотя мне больше нравится другая — с подтянутым деловым мужчиной, на лице у которого отражена неподдельная забота о целостности, безопасности и повсеместной доступности важных для бизнеса электронных данных. :)

Кстати, недаром именно эта фотография выбрана и для упаковки накопителя (см. ниже), и для его листа спецификаций.
Я не стану размышлять по поводу того, что же все-таки двигало руководителями Maxtor, когда в условиях полной неясности относительно судьбы сотрудников и продуктов этой компании они предлагают рынку новое и при этом весьма специфическое изделие, которое, мало того, что напрямую является конкурентом появившемуся год назад внешнему накопителю Seagate Portable (и, например, WD Passport) на весьма пресытившимся в последнее время рынке портативных внешних накопителей, но и использует технологии бывших конкурентов… Я промолчу по этому поводу ;) и перейду к описанию весьма любопытной, на мой взгляд, новинки.
Впрочем, если у вас все же есть вопросы по поводу слияния Seagate и Maxtor ;) и гарантии на продукты, то, возможно, вы сможете найти ответы на некоторые из них на сайте компании. Из этого, в частности, следует, что заводы Maxtor еще долго будут выпускать диски именно разработки Maxtor и, возможно, даже некоторые новые модели.
Внешний вид и устройство
Итак, в небольшой картонной коробке Maxtor OneTouch III Mini Edition (заметно меньшей, кстати, чем у внешнего накопителя Seagate Portable и даже, чем у WD Passport, с которыми мы неминуемо будем сравнивать этот накопитель Maxtor)

между фирменными максторовскими антиударными прокладками

располагается сам прибор и скудная его комплектация, среди которой значатся лишь Quick Start Guide и компактный mini-USB-кабель (длиной около полуметра) с дополнительным USB-ответвлением для подачи питания от второго USB-порта компьютера (если это понадобится).

Вся остальная (подробная) документация и программное обеспечение содержатся на самом винчестере (так что обязательно сделайте ее резервную копию, прежде чем начать пользоваться жестким диском). На компакт-диск, подробное бумажное руководство пользователя и, о, ужас, даже на дешевенький «кожаный чехольчик» производитель, таким образом, пожадничал. ;) Интересно, скажется ли это на цене?
Впрочем, частично подробности о накопителе и его незатейливые спецификации отражены на самой коробке:


Там, в частности, самым мелким шрифтом указывается, что «некоторые ноутбуки, USB-хабы-хабы и даже десктопы ограничены по мощности USB-портов, поэтому и может потребоваться брать питание для Mini Edition сразу от двух портов USB». Интересно, как быть с моим ноутбуком, оба USB-порта которого разнесены по разным боковым сторонам, так что штатного кабеля-разветвителя не хватает по длине? Впрочем, порты у этого ноутбука достойные и способны питать Mini Edition поодиночке, а если бы и не были способны, то Maxtor там же рекомендует использовать в подобных случаях внешний сетевой адаптер, который продается отдельно (и в списке аксессуаров на сайте Maxtor пока отсутствует). Для этого на «разъемной» (видимо — тыльной) стороне Mini даже присутствует порт питания, требующий напряжения +5 вольт с током до полутора ампер.

Вид у Maxtor OneTouch III Mini Edition весьма стильный. Корпус из прочного пластика покрыт стойкой серебристой лакокраской (так что некоторые даже думают, что он «из алюминия» ;)) Скругленные «передок» и «задок» визуально уменьшают продольные размеры и вкупе с подобранным цветом и симметричными, но не плоскими формами делают корпус привлекательным.

Пластиковые боковины «обрезинены» (резинопластиком средней твердости) и немного выступают над верхней и нижней крышкой, поэтому диск не скользит, будучи положенным на гладкую поверхность, приятен в руках (особенно поверхность резинопластика) и дополнительно амортизирует толчки при штатных соприкосновениях со столом и пр. Особенно ценной мне показалась достаточно редкая среди устройств данной категории возможность ставить OneTouch III Mini вертикально, не пользуясь при этом никакой специальной подставкой.

В таком виде он смотрится необычно, занимает значительно меньше места на рабочем столе или на столике в салоне самолета и весело «маячит» (мигает в работе) расположенной наверху белой кнопкой-индикатором.
Габариты и вес накопителя указаны на его упаковке (видимо, как достоинство?)

и, откровенно говоря, не являются какими-то особо «выдающимися», поскольку 133 мм на 90 мм в плане при толщине целых 20 мм и весе 205 грамм на сам корпус без диска) не сравнимы с такими рекордсменами-малютками как ZIV (и AgeStar IUB2O1) с габаритами 118×72×11 мм и весом менее 30 грамм без диска или, например, недавно описанным мной Truewin TW2504 (на фото).

Хотя с другой стороны, если вспомнить о тех же годичной давности Seagate Portable и WD Passport или даже более новом и претендующем на элитность Prestigio Mobile Data Safe (132×82×15 мм, 100 грамм), то окажется, что наш герой не такой аутсайдер, поскольку у WD Passport габариты (145 на 90 на 20 мм) отнюдь не меньше при том же весе, а Seagate Portable тяжеленный (300 грамм с диском) и «пузатый» (125 на 94 на 25 мм) в своей массивной металлической «броне».


И хотя на вкус и цвет «гусь свинье не товарищ», правый из показанных выше внешних накопителей мне лично видится более привлекательным. :)
От внешности переходим к внутренностям.
Путем некоторых усилий корпус Mini «распадается» на 4 пластиковые компоненты,

на одной из которых («дне») крепится (двумя винтами и резиновым обжимом) жесткий диск с дополнительной платой преобразователя интерфейсов USB-IDE. Полоски из мягкой микропористой резины со всех сторон дополнительно защищают винчестер от соударений и частично смягчают нажатия на крышку сверху по центру, осуществляя, таким образом, трехступенчатую защиту ваших данных (сам корпус с резиновыми боковинами, амортизаторы внутри корпуса, ударостойкость самого винчестера). «Нечаянно» уронив накопитель со стола на пол во время работы, я убедился, что с диском и данными ничего не случилось.

Признаться, как только я услышал о существовании данного изделия, то первым делом подумал, что Maxtor, видимо, решилась-таки напоследок показать норов и, наконец, явить миру свои разработки в области жестких дисков форм-фактора 2,5 дюйма! Напомню, что года два назад Maxtor активно вела разработки винчестеров для ноутбуков и даже полтора года назад была фактически (технически) готова представить рынку эти диски… Как руководители компании вдруг решили отказаться от выхода на рынок с 2,5-дюймовыми накопителями, поскольку (по неофициальной информации) в этом сегменте «стало слишком тесно от конкуренции» (целых 6 производителей!), и экономическая выгода для Maxtor здесь почти не прослеживалась. Тем более что компания слегка запоздала с этим, пропустив вперед себя и Samsung, и WD. А retail-рынок, на котором Maxtor традиционно сильна (в отличие от корпоративного), такие винчестеры как раз не приемлет. Вместе с тем, именно выпуском внешнего retail-накопителя Maxtor могла бы хоть как-то закрепиться на этом рынке со своими собственными 2,5-дюймовыми жесткими дисками…
Однако чуда не произошло, и в OneTouch III Mini Edition, увы, используется винчестер «заклятого приятеля» (и по совместительству — «пожирателя») Maxtor компании Seagate. В 100-гигабайтной модели Mini R01E100 оказался установлен винчестер Seagate Momentus 5400.2, модель ST9100824A, который по своим скоростным и прочим характеристикам мало чем отличается от диска ST9100823A той же емкости из первого «поколения» Momentus 5400.2, установленного в первый внешний мобильный винчестер Seagate Portable.
Впрочем, несмотря на хорошую ударозащиту, к охлаждению винчестера в этом корпусе Maxtor при его активной работе у меня возникают немалые вопросы, поскольку ни вентиляционных отверстий, ни прямого контакта диска с (пластиковым) корпусом здесь не наблюдается, и в интенсивной работе даже пластиковый корпус Mini прилично разогревается, уже не говоря о самом винчестере. И если накопителю WD Passport похожее решение могло сойти с рук, поскольку там применяется один из самых «холодных» сейчас винчестеров WD Scorpio, то с Maxtor Mini дело обстоит совсем по-другому, так как здесь используется куда менее экономичный и более греющийся винчестер, для которого, например, та же Seagate предусмотрела специальные и не слабые меры по охлаждению. Видимо, именно поэтому производитель указывает в спецификациях диапазон рабочих температур окружающей среды от +5 до +35 градусов Цельсия, а не до +55, как у жесткого диска!
Возможно, разработчикам Maxtor Mini стоило присмотреться к современным винчестерам Fujitsu с скоростью вращения 4200 об./мин., которые и стоят меньше, и емкостью больше, и являются на данный момент, видимо, самыми «прохладными в работе» 2,5-дюймовыми жесткими дисками, к тому же отлично оптимизированными по скорости для типичной (потоковой) работы внешних накопителей. Или все-таки уже давит «партнерство» с Seagate? ;)
С обратной стороны винчестер внутри Mini защищен экраном и резиной,

а под экраном к нему привинчена печатная плата преобразователя интерфейсов,


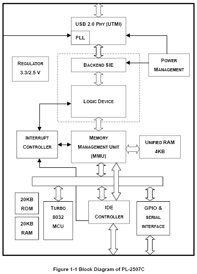
сердцем которой служит контроллер PL-2507 от тайваньской компании Prolific.

Судя по спецификациям, этот чип имеет вдвое больше памяти (ROM и RAM), чем рассмотренный нами недавно его аналог PL2506. В остальном их характеристики похожи. Ниже мы попробуем выяснить, есть ли у чипа PL-2507 скоростные преимущества перед PL2506 и другими решениями.
Судя по информации из Device Manager операционной системы Windows XP, потребление самой схемы преобразователя интерфейсов в накопителе Maxtor не превышает 100 мА.

Главным отличием нашего героя от множества других портативных внешних накопителей, включая Seagate Portable и WD Passport, является присутствие совмещенной кнопки-индикатора OneTouch, которая ярким белым светом сигнализирует о режимах работы (постоянно горит при подаче питания, монотонно быстро мигает при обращениях, но не синхронно с обращениями, и медленно мигает при засыпании накопителя).

Нажав на эту кнопку, можно запустить в работу предустановленное с этого диска на компьютер специальное ПО (см. ниже), которое, по сути, добавляет диску весьма полезную функциональность и этим выделяет его на фоне конкурентов.
Инсталляция и программное обеспечение
Накопитель Maxtor OneTouch III Mini Edition определяется операционной системой не безлико по модели жесткого диска, как многие другие внешние накопители, а именно как Maxtor OneTouch III Mini Edition. :) Соответственно, информация по используемому жесткому диску обычно в ОС недоступна.

Накопитель заявлен для работы под операционными системами MS Windows XP и Windows 2000 (остальные OC не упоминаются), в которых установка специальных драйверов не требуется (годится обычный USB Bulk-Only Mass Storage Driver из комплекта ОС). Разумеется, накопитель работает и под DOS, если есть поддержка Storage-дивайсов в BIOS материнской платы или USB-контроллера. Под Windows 98 драйверов для него не обнаружено, хотя желающие могут на свой риск попробовать драйверы от другого внешнего накопителя или контейнера, использующего чипы от Prolific. Или даже скачать соответствующий драйвер прямо с сайта производителя чипа. ;) Там же, кстати, есть патч для Windows ME для этих чипов. Про «яблочные» и «пингвиньи» продукты, увы, не упоминает ни Maxtor, ни Prolific, что, однако, поддержки не исключает.
Впрочем, то, что специальных драйверов для работы Mini Edition в Windows XP/2000 не требуется, не должно вводить вас в заблуждение. Со стандартными драйверами этих ОС наш герой будет вести себя как стандартный внешний сторадж, и только после установки специального ПО от Maxtor он получит всю ту дополнительную и весьма полезную функциональность (включая работу по кнопке), которая и выделяет его на общем фоне.
Итак, на жестком диске исходно записано фирменное ПО для Windows XP/2000 (если вы все же его затерли или потеряли, оно доступно для скачивания с сайта компании, хотя и весит 143 Мбайт :)). Автозапуск предложит вам установить программы или просмотреть описания.

После инсталляции пакета ПО, включающего Maxtor OneTouch, Maxtor Encryption и Maxtor Backup, в Device Manager появляется дополнительный пункт Maxtor Personal Storage Security,


а в памяти операционной системы возникнут резиденты, отслеживающие активность накопителя Maxtor и предлагающие различные дополнительные сервисы. Резиденты эти, надо сказать, весьма прожорливы до системной памяти и занимают в ней около 25 Мбайт, плюс еще что-то при работе соответствующих сервисов.

Кликнув по иконке в системном трее, можно вызвать меню для управления накопителем OneTouch, где также отображается информация о нем, включая объем и версию firmware, а кнопка Run Diagnostics позволяет запустить автоматическую проверку внешнего накопителя.

Здесь доступны различные функции, включая настройки для бэкапа нужных папок на Mini как в ручном, так и в автоматическом режиме по расписанию,

восстановление ранее сохраненных бэкапов,

синхронизация содержимого заданных папок на One Touch и вашем компьютере,

возврат системных установок от заданной (предварительно сохраненной) точки,

а также настройка самого накопителя Mini Edition, включая время засыпания при неактивности,

функциональное назначение кнопки OneTouch на корпусе диска (бэкапу, синхронизации папок или запуску определенного приложения)

и установке пароля доступа к накопителю.

По кнопкам в нижнем левом углу меню можно вызвать техподдержку Maxtor и посмотреть свежую информацию об устройстве, если ваш компьютер подключен к Интернет.
Таким образом, помимо собственно компактного внешнего хранилища данных Maxtor OneTouch III Mini Edition прелагает пользователю ряд полезных дополнительных функций: легкий бэкап и восстановление содержимого заданных папок, сохранение и восстановление состояния операционной системы (например, после вирусной атаки). Предлагает синхронизацию содержимого папок на компьютере и накопителе, два уровня безопасности доступа к данным (парольный Maxtor DriveLock и кодирование данных), а также настройку некоторых параметров работы накопителя и запуск выбранного сервиса нажатием кнопки на диске. Весьма неплохо на «общем сером фоне». :)
Тесты производительности
Мы сравним нашего героя с некоторыми другими накопителями и контейнерами для 2,5-дюймовых дисков и с диском Seagate Momentus 5400.2 на 100 Гбайт, подключенным по UltraATA/100, использовавшимся для тестов большинства этих контейнеров. А также с парой внешних накопителей конкурентов — Seagate Portable 100 Гбайт (с тем же винчестером) и WD Passport 80 Гбайт (с диском WD Scorpio). Maxtor OneTouch III Mini Edition был оттестирован нами в расширенном режиме: с родным диском ST9100824A в различных конфигурациях, а также дополнительно с накопителем ST9100823A, который мы используем для тестов многих других внешних контейнеров и которым был оснащен Seagate Portable 100 Гбайт в момент выхода. Впрочем, близость по скорости этих двух жестких дисков Seagate между собой приводит к тому, что результаты Maxtor Mini с ними двумя, как правило, очень близки.
Испытания проводились на тестовом стенде в составе:
- Процессор Intel Pentium 4 3.0C
- Материнская плата ABIT IC7-G на чипсете i875P
- Системная память 2x256 Мбайт DDR400 (тайминги 2.5-3-3-6)
- Видеокарта Matrox Millennium G400
- Основной жесткий диск Seagate Barracuda SATA V
- Блок питания Zalman ZM400A-APF, 400 ватт
- Корпус Arbyte YY-W201BK-A
Накопители подключались к контроллерам интерфейсов USB 2.0, FireWire и UltraATA/100 на данной материнской плате. Испытания проводились под управлением операционной системы MS Windows XP Professional SP1 на логическом диске полного объема накопителя, отформатированном под FAT32 (оно — наиболее универсальное для данных применений). Поскольку иные файловые системы будут существенно ограничивать применимость внешних дисков, они нами не рассматривались. Впрочем, поскольку наш герой поставляется отформатированным на NTFS, то мы оттестировали его и на этой файловой системе, обнаружив ряд сюрпризов.
В работе по USB 2.0 мы использовали два режима — с кэшированием записи средствами Windows и без него. В ряде случаев это способно существенно повлиять на показатели быстродействия накопителей в приложениях, однако пользоваться этим нужно с осторожностью — не грех лишний раз напомнить, что, отключая такой диск при включенном кэшировании записи, нужно убедиться, что все данные успели записаться на него физически, чтобы исключить их случайную потерю. Остальные интерфейсы имели настройки по умолчанию.
Переходим к результатам тестов.
При работе по USB среднее время доступа к данным на дисках может немного возрастать по сравнению с UltraATA. Для нашего героя этот показатель находится на допустимом, хотя и не самом лучшем уровне, хотя с более новым винчестером скорость поиска оказывается повыше.
Скорость работы интерфейса Hi-Speed USB у Maxtor One Touch III Mini Edition оказалась на том же уровне, что и у контейнера Truewin NS2601, использующего чип-преобразователь той же компании. Это чуть хуже, чем у лидеров, но все же вполне достойный уровень, лучше, чем у внешних накопителей от Seagate и WD. Об этом можно судить и по графикам Transfer Rate (кликните по ним для просмотра полностью).
Maxtor OneTouch III Mini Edition | Maxtor OneTouch III Mini Edition с диском Seagate ST9100823A |
Seagate Portable 100 Гбайт USB 2.0 (с диском ST9100823A) | AgeStar IUB2O1 USB 2.0 с диском Seagate ST9100823A |
Seagate Momentus 5400.2 ST9100823A | Truewin NS2601 USB 2.0 с диском Seagate ST9100823A |
Вполне достойные, хотя и не рекордные результаты со скоростью у контейнера Maxtor (по сравнению, например, с некоторыми конкурентами) подтверждает и тест ATTO Disk Benchmark:
| Тестовый файл 128 Кбайт: | |
|---|---|
![]() | Maxtor OneTouch III Mini Edition |
![]() | AgeStar IUB201 USB 2.0 с Seagate ST9100823A |
![]() | Seagate Portable 100 Гбайт USB 2.0 (с ST9100823A) |
![]() | Seagate Momentus 5400.2 ST9100823A |
| Тестовый файл 1 Мбайт: | |
![]() | Maxtor OneTouch III Mini Edition |
![]() | AgeStar IUB201 USB 2.0 с Seagate ST9100823A |
![]() | Seagate Portable 100 Гбайт USB 2.0 (с ST9100823A) |
![]() | Seagate Momentus 5400.2 ST9100823A |
| Тестовый файл 32 Мбайт: | |
![]() | Maxtor OneTouch III Mini Edition |
![]() | AgeStar IUB201 USB 2.0 с Seagate ST9100823A |
![]() | Seagate Portable 100 Гбайт USB 2.0 (с ST9100823A) |
![]() | Seagate Momentus 5400.2 ST9100823A |
Разница между режимами Windows-кэширования USB-накопителей в этом тесте практически не наблюдается, поскольку сам тест такое кэширование блокирует.
Многопотоковая запись в программе NBench, усредненная по нашим традиционным паттернам (от одного до четырех одновременных потоков), показывает, что накопитель Maxtor Mini Edition обладает вполне приличной (хотя и не рекордной) скоростью потоковой работы с крупными файлами, которая становится еще выше, если используется кэширование Windows.
Тем не менее, в этом тесте неожиданно обнаруживается, что на файловой системе NTFS наш герой работает значительно быстрее, чем на FAT32 при отключенном кэшировании Windows (обычно жесткие диски не чувствуют разницы между этими двумя файловыми системами в этом тесте). Что стоит учесть при эксплуатации этого дивайса.
Это, однако, не касается и многопотокового чтения (здесь также усреднены результаты по паттернам от одного до четырех одновременных потоков), где производительность Maxtor Mini на NTFS лишь на толику выше, чем на FAT32, а использование более старого винчестера Seagate даже выгоднее по скорости, нежели новой модели этой же серии. Наш герой и здесь не рекордсмен по скорости, хотя и обгоняет многих конкурентов, включая Seagate Portable.
Не очень высокие результаты у Maxtor Mini по сравнению с непосредственными конкурентами и в тестах WinBench 99 Disk WinMark. Здесь наш герой все же уступает накопителю Seagate, хотя разница между ними настолько мала, что вряд ли стоит об этом говорить. Кстати, снова на NTFS мы видим явно лучшую скорость, чем на FAT32.
В дисковом тесте PCmark04 разница между режимами с кэшированием и без него очень мала, а накопитель Maxtor демонстрирует лучшую скорость среди соперников, но, видимо, именно за счет применения более нового винчестера, тогда как со старым он медленнее многих, включая Seagate Portable.
Результаты по скорости копирования файлов разного размера в паттернах AVI, MP3, JPG и WEB внутри тестируемых дисков (скорость копирования с/на диск извне можно оценить по результатам тестов многопотоковых чтения и записи и теста ATTO Disk Benchmark) представлены на следующей диаграмме.
При копировании по USB 2.0 большого количества мелких файлов крайне рекомендуется включать кэширование Windows, иначе оно проходит очень медленно, тогда как при работе с крупными файлами кэширование практически бесполезно. Тем не менее, Maxtor Mini при использовании NTFS даже с выключенным кэшированием Windows демонстрирует великолепные показатели, намного обгоняя себя самого с FAT32 (даже с кэшированием). И за счет этого опережая соперников, хотя на FAT32 он примерно равен по скорости конкурентам. Диаграмма с усредненными (геометрически) результатами производительности при копировании файлов более наглядно демонстрирует эту тенденцию.
По аналогии ниже показаны результаты при архивировании (с нулевым сжатием) и разархивировании файлов (например, извлечении, инсталляции из дистрибутивов или архивировании/сборке файлов в архив, что нередко можно наблюдать при использовании внешних накопителей).
В среднем получаем, что производительность Maxtor OneTouch III Mini Edition находится на вполне достойном уровне, кое-где немного проигрывая, а кое-где и выигрывая у схожих решений конкурентов и внешнего USB-накопителя Seagate Portable 100 Гбайт.
В среднем же получаем, что производительность Maxtor OneTouch III Mini Edition находится на вполне достойном уровне, кое-где немного проигрывая, а кое-где и выигрывая у схожих решений конкурентов и внешнего USB-накопителя Seagate Portable 100 Гбайт.
Цена
В таблице ниже вы можете увидеть текущие средние московские цены на продукты Maxtor OneTouch III Mini Edition разной емкости в сравнении с аналогичными продуктами от Seagate и WD.
| Maxtor OneTouch III Mini Edition 100 Гбайт | Н/Д(0) |
|---|---|
| Maxtor OneTouch III Mini Edition 60 Гбайт | Н/Д(0) |
| Seagate Portable 100 Гбайт | Н/Д(0) |
| Seagate Portable 60 Гбайт | Н/Д(0) |
| WD Passport 80 Гбайт | $140(4) |
| WD Passport 60 Гбайт | Н/Д(0) |
Заключение
Итак, слегка припозднившийся портативный внешний накопитель Maxtor OneTouch III Mini Edition показал себя достойно: будучи заключенным в стильный корпус (который к тому же можно ставить вертикально) вполне приемлемых габаритов и веса, он достаточно удачен по конструкции, обеспечивает неплохую многоступенчатую ударозащиту, хотя и вызывает вопросы в плане хорошего охлаждения винчестера. Производительность новинки находится на среднем (не самом плохом, но и не самом выдающемся) уровне среди конкурентов, хотя использование дефолтной файловой системы NTFS способно заметно увеличить скорость его работы (в ущерб совместимости с различными операционными системами). Особой изюминкой этого внешнего накопителя являются комплект программного обеспечения и кнопка OneTouch, существенно расширяющие функциональность этого устройства относительно стандартного внешнего USB-стораджа. Жаль только, что не поддерживаются функции On-The-Go, и накопитель Maxtor не может копировать на себя (без компьютера) содержимое внешних USB-флэш-драйвов, памяти фотоаппаратов и флэш-карт.

















