Ресурс «Лада.Онлайн» обнаружил в Сети Одобрение Типа Транспортного Средства (ОТТС) на обновлённую Lada Vesta FL, которая недавно была запущена в производство и должна поступить в продажу в середине этого года.
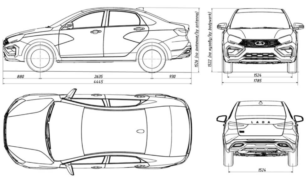
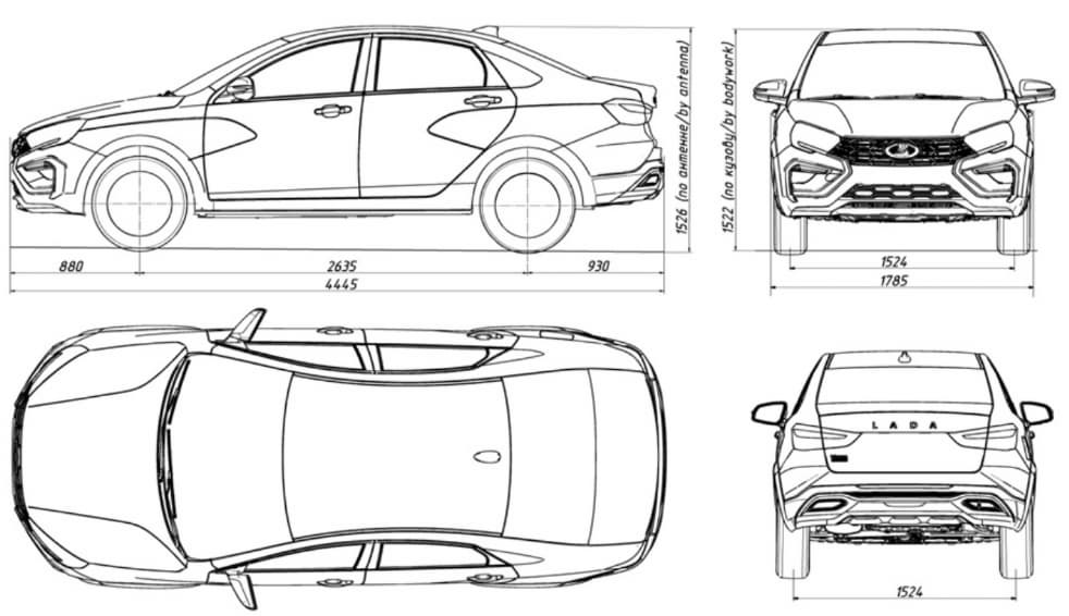
В документе перечислены технические характеристики Lada Vesta FL, в частности габаритные размеры, а также подробности о двигателях, трансмиссии, шинах и дисках.
Новая Lada Vesta FL будет комплектоваться следующими двигателями: ВАЗ 21129 (1,6 л, 106 л.с.), ВАЗ 21179 (1,8 л, 122 л.с.), Renault H4M-HR16DE (1,6 л, 113 л.с.). В автомобилях будут устанавливаться механические коробки переключения передач (ВАЗ и Renault) или вариатор Jatco. Что касается колёс, то допускаются следующие размеры шин: 185/65 R15,195/55 R16, 205/50 R17.
Ниже перечислены сравнительные габаритные размеры для Vesta, Vesta Cross, Vesta FL и Vesta Cross FL:
| седан | ||||
|---|---|---|---|---|
| длина | 4410 | 4424 | 4440 | 4445 |
| ширина | 1764 | 1785 | 1764 | 1785 |
| высота | 1497 | 1526 | 1496…1498 | 1522…1526 |
| База, мм | 2635 | |||
| Колея передних/задних колёс, мм | 1510 / 1510 | 1524 / 1524 | 1510 / 1510 | 1524 / 1524 |
| универсал | ||||
| длина | 4410 | 4424 | 4440 | 4445 |
| ширина | 1764 | 1785 | 1764 | 1785 |
| высота | 1497…1520 | 1526…1537 | 1500…1525 | 1522…1548 |
| База, мм | 2635 | |||
| Колея передних/задних колёс, мм | 1510 / 1510 | 1524 / 1524 | 1510 / 1510 | 1524 / 1524 |
Сообщается, что автомобиль получит новый обвес, новые фары и фонари, панель приборов, обивку дверей и рулевое колесо. Также ожидается бесключевой доступ, цифровая панель приборов, большой вертикальный экран, система контроля слепых зон в зеркалах.
