
Вчера компания Xiaomi официально анонсировала инновационный смартфон Xiaomi Mi Mix Alpha, экран которого огибает весь корпус, оставляя только узкую полоску на задней панели для камеры.
Xiaomi Mi Mix Alpha поступит в продажу в конце декабря этого года по цене около 2800 долларов. Если вам кажется, что нечто подобное вы могли видеть раньше, то это так и есть, ведь еще в 2016 году компания Apple запатентовала очень похожее устройство.
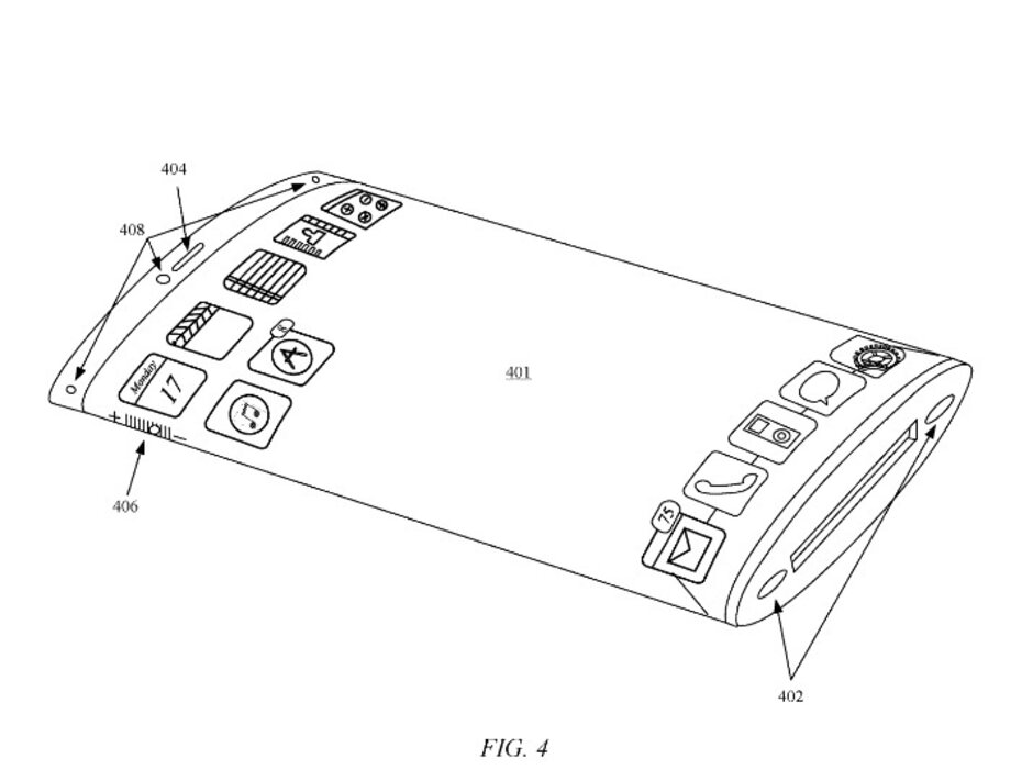
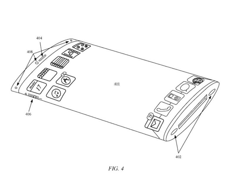
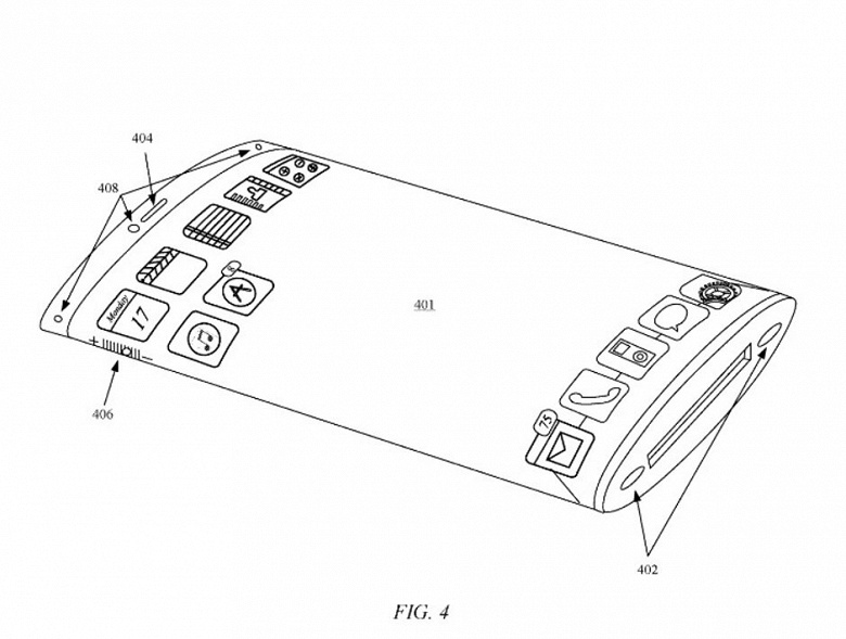
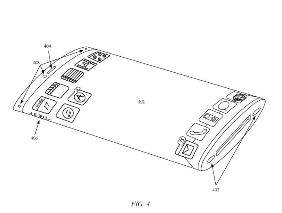
На патентных иллюстрациях был показан экран, огибающий корпус смартфона, а также виртуальные кнопки на боковой части устройства. Примерно таким же образом реализован экран и органы управления в Xiaomi Mi Mix Alpha.

В 2017 году многие СМИ публиковали слухи о том, что iPhone X получит именно такой опоясывающий экран. Однако это не случилось ни в 2017, ни в двух последующих годах. Принимая во внимания медлительность Apple, можно предположить, что такой iPhone не выйдет еще пару-тройку лет.
Как выглядит процесс разблокировки Xiaomi Mi Mix Alpha, вы можете посмотреть в нашей предыдущей заметке. Xiaomi потратила на создание Xiaomi Mi Mix Alpha два года и 70 миллионов долларов, а занимались смартфоном около 1000 инженеров.
