В конце прошлого года компания Google подала документы на регистрацию нового патента, которые были одобрены только в начале текущего календарного года.
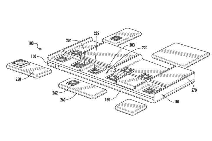
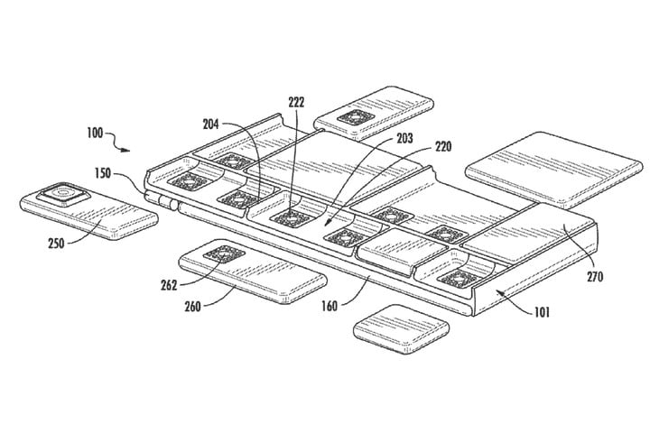
В патенте описано модульное мобильное устройство (Modular Device), которое позволяет подключить к нему различные комплектующие при помощи магнитных креплений. Речь идет о возможности подключения дисплеев, включая основной и дополнительный, разных модулей памяти, фронтальной и основной камер, аккумуляторов, а также прочих модулей.
Если вам кажется, что где-то вы это уже слышали, то так и есть. Все это очень напоминает проект модульного смартфона Google Project Ara, который был близок к выходу, но в итоге отменен производителем в 2016 году.

Факт регистрации нового патента указывает на то, что Google не отказалась от идеи выпуска подобного смартфона. Возможно, он будет представлен и выпущен уже в этом году.

