Конференция
Блоги
Игры
Маркет
Про бизнес
Еще
Другие проекты
Конференция
Старейший и крупнейший в рунете форум о технике
Блоги
Впечатления о технике из первых рук на Блоги
Игры
Компьютерные игры и не только на Игры
Маркет
Скидки, купоны, тесты магазинов
ПроБизнес
Новости и обзоры решений для малого и среднего бизнеса
Мерч
IXBT
Войти
Новости
Статьи
Видеокарты и мониторы
Мобильные устройства
Ноутбуки и планшеты
Платформа ПК
Комфортный дом
Все темы
$refs.search?.focus())" aria-label="Очистить поиск" >
Статьи
Видеокарты и мониторы
iT-среда
Мобильные устройства
Ноутбуки и планшеты
Носители информации
Платформа ПК
Приложения и утилиты
Принтеры и периферия
Профессиональное аудио
Проекторы и ТВ
Сети и серверы
Hi-Fi и мультимедиа
Цифровое видео
Цифровое фото
Корпуса, БП и ИБП
Автомобили
Комфортный дом
Новости
Процессоры
Системные платы, память, чипсеты
Цифровое фото
Ноутбуки и планшеты
Мониторы
Техника Apple
Мобильные телефоны
Настольные ПК
Видеокарты
Корпуса, системы питания и охлаждения
Носители информации
Прочие новости
Принтеры и периферия
Сети и серверы
Авто и транспорт
Телевизоры и проекторы
Аудио и звук
Программное обеспечение
Комфортный дом
Цифровое видео
Законы и новости рынка
Криптовалюты
Наука и космос
Авиация
Электротранспорт
Носимая электроника
Консоли и игры
Информационная безопасность
Финансы
Искусственный интеллект
Новости
Сегодня
Лента
Процессоры
Системные платы, память, чипсеты
Цифровое фото
Ноутбуки и планшеты
Мониторы
Техника Apple
Мобильные телефоны
Настольные ПК
Видеокарты
Корпуса, системы питания и охлаж...
Носители информации
Прочие новости
Принтеры и периферия
Сети и серверы
Авто и транспорт
Телевизоры и проекторы
Аудио и звук
Программное обеспечение
Комфортный дом
Цифровое видео
Законы и новости рынка
Криптовалюты
Наука и космос
Авиация
Электротранспорт
Носимая электроника
Консоли и игры
Информационная безопасность
Финансы
Искусственный интеллект
Статьи
Свежие
Видеокарты и мониторы
iT-среда
Мобильные устройства
Ноутбуки и планшеты
Носители информации
Платформа ПК
Приложения и утилиты
Принтеры и периферия
Профессиональное аудио
Проекторы и ТВ
Сети и серверы
Hi-Fi и мультимедиа
Цифровое видео
Цифровое фото
Корпуса, БП и ИБП
Автомобили
Комфортный дом
Наши проекты
Конференция
Остальные проекты
Блоги
Игры
Маркет
ПроБизнес
Новости
14 февраля 2017
Новости за дату
Список
Все категории
Загрузка...
Смартфону Huawei P10 Plus приписывают 8 ГБ ОЗУ
По предварительной информации, Huawei P10 Plus получит однокристальную систему Kirin 960
Прочие новости
0
14 фев 2017 21:18
Беспилотное летающее такси запустят в Дубае уже летом
Летом в Дубае начнут курсировать пассажирские дроны Ehang
Прочие новости
0
14 фев 2017 19:10
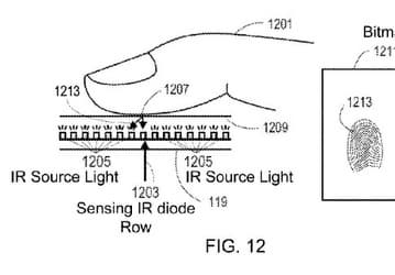
Apple удалось запатентовать сенсорный дисплей из микросветодиодов
Патент №9570002 выдан USPTO сегодня
Прочие новости
Техника Apple
0
14 фев 2017 18:54
Запуск инициативы Samsung Design Latin America может привести к появлению уникальных продуктов на рынке Латинской Америки
Samsung хочет знать больше о потребностях рядовых пользователей
Прочие новости
0
14 фев 2017 18:52
Специалистами Sony создано мобильное приложение, оценивающее калорийность пищи по фотографии
Программа может вырабатывать рекомендации относительно диеты
Прочие новости
0
14 фев 2017 18:37
Toshiba отчитается об огромном чистом убытке
Чистый убыток Toshiba по итогам девяти месяцев составит 3,5 млрд долларов
Прочие новости
0
14 фев 2017 18:08
HTC продолжает терпеть убытки, а выручка компании продолжает снижаться
HTC отчиталась за 2016 год
Прочие новости
0
14 фев 2017 17:48
Смартфон Huawei P10 будет предложен в трех цветовых вариантах
По словам производителя, яркие цвета перекликаются с цветами модной одежды
Мобильные телефоны
0
14 фев 2017 17:40
Монитор Philips Moda 245C7QJSB получил необычную подставку
Монитор Philips Moda 245C7QJSB выделяется дизайном и подставкой
Мониторы
0
14 фев 2017 17:34
Процессоры AMD Ryzen представят 28 февраля. Штатные охладители новинок будут иметь подсветку
Процессоры Ryzen представят уже через две недели
Процессоры
0
14 фев 2017 17:14
Акции компании Tesla достигли рекордного значения
Акции Tesla подорожали и побили прошлогодний рекорд
Прочие новости
0
14 фев 2017 16:37
Основное отличие планшета Samsung Galaxy Tab S3 от Galaxy Tab S2 будет заключаться в наличии у новой модели стилуса
Планшет Samsung Galaxy Tab S3 получит стилус
Мобильные телефоны
0
14 фев 2017 15:40
Видеокарты Vega могут быть представлены на мероприятии Capsaicin 28 февраля
AMD проведёт очередное мероприятие Capsaicin 28 февраля
Видеокарты
0
14 фев 2017 15:19
Microsoft предлагает пользователям своего облачного сервиса Azure защиту от патентных троллей
Предложение Microsoft может быть очень кстати клиентам, работающим в других отраслях
Прочие новости
0
14 фев 2017 15:18
Системная плата Biostar A68N-5100 располагает впаянным процессором AMD A4-5100
Системная плата Biostar A68N-5100 получила пару портов USB 3.0
Системные платы, память, чипсеты
0
14 фев 2017 15:07
Аналитики Digitimes Research ожидают смену лидера на рынке ноутбуков в этом году
Сейчас крупнейшим производителем ноутбуков является Lenovo
Ноутбуки и планшеты
0
14 фев 2017 14:53
Phase One и LogicKeyboard предлагают специальную клавиатуру для работы с программой Capture One Pro 10 на компьютерах с macOS
Цена Capture One Pro Keyboard — 139 долларов или 129 евро
Техника Apple
Принтеры и периферия
0
14 фев 2017 14:38
В Windows 10 Mobile обнаружена ошибка, позволяющая получить доступ к фотографиям в обход экрана блокировки
Разработчики Windows 10 Mobile уже осведомлены о проблеме
Прочие новости
0
14 фев 2017 13:36
Lenovo готовит к выпуску ноутбуки-трансформеры Yoga 520
Ноутбуки Lenovo серии Yoga 520 получат порт USB-C
Ноутбуки и планшеты
0
14 фев 2017 13:30
Процессоры AMD Ryzen в тесте 3DMark чувствуют себя гораздо увереннее, чем конкурирующие решения Intel
CPU Ryzen показали себя лучше в тесте 3DMark
Процессоры
0
14 фев 2017 13:08
Решение IBM Watson for Cyber Security предназначено для управления когнитивными центрами информационной безопасности
Технологию Watson Security уже используют компании из разных отраслей
Прочие новости
0
14 фев 2017 13:01
Смартфон Apple iPhone с экраном размером 5,8 дюйма получит корпус из стали и стекла, с экраном размером 4,7 дюйма — алюминиевый
Сведениями о материале корпуса модели с экраном размером 5,5 дюйма источник пока не располагает
Техника Apple
Мобильные телефоны
0
14 фев 2017 12:43
Populele — Xiaomi выпустила умную версию гавайского музыкального инструмента
Populele предназначается для тех, кто хочет научиться играть на данном музыкальном инструменте
Прочие новости
0
14 фев 2017 12:30
Samsung за последний год ослабила свои позиции на рынках смартфонов, планшетов и умных часов
Доля Samsung на рынке планшетов снизились с 16,1 до 15,2% в прошлом году
Прочие новости
0
14 фев 2017 12:14
Apple заняла четвертое место в рейтинге самых инновационных компаний, уступив Amazon, Google и Uber
Первое место Amazon присудили за то, что компания «предлагает еще больше, еще быстрее и умнее»
Прочие новости
0
14 фев 2017 12:04
Консоль Nintendo Switch основана на SoC Nvidia с четырьмя ядрами Cortex-A57 и GPU Maxwell с 256 ядрами CUDA
Nintendo Switch не получила графику Pascal
Прочие новости
0
14 фев 2017 12:03
На выставке CP+ ожидается анонс объективов Sigma 135mm f/1.8 Art, 24-70mm f/2.8 Art и 14mm f/1.8 Art
Выставка фототехники CP+ пройдет в Японии на следующей неделе
Цифровое фото
0
14 фев 2017 12:03
Американцы совершили более 20% праздничных покупок с мобильных устройств
В 2015 году соответствующая доля составляла 17%
Прочие новости
0
14 фев 2017 11:44
В базе данных GFXBench появился смартфон Sony Pikachu
Анонсировать устройство должны на MWC 2017
Прочие новости
0
14 фев 2017 11:34
В Японии созданы умные часы, учитывающие, сколько времени родители проводят с детьми
Помимо этой функции, часы следят за физической активностью пользователя, сообщают ему о поступивших сообщениях и вызовах
Мобильные телефоны
0
14 фев 2017 11:30
Компания Qualcomm представила однокристальные системы IPQ8074 и QCA6290, поддерживающие Wi-Fi 802.11ax
Ознакомительные образцы IPQ8074 и QCA6290 должны появиться в этом полугодии
Сети и серверы
0
14 фев 2017 11:07
Линейку HDD для NAS Toshiba N300 пополнила модель объемом 8 ТБ
Серия Toshiba N300 найдет применение в домах и небольших офисах
Носители информации
0
14 фев 2017 11:07
Сетевой адаптер Mellanox Innova IPsec 40GbE берет шифрование на себя, высвобождая процессор
Шифрование силами адаптера позволило увеличить пропускную способность
Сети и серверы
0
14 фев 2017 10:44
Опубликован первый рекламный ролик смартфона Huawei P10
Ожидается, что Huawei P10 получит SoC Kirin 960, 4 ГБ оперативной памяти и дисплей диагональю 5,5 дюйма
Прочие новости
0
14 фев 2017 10:09
Складывающаяся клавиатура Kanex MultiSync Foldable Travel для Windows, iOS и Android стоит менее 50 евро
Масса устройства составляет 172 г, в сложенном состоянии толщина клавиатуры равна 1,3 см.
Прочие новости
0
14 фев 2017 10:01
Умные часы Huawei Watch 2 покажут на MWC 2017
Умные часы Huawei Watch 2 будут работать под управлением операционной системы Android Wear 2.0
Прочие новости
0
14 фев 2017 09:51
17 февраля акционеры Harman решат вопрос о продаже компании
Пресс-атташе Harman заявил, что компания намерена закрыть сделку к середине года
Прочие новости
0
14 фев 2017 09:41
Смартфон Oukitel U16 Max получит ОС Android 7.0, несмотря на не самую новую SoC
Основой Oukitel U16 Max станет позапрошлогодняя восьмиядерная SoC
Мобильные телефоны
0
14 фев 2017 09:21
Программируемые вентильные матрицы Intel Cyclone 10 предназначены для промышленной и автомобильной электроники
В семейство входят FPGA Cyclone 10 GX и Cyclone 10 LP
Прочие новости
0
14 фев 2017 08:00
Голосовой помощник Cortana запомнит данное кому-то пользователем обещание и напомнит о нём
Функция Suggested Reminders у ПО Cortana ответственна за запоминание обещаний
Прочие новости
0
14 фев 2017 08:00
Специальная конструкция печатной платы в новых смартфонах Apple позволит существенно увеличить ёмкость аккумулятора
Apple использует уникальную конструкцию печатной платы в новых смартфонах
Мобильные телефоны
0
14 фев 2017 07:30
Ноутбук Razer Blade снова обновили, заменив процессор на Intel Core i7-7700HQ
Основой обновлённого Razer Blade стал Intel Core i7-7700HQ
Ноутбуки и планшеты
0
14 фев 2017 07:00
Раньше
2017-02-14
Позже
Видео