Новости за дату

Все категории
Смартфон Elephone M3 предложит металлический корпус и SoC MediaTek Helio P10 при цене всего $99
Elephone M3 получит разъем USB Type-C
Серия планшетов Samsung Galaxy Tab E пополнилась моделью с экраном диагональю 8 дюймов
Samsung Galaxy Tab E 8.0 по своим характеристикам очень похож на Galaxy Tab A 8.0
Oukitel выпустит смартфон K6000 Premium с SoC MediaTek Helio X20, дисплеем разрешением 2K и АКБ емкостью 6000 мА·ч
Oukitel K6000 Premium самым интересным представителем серии
Линейка материнских плат MSI Eco пополнилась тремя новыми моделями для процессоров Intel Skylake
MSI уверяет, что энергопотребление новых системных плат почти вдвое меньше обычного
Корпус Cooltek Skall оценивается в 85 евро
Корпус Cooltek Skall готов принять 11 вентиляторов
С октября следующего года все такси Лондона будут принимать банковские карты и бесконтактные платежи
Такси Лондона обзаведутся терминалами NFC
0
Every Phone — самый тонкий смартфон с Windows 10 Mobile, который оценен в $325
Продажи смартфона стартуют уже завтра по цене 39 800 иен или около $325
Adata Lightning Card Reader — кардридер с интерфейсом Lightning, работающий с картами SD и microSD
Adata представила Lightning Card Reader
Lenovo не планирует отказываться от бренда Vibe
Источники заявляют, что сокращение числа смартфонных брендов должно позволить компании укрепить свои позиции в регионе
OnePlus не собирается менять кабель USB Type-C из комплекта поставки OnePlus 2, который может нанести вред другой электронике
Кабель и адаптер используют резисторы сопротивлением 10 кОм, тогда как, в соответствии со спецификациями, продукты USB Type-C должны использовать резисторы сопротивлением 56 кОм
Проект Free Basics инициативы Facebook Internet.org обеспечит бесплатным доступом к Сети всех абонентов крупного индийского оператора
Проект Facebook Free Basics запущен в Индии
Ожидается, что поставки моноблоков в этом году снизятся на 10%
На долю крупнейшего поставщика таких решений, которым является компания Lenovo, в следующем году будет приходится 30% рынка
Ведущий производитель трекеров активности Индии, компания GOQii, получил 13 млн долларов инвестиций для расширения ареала продаж
GOQii начнёт продвигать свои трекеры активности в США и Китае
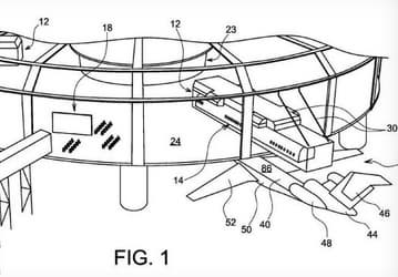
Airbus запатентовала отсоединяемый пассажирский блок для самолетов
Инженеры утверждают, что модуль можно модифицировать для перевозки пассажиров, багажа, различных грузов и их комбинаций
Новое изображение смартфона Nokia C1 демонстрирует сменившую положение камеру, а также поддержку Android и Windows 10 Mobile
Анонимные источники вновь подтверждают информацию о том, что Nokia C1 будет работать под управлением Android и Windows 10 Mobile
Raspberry Pi Zero — микрокомпьютер стоимостью $5
Представлен микро-ПК Raspberry Pi Zero
ZeroLemon представила чехлы с аккумуляторами для смартфонов Galaxy S6 edge+ и Galaxy Note5
ZeroLemon пополнила ассортимент парой новинок
Желающим приобрести новый планшет Panasonic Toughpad 4K придётся расстаться с более чем $4000
Panasonic оценила новый планшет Toughpad 4K в $4230