Компания Apple запатентовала складной iPhone с самовосстанавливающимся экраном
Компания Apple получила патент на разработку модели складного смартфона, оборудованного специальным экраном, который способен восстанавливаться самостоятельно.
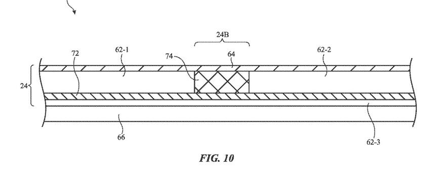
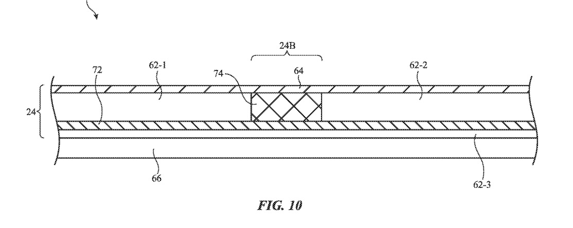
Портал Patently Apple сообщил, что патент предусматривает самые разные способы восстановления экрана, в том числе применение тепла, тока и света.
Запатентованные методы, включающие использование «прозрачных проводников», нагревающих защитное покрытие экрана во время зарядки или по желанию владельца смартфона в любое время. Кроме того, сообщается, что подобный патент предусматривает использование данной технологии не только на мобильных устройствах, но и на других гаджетах.
До этого Apple также подавала различные патенты на самовосстанавливающиеся iPhone, но они не затрагивали тему «складных экранов».
Стоит отметить, что не все патенты, регистрируемые крупными компаниями, в итоге доводятся до разработки. Как правило, компании ставят перед собой цель завладеть той или иной потенциальной технологией раньше конкурентов.
Так и появившийся патент не говорит о том, что уже в скором времени может появиться iPhone, поддерживающий такую технологию, однако это свидетельствует о непосредственных планах компании по внедрению подобной системы в свои гаджеты.
Источник: shazoo





0 комментариев
Добавить комментарий
Добавить комментарий