Sram разрабатывает электрический переключатель скоростей велосипеда с генератором
В современном горном велосипеде активно внедряются различные электрические помощники. На рынке уже представлены (в том числе у SRAM серии AXS) электрические переключатели скоростей велосипеда, которые работают за счет встроенного аккумулятора. Но этот аккумулятор периодически нужно заряжать, компания SRAM в ноябре прошлого года выпустила патент на конструкцию переключателя скоростей, лишенного этого недостатка, да и еще с автоматическим режимом.
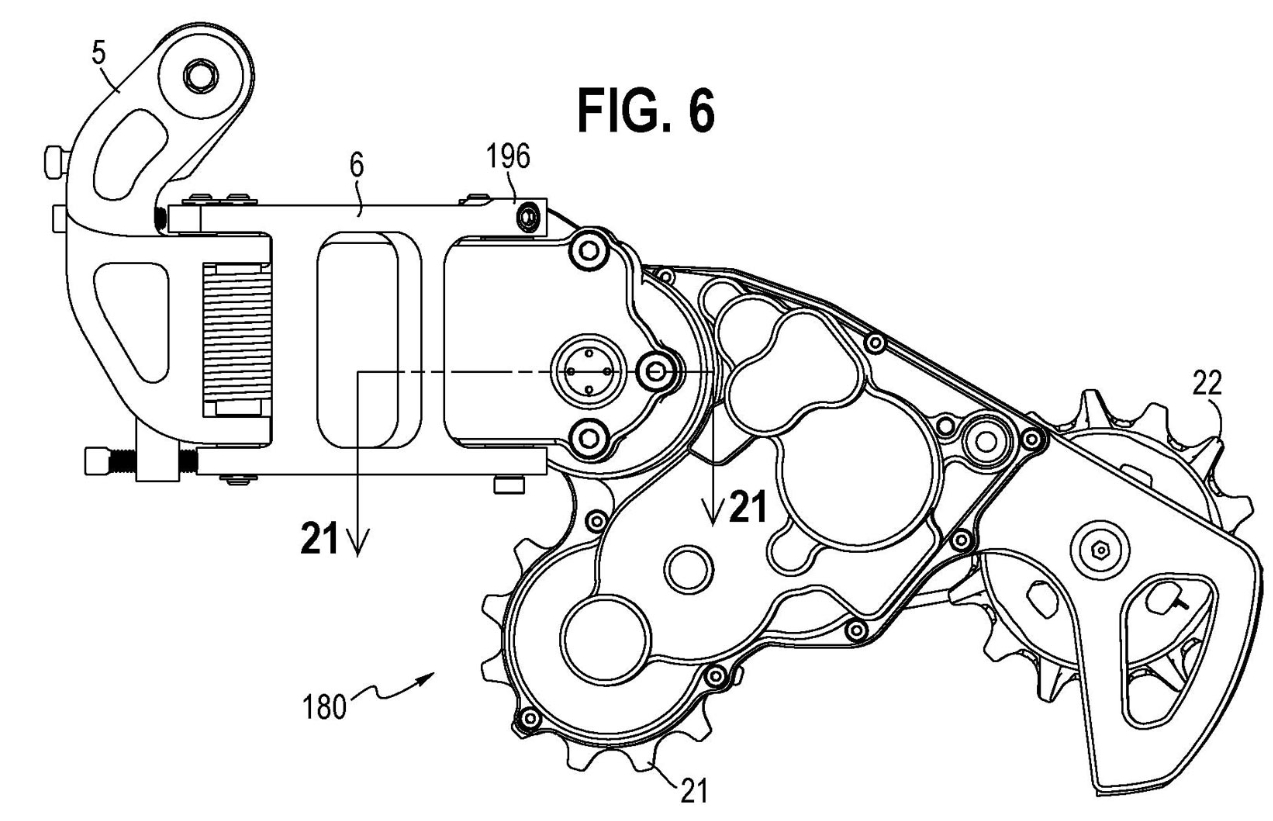
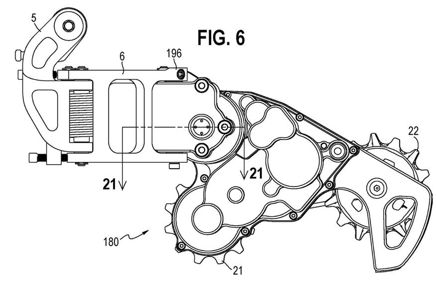
Патент США 20220355900 A1 появился в ноябре прошлого года, там на 44 страницах описывается конструкция и принцип работы заднего переключателя передач велосипеда оснащенного встроенным генератором и с возможностью автоматического переключения передач.
Внутри заднего переключателя смонтирован небольшой электрический генератор, который приводится в движение от верхнего ролика цепи, и питает встроенный аккумулятор (опционально). А в остальном, это все такой же электрический переключатель (хоть нестандартно выглядящий), который перебрасывает цепь по кассете за счет миниатюрного актуатора с электроприводом. Управление переключением беспроводное, с блока на руле.
Конструкция нового переключателя получилась хоть достаточно компактная, но метод крепления через кронштейн, а не более современный Direct Mount сразу на ось колеса. Потери КПД велосипедиста на вращения генератора минимальны, их нельзя сравнить с той же динамо-машиной. При качении велосипеда назад, привод генератора механически размыкается.
Но главным недостатком такого элемента трансмиссии остается высокая сложность и невозможность полевого ремонта.
В патенте описывается функция автоматического переключения передач велосипеда. Данные измеренной скорости на ролике (и данные с других внешних датчиков, например каденса) поступают к процессору переключателя, и он отдает команду актуатору на переключение скорости, без участия велосипедиста. Это позволит поддерживать скорость велосипеда, при постоянной комфортной частоте вращения педалей.
Источник: Bikerumor





1 комментарий
Добавить комментарий
Добавить комментарий