Rivian патентует технологию для светодиодных фар, чтобы растопить лёд
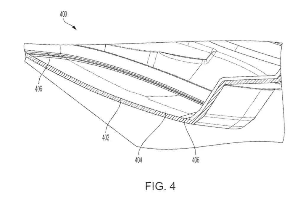
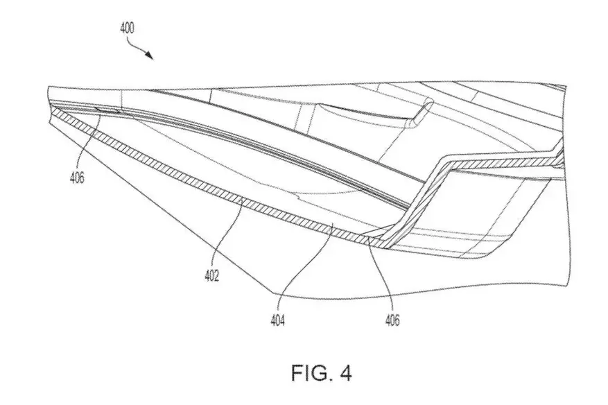
Появилась информация, что компания Rivian разработала и подала заявку на регистрацию в патентное ведомство Америки. Согласно появившейся информации новая разработанная технология позволит растопить лёд и снежную кашу на светодиодных фарах. Известно, что светодиодные источники света очень компактные и эффективны, но недостаточно нагревают стекло фары, чтобы бороться с возможным появлением льда, который в дальнейшем может снизить качество вырабатываемого света.
Разработанная технология построена на особом материале углеродных нанотрубок, нанесённых на корпус фары. Разработанный материал имеет высокую теплопроводность, что позволит растопить лёд. Для подогрева углеродных нанотрубок будет использоваться специальная шина с нагревательным элементом, размещаемая по контуру фары.
Компания планирует использовать технологию нагревательных элементов на матричных фарах собственной разработки, которые были запатентованы ранее.


Спонсором для разработки особого покрытия фар выступила компания Volkswagen, которая инвестировала почти 6 млрд долларов. Кроме того, компания Rivian получила кредит в размере более 6,5 млрд долларов для открытия собственного завода в Джорджии, запланированного на 2028 год.
Источник: https://www.autoevolution.com





0 комментариев
Добавить комментарий