Porsche запатентовала собственный аксиальный электромотор для гибридов
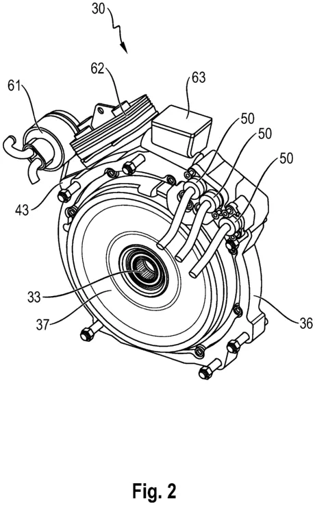
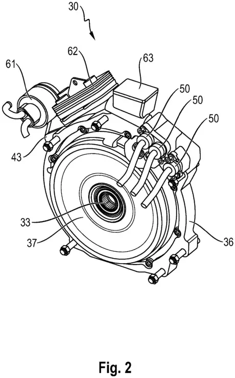
Компания Porsche подала заявку во Всемирную организацию интеллектуальной собственности на разработку гибридной силовой установки с электродвигателем аксиального типа. Документация показывает, что немецкий производитель планирует создать собственную конструкцию такого мотора вместо использования готовых решений от сторонних поставщиков.
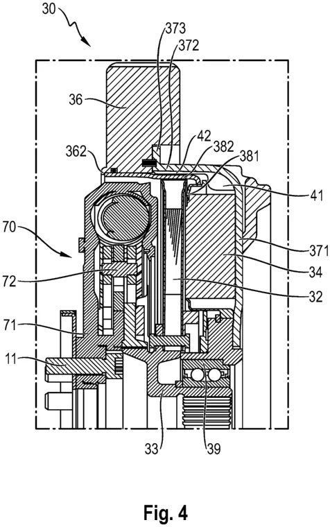
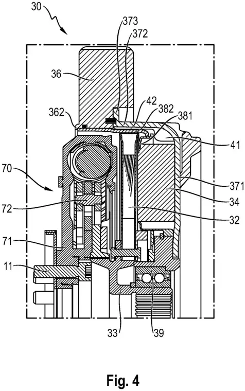
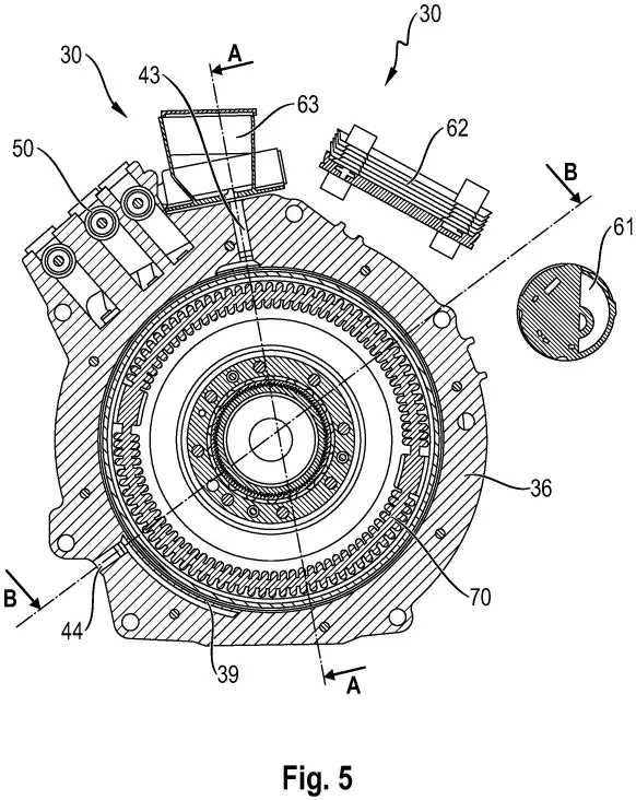
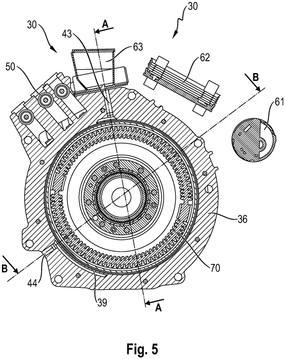
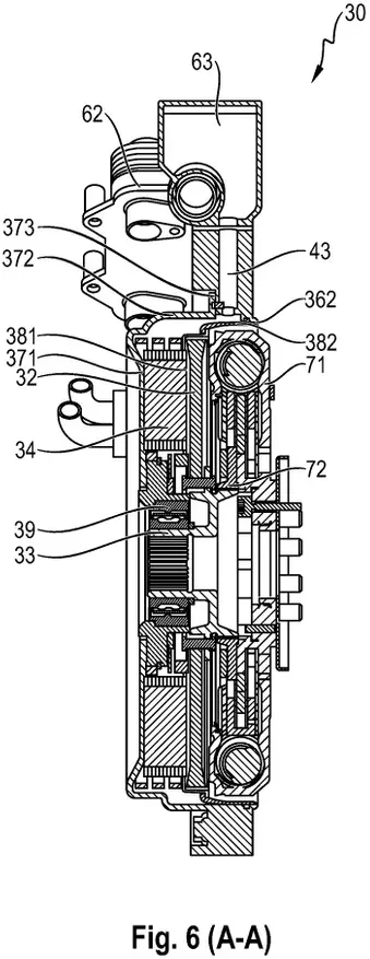
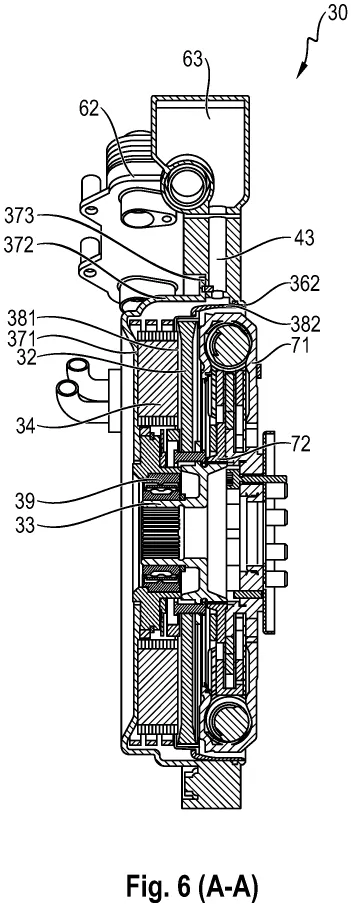
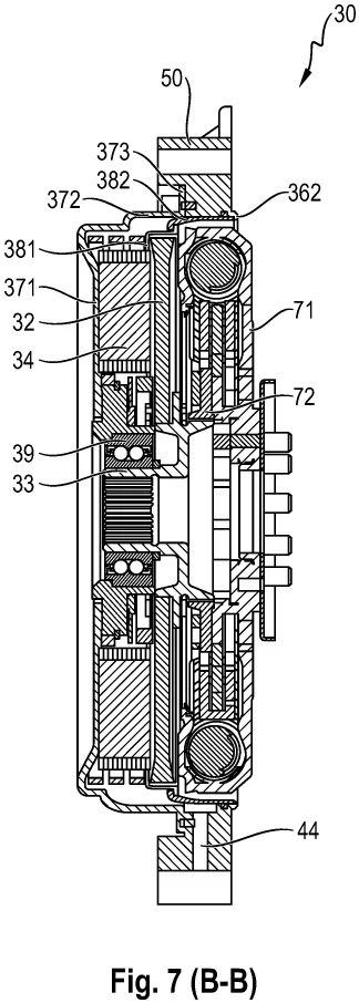
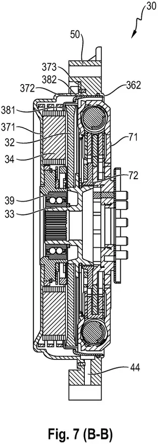
Согласно патентной заявке, электромотор с осевым магнитным потоком разместят в отдельном корпусе между двигателем внутреннего сгорания и трансмиссией. Система спроектирована для работы исключительно с восьмиступенчатой коробкой передач PDK с двойным сцеплением. Конструкция предусматривает модернизированную систему охлаждения для поддержания оптимального температурного режима электрической установки.
В настоящее время гибридные версии Cayenne и Panamera оснащаются электромоторами с радиальным магнитным потоком, интегрированными в корпус коробки передач. Аксиальная конструкция обеспечивает меньшую массу и габариты при сопоставимой или более высокой мощности.






Аналогичную технологию применяют конкуренты: Ferrari устанавливает такие моторы на SF90 и 296 GTB, Lamborghini — на Revuelto и Temerario, McLaren — на Artura и W1. Эти производители используют разработки британской компании YASA, принадлежащей Mercedes-Benz. Передовой мотор YASA выдаёт 1005 лошадиных сил при толщине 7,6 сантиметра и массе 12,7 килограмма.






Инженеры Porsche из Вайсаха выбрали путь самостоятельной разработки аксиального двигателя. Технология потенциально позволит сохранить атмосферные рядные шестицилиндровые моторы в будущих поколениях моделей 911 GT3 и GT3 RS без установки турбонаддува.
Источник: Carscoops





0 комментариев
Добавить комментарий